COOLING FAN SYSTEM Cooling Fan Circuit

DESCRIPTION

The ECM calculates an appropriate cooling fan speed based on the engine coolant temperature, air conditioning switch condition, refrigerant pressure, engine speed, and vehicle speed and sends the signals to the cooling fan ECU to regulate the cooling fans. The cooling fan ECU controls the cooling fan speed based on the duty ratio signal sent from the ECM. By basing its control on the operating conditions, the ECM can control the fan speed optimally using the cooling fan ECU, achieving both high cooling performance and quietness. The cooling fan speed is determined based on engine coolant temperature, air conditioner operating conditions, engine speed, and vehicle speed.

WIRING DIAGRAM

Refer to System Diagram Click here.

INSPECTION PROCEDURE

Note

Inspect the fuses for circuit related to this system before performing the following inspection procedure.

PROCEDURE


  1. PERFORM ACTIVE TEST USING INTELLIGENT TESTER (CONTROL THE ELECTRIC COOLING FAN)


    1. Connect the intelligent tester to the DLC3.

    2. Turn the engine switch on (IG).

    3. Enter the following menus: Powertrain / Engine / Active Test / Control the Electric Cooling Fan.

    4. Check the operation of the cooling fans while operating them using the tester.

      OK
      Tester Operation Specified Condition
      ON Cooling fans operated
      OFF Cooling fans stopped
      Result
      Result Proceed to
      OK A
      NG (Cooling fans do not operate) B
      NG (Cooling fans do not stop) C

    B
    C
    A
  2. INSPECT COOLING FAN MOTOR (COOLING FAN MOTOR AND NO. 2 COOLING FAN MOTOR)


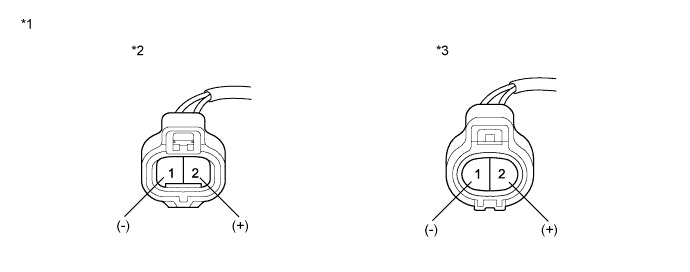
    1. Disconnect the cooling fan motor and No. 2 cooling fan motor connectors.

      A019MUME02
    2. Connect a positive (+) battery lead to each terminal 2 of the cooling fan motor and No. 2 cooling fan motor connectors, and connect a negative (-) battery lead to each terminal 1 of the cooling fan motor and No. 2 cooling fan motor connectors.

      OK
      The cooling fan motor and No. 2 cooling fan motors operate.
      Result
      Result Proceed to
      OK A
      NG (main fan motor) B
      NG (sub fan motor) C
      Text in Illustration
      *1

      Front view of wire harness connector

      (to Cooling Fan ECU)

      *2 Cooling Fan Motor
      *3 No. 2 Cooling Fan Motor - -
    3. Reconnect the cooling fan motor and No. 2 cooling fan motor connectors.


    B
    C
    A
  3. CHECK HARNESS AND CONNECTOR (COOLING FAN ECU POWER SOURCE)


    1. A019LFQE03
      Text in Illustration
      *1

      Front view of wire harness connector

      (to Cooling Fan ECU)

      Disconnect the cooling fan ECU connector.

    2. Turn the engine switch on (IG).

    3. Measure the voltage according to the value(s) in the table below.

      Standard Voltage
      Tester Connection Switch Condition Specified Condition
      A4-3 (+B1) - A4-1 (E1) Engine switch on (IG) 11 to 14 V
    4. Reconnect the cooling fan ECU connector.


    NG
    OK
  4. CHECK HARNESS AND CONNECTOR (ECM - COOLING FAN ECU)


    1. Disconnect the ECM connector.

      A019KV0E04
    2. Disconnect the cooling fan ECU connector.

    3. Measure the resistance according to the value(s) in the table below.

      Standard Resistance (Check for Short)
      Tester Connection Condition Specified Condition
      A43-43 (RFC) or A4-2 (SI) - Body ground Always 10 kΩ or higher
      Text in Illustration
      *1

      Front view of wire harness connector

      (to ECM)

      *2

      Front view of wire harness connector

      (to Cooling Fan ECU)

    4. Reconnect the cooling fan ECU connector.

    5. Reconnect the ECM connector.


    NG
    OK
  5. CHECK HARNESS AND CONNECTOR (COOLING FAN ECU - BODY GROUND)


    1. A019LFQE04
      Text in Illustration
      *1

      Front view of wire harness connector

      (to Cooling Fan ECU)

      Disconnect the cooling fan ECU connector.

    2. Measure the resistance according to the value(s) in the table below.

      Standard Resistance (Check for Open)
      Tester Connection Condition Specified Condition
      A4-1 (E1) - Body ground Always Below 1 Ω
    3. Reconnect the cooling fan ECU connector.


    NG
    OK
  6. INSPECT RELAY (RDI FAN NO. 1 RELAY)


    1. A019NY0

      Remove the RDI FAN No. 1 relay from the engine room relay block.

    2. Measure the resistance according to the value(s) in the table below.

      Standard Resistance
      Tester Connection Condition Specified Condition
      3 - 5 No battery voltage applied between terminals 1 and 2 10 kΩ or higher
      3 - 5 Battery voltage applied between terminals 1 and 2 Below 1 Ω
    3. Reinstall the RDI FAN No. 1 relay.


    NG
    OK
  7. CHECK HARNESS AND CONNECTOR (RDI FAN NO. 1 RELAY POWER SOURCE)


    1. A019N4EE01
      Text in Illustration
      *1 Engine Room Relay Block

      Remove the RDI FAN No. 1 relay from the engine room relay block.

    2. Measure the voltage according to the value(s) in the table below.

      Standard Voltage
      Tester Connection Condition Specified Condition
      3 (RDI FAN No. 1 relay) - Body ground Always 11 to 14 V
    3. Reinstall the RDI FAN No. 1 relay.


    NG
    OK
  8. CHECK HARNESS AND CONNECTOR (COOLING FAN ECU - RDI FAN NO. 1 RELAY)


    1. Remove the RDI FAN No. 1 relay from the engine room relay block.

      A019KX0E02
    2. Disconnect the cooling fan ECU connector.

    3. Measure the resistance according to the value(s) in the table below.

      Standard Resistance (Check for Open)
      Tester Connection Condition Specified Condition
      A4-3 (+B1) - 5 (RDI FAN No. 1 relay) Always Below 1 Ω
      Standard Resistance (Check for Short)
      Tester Connection Condition Specified Condition
      A4-3 (+B1) or 5 (RDI FAN No. 1 relay) - Body ground Always 10 kΩ or higher
      Text in Illustration
      *1

      Front view of wire harness connector

      (to Cooling Fan ECU)

      *2 Engine Room Relay Block
    4. Reconnect the cooling fan ECU connector.

    5. Reinstall the RDI FAN No. 1 relay.


    NG
    OK
  9. CHECK HARNESS AND CONNECTOR (RDI FAN NO. 1 RELAY - BODY GROUND)


    1. A019N4EE01
      Text in Illustration
      *1 Engine Room Relay Block

      Remove the RDI FAN No. 1 relay from the engine room relay block.

    2. Measure the resistance according to the value(s) in the table below.

      Standard Resistance (Check for Open)
      Tester Connection Condition Specified Condition
      2 (RDI FAN No. 1 relay) - Body ground Always Below 1 Ω
    3. Reinstall the RDI FAN No. 1 relay.


    NG
    OK
  10. CHECK HARNESS AND CONNECTOR (ECM - COOLING FAN ECU)


    1. Disconnect the ECM connector.

      A019KV0E05
    2. Disconnect the cooling fan ECU connector.

    3. Measure the resistance according to the value(s) in the table below.

      Standard Resistance (Check for Open)
      Tester Connection Condition Specified Condition
      A43-43 (RFC) - A4-2 (SI) Always Below 1 Ω
      Text in Illustration
      *1

      Front view of wire harness connector

      (to ECM)

      *2

      Front view of wire harness connector

      (to Cooling Fan ECU)

    4. Reconnect the cooling fan ECU connector.

    5. Reconnect the ECM connector.


    NG
    OK