СИСТЕМА КОНДИЦИОНИРОВАНИЯ СИСТЕМА ДИАГНОСТИКИ


  1. ОПИСАНИЕ


    1. Данные и диагностические коды неисправностей (DTC) системы кондиционирования можно считать через разъем шины данных 3 (DLC3) автомобиля. Если предполагается, что система неисправна, проверьте наличие неисправностей с помощью GTS и выполните необходимую диагностику.

  2. ПРОВЕРЬТЕ DLC3


    1. Проверьте DLC3 (см. стр. Click here).

  3. ОПИСАНИЕ МЕТОДОВ ДЕЙСТВИЙ


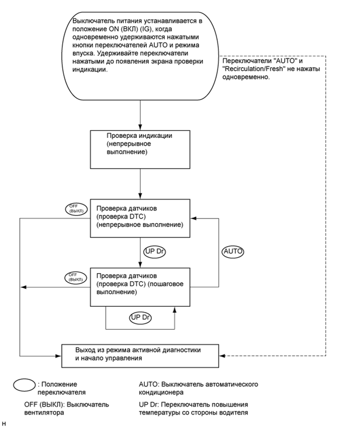
    1. Для входа в режим активной диагностики установите переключатели системы кондиционирования в положения, показанные на приведенной ниже схеме.

      A01FS3WE12
  4. ПРОВЕРКА ИНДИКАЦИИ

    Tech Tips

    Одна и та же система используется в моделях как с левосторонним, так и с правосторонним рулевым управлением.


    1. Выключите питание.

    2. Включите питание, переведя выключатель питания в положение ACC, и подождите не менее 5 с.

    3. A01FVQH

      Включите питание (IG), одновременно удерживая нажатыми переключатели "AUTO" и "Recirculation/Fresh" на панели управления системы кондиционирования. Удерживайте переключатели нажатыми до появления экрана проверки индикации.

    4. A01FU7DE01
      Обозначения на рисунке
      *a Диаграмма мигания контрольных ламп
      *b Вкл
      *c Выкл
      *d 1 с

      При активации диагностики с панели проверка датчиков выполняется автоматически. Убедитесь, что индикаторы 4 раза подряд загораются и гаснут с интервалом 1 с.

      Tech Tips


      • По окончании проверки индикаторов автоматически запускается проверка датчиков.

      • Нажмите на переключатель "OFF", чтобы выйти из режима проверки.

  5. ПРОВЕРКА ДАТЧИКОВ (ПРОВЕРКА DTC)


    1. Включите питание (READY).

    2. Выполните проверку индикации.

      Tech Tips

      После завершения проверки индикаторов система автоматически перейдет в режим проверки DTC.

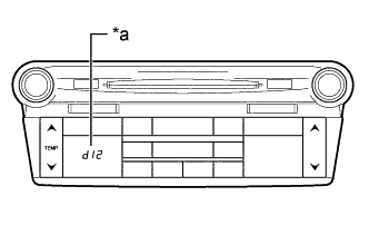
    3. A01FSWLE01
      Обозначения на рисунке
      *a Диагностический код неисправности (DTC)

      Считайте коды DTC, отображаемые на экране вспомогательного индикатора.

      Note

      Поиск неисправностей может быть частично выполнен в режиме проверки датчиков, который автоматически вступает в действие после проверки индикаторов. Обязательно выполните проверку датчиков повторно.

      Tech Tips

      Описание кодов см. в таблице диагностических кодов неисправностей (см. стр. Click here).


      • В отсутствие неисправностей выводится код DTC 00.

      • В качестве примера на рисунке показан экран при выводе кода DTC 12.

    4. A01FQ8B

      Если считывание DTC затруднено вследствие их автоматического изменения, нажмите переключатель "TEMP", чтобы коды отображались поочередно и могли быть считаны легче. При каждом нажатии переключателя "TEMP" со стороны водителя выводится следующий код DTC.

      Tech Tips

      Нажмите на переключатель OFF (ВЫКЛ), чтобы завершить диагностику с панели.

    5. Удалите DTC


      1. A01FVUA

        Во время проверки датчиков одновременно нажмите на переключатели "FRONT DEF" и "REAR DEF".