ТОРМОЗНАЯ СИСТЕМА С ЭЛЕКТРОННЫМ УПРАВЛЕНИЕМ, Diagnostic DTC:C1246/46, C1281/81, C1364/61

Код DTC Наименование DTC
C1246/46 Неисправность датчика давления в главном цилиндре
C1281/81 Недопустимый сигнал на выходе датчика давления в главном цилиндре (DTC режима активной диагностики)
C1364/61 Неисправность датчика давления в рабочем тормозном цилиндре

ОПИСАНИЕ

Датчик давления в главном цилиндре и датчик давления в рабочем тормозном цилиндре, которые смонтированы в блоке управления рабочими цилиндрами тормозов, измеряют давление в главном цилиндре и рабочем тормозном цилиндре и передают эти данные в ЭБУ системы противоскольжения.

При выходе из режима активной диагностики и передаче датчиком давления в главном цилиндре сигнала давления в главном цилиндре DTC C1281/81 удаляется. DTC C1281/81 выводится только в режиме активной диагностики.

Код DTC Код INF Условие обнаружения DTC Неисправный участок
C1246/46 191 Напряжение питания датчика 1 (VCM) составляет не более 4,7 В, либо 5,3 В или выше, по крайней мере, в течение 0,05 с.
  • Блок управления рабочими цилиндрами тормозов в сборе (датчик давления в главном цилиндре)

  • Цепь датчика давления в главном цилиндре

  • Источник питания датчика давления в главном цилиндре

  • Блок управления рабочими цилиндрами тормозов в сборе

  • ЭБУ системы противоскольжения

192 Выходное напряжение датчика давления в главном цилиндре 1 (PMC1) составляло менее 0,25 В, либо 4,53 В или выше, по крайней мере, в течение 0,05 с.
  • Блок управления рабочими цилиндрами тормозов в сборе (датчик давления в главном цилиндре)

  • Цепь датчика давления в главном цилиндре

  • Блок управления рабочими цилиндрами тормозов в сборе

  • ЭБУ системы противоскольжения

194 Напряжение питания датчика 2 (VCM2) составляет не более 4,7 В, либо 5,3 В или выше, по крайней мере, в течение 0,05 с.
  • Блок управления рабочими цилиндрами тормозов в сборе (датчик давления в главном цилиндре)

  • Цепь датчика давления в главном цилиндре

  • Источник питания датчика давления в главном цилиндре

  • Блок управления рабочими цилиндрами тормозов в сборе

  • ЭБУ системы противоскольжения

195 Выходное напряжение датчика давления в главном цилиндре 2 (PMC2) составляло менее 0,25 В, либо 4,53 В или выше, по крайней мере, в течение 0,05 с.
  • Блок управления рабочими цилиндрами тормозов в сборе (датчик давления в главном цилиндре)

  • Цепь датчика давления в главном цилиндре

  • Блок управления рабочими цилиндрами тормозов в сборе

  • ЭБУ системы противоскольжения

197 Ненормальное выходное напряжение датчика давления в главном цилиндре 1 (PMC1).
  • Блок управления рабочими цилиндрами тормозов в сборе

  • ЭБУ системы противоскольжения

198 Ненормальное выходное напряжение датчика давления в главном цилиндре 2 (PMC2).
199 Выходное напряжение датчика давления в главном цилиндре 1 (PMC1) составляло менее 0,33 В, либо 0,85 В или более, когда торможение не осуществлялось.
  • Блок управления рабочими цилиндрами тормозов в сборе (датчик давления в главном цилиндре)

  • Цепь датчика давления в главном цилиндре

  • Блок управления рабочими цилиндрами тормозов в сборе

  • ЭБУ системы противоскольжения

200 Выходное напряжение датчика давления в главном цилиндре 2 (PMC2) составляло менее 0,33 В, либо 0,85 В или более, когда торможение не осуществлялось.
201

При выполнении одного из следующих условий:


  1. Напряжения PMC1 и PMC2 различаются.

  2. Сигнал датчика давления в главном цилиндре непрерывно колеблется на 15 МПа или более в течение 0,054 с в пределах интервала длительностью 0,6 с.

202 Состояние, в котором выходное напряжение датчика давления в правом переднем рабочем тормозном цилиндре (PFR) и датчика давления в левом заднем рабочем тормозном цилиндре (PRL) составляет менее 0,25 В, либо 4,53 В или более, сохраняется в течение не менее 0,05 с.
  • Источник питания датчика давления в главном цилиндре

  • Блок управления рабочими цилиндрами тормозов в сборе

  • ЭБУ системы противоскольжения

205 Состояние, в котором выходное напряжение датчика давления в левом переднем рабочем тормозном цилиндре (PFL) составляет менее 0,25 В, либо 4,53 В или более, а выходное напряжение датчика давления в правом заднем рабочем тормозном цилиндре (PRR) составляет не менее 0,25 В, либо 4,53 В или более, сохраняется в течение не менее 0,05 с.
C1364/61 221 Напряжение питания датчика 1 (VCM) составляет не более 4,7 В, либо 5,3 В или выше, по крайней мере, в течение 0,05 с.
  • Источник питания датчика давления в рабочем тормозном цилиндре

  • Блок управления рабочими цилиндрами тормозов в сборе

  • ЭБУ системы противоскольжения

222 Выходное напряжение датчика давления в правом переднем рабочем тормозном цилиндре (PFR) составляет не более 0,25 В, либо 4,53 В или выше, по крайней мере, в течение 0,05 с.
  • Блок управления рабочими цилиндрами тормозов в сборе (датчик давления в рабочем тормозном цилиндре)

  • Цепь датчика давления в рабочем тормозном цилиндре

  • Блок управления рабочими цилиндрами тормозов в сборе

  • ЭБУ системы противоскольжения

224

При выполнении одного из следующих условий:


  1. Выходное напряжение датчика давления в правом переднем рабочем тормозном цилиндре (PFR) составляет не более 0,33 В, либо 0,85 В или выше, по крайней мере, в течение 3 с, когда торможение не производится.

  2. Выходное напряжение датчика давления в правом переднем рабочем тормозном цилиндре (PFR) составляет не более 0,33 В, по крайней мере, в течение 0,1 с, когда производится торможение.

225 Выходное напряжение датчика давления в правом переднем рабочем тормозном цилиндре (PFR) зафиксировано на уровне 4,53 В или менее.
227 Напряжение питания датчика 2 (VCM2) составляет не более 4,7 В, либо 5,3 В или выше, по крайней мере, в течение 0,05 с.
  • Источник питания датчика давления в рабочем тормозном цилиндре

  • Блок управления рабочими цилиндрами тормозов в сборе

  • ЭБУ системы противоскольжения

228 Выходное напряжение датчика давления в левом переднем рабочем тормозном цилиндре (PFL) составляет не более 0,25 В, либо 4,53 В или выше, по крайней мере, в течение 0,05 с.
  • Блок управления рабочими цилиндрами тормозов в сборе (датчик давления в рабочем тормозном цилиндре)

  • Цепь датчика давления в рабочем тормозном цилиндре

  • Блок управления рабочими цилиндрами тормозов в сборе

  • ЭБУ системы противоскольжения

230

При выполнении одного из следующих условий:


  1. Выходное напряжение датчика давления в левом переднем рабочем тормозном цилиндре (PFL) составляет не более 0,33 В, либо 0,85 В или выше, по крайней мере, в течение 3 с, когда торможение не производится.

  2. Выходное напряжение датчика давления в левом переднем рабочем тормозном цилиндре (PFL) составляет не более 0,33 В, по крайней мере, в течение 0,1 с, когда производится торможение.

231 Выходное напряжение датчика давления в левом переднем рабочем тормозном цилиндре (PFL) зафиксировано на уровне 4,53 В или менее.
233 Напряжение питания датчика 2 (VCM2) составляет не более 4,7 В, либо 5,3 В или выше, по крайней мере, в течение 0,05 с.
  • Источник питания датчика давления в рабочем тормозном цилиндре

  • Блок управления рабочими цилиндрами тормозов в сборе

  • ЭБУ системы противоскольжения

234 Выходное напряжение датчика давления в правом заднем рабочем тормозном цилиндре (PRR) составляет не более 0,25 В, либо 4,53 В или выше, по крайней мере, в течение 0,05 с.
  • Блок управления рабочими цилиндрами тормозов в сборе (датчик давления в рабочем тормозном цилиндре)

  • Цепь датчика давления в рабочем тормозном цилиндре

  • Блок управления рабочими цилиндрами тормозов в сборе

  • ЭБУ системы противоскольжения

236

При выполнении одного из следующих условий:


  1. Выходное напряжение датчика давления в правом заднем рабочем тормозном цилиндре (PRR) составляет не более 0,33 В, либо 0,85 В или выше, по крайней мере, в течение 3 с, когда торможение не производится.

  2. Выходное напряжение датчика давления в правом заднем рабочем тормозном цилиндре (PRR) составляет не более 0,33 В, по крайней мере, в течение 0,1 с, когда производится торможение.

237 Выходное напряжение датчика давления в правом заднем рабочем тормозном цилиндре (PRR) зафиксировано на уровне 4,53 В или менее.
239 Напряжение питания датчика 1 (VCM) составляет не более 4,7 В, либо 5,3 В или выше, по крайней мере, в течение 0,05 с.
  • Источник питания датчика давления в рабочем тормозном цилиндре

  • Блок управления рабочими цилиндрами тормозов в сборе

  • ЭБУ системы противоскольжения

240 Выходное напряжение датчика давления в левом заднем рабочем тормозном цилиндре (PRL) составляет не более 0,25 В, либо 4,53 В или выше, по крайней мере, в течение 0,05 с.
  • Блок управления рабочими цилиндрами тормозов в сборе (датчик давления в рабочем тормозном цилиндре)

  • Цепь датчика давления в рабочем тормозном цилиндре

  • Блок управления рабочими цилиндрами тормозов в сборе

  • ЭБУ системы противоскольжения

242

При выполнении одного из следующих условий:


  1. Выходное напряжение датчика давления в левом заднем рабочем тормозном цилиндре (PRL) составляет не более 0,33 В, либо 0,85 В или выше, по крайней мере, в течение 3 с, когда торможение не производится.

  2. Выходное напряжение датчика давления в левом заднем рабочем тормозном цилиндре (PRL) составляет не более 0,33 В, по крайней мере, в течение 0,1 с, когда производится торможение.

243 Выходное напряжение датчика давления в левом заднем рабочем тормозном цилиндре (PRL) зафиксировано на уровне 4,53 В или менее.
C1281/81 - Регистрируется только в режиме активной диагностики.
  • Выключатель стоп-сигналов в сборе

  • Датчик давления в главном цилиндре

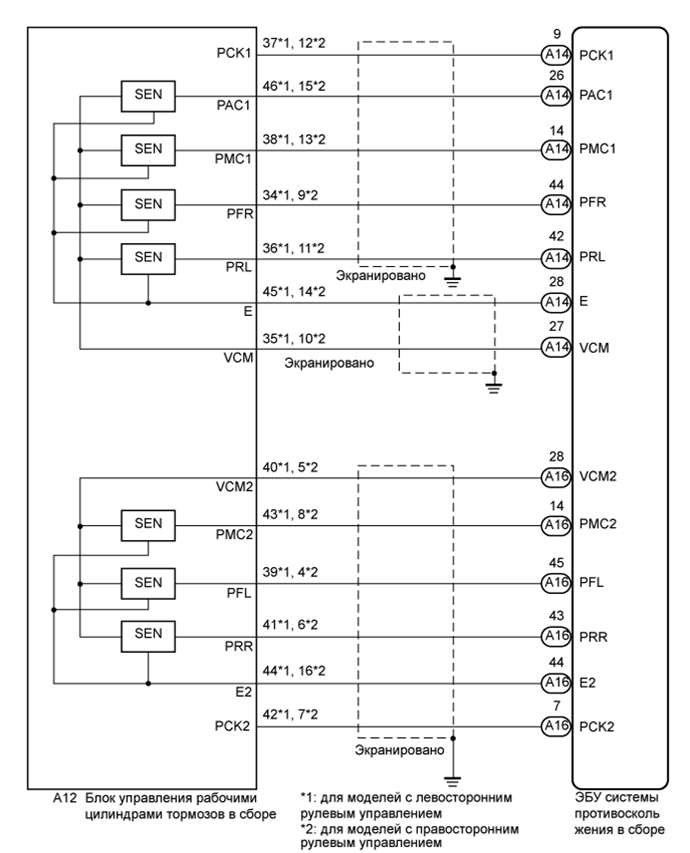
СХЕМА ЭЛЕКТРИЧЕСКИХ СОЕДИНЕНИЙ

A01FV6LE02

ПОСЛЕДОВАТЕЛЬНОСТЬ ПРОВЕРКИ

Note

После замены ЭБУ системы противоскольжения или блока управления рабочими цилиндрами тормозов в сборе выполните инициализацию электронной системы и калибровку электромагнитного клапана с линейной характеристикой (см. стр. Click here).

ПОРЯДОК ВЫПОЛНЕНИЯ


  1. ПРОВЕРЬТЕ ЖГУТ ПРОВОДОВ И РАЗЪЕМ (ЭБУ СИСТЕМЫ ПРОТИВОСКОЛЬЖЕНИЯ – БЛОК УПРАВЛЕНИЯ РАБОЧИМИ ЦИЛИНДРАМИ ТОРМОЗОВ)


    1. Проверьте, не ослаблены ли фиксирующая и соединительная части разъема.

    2. Отсоедините разъемы A14 и A16 ЭБУ системы противоскольжения и разъем A12 блока управления рабочими цилиндрами тормозов.

    3. Измерьте сопротивление в соответствии со значениями, приведенными в таблице ниже.

      Номинальное сопротивление
      Для моделей с левосторонним рулевым управлением
      Подключение диагностического прибора Условие Заданные условия
      A14-27 (VCM) - A12-35 (VCM) Всегда Менее 1 Ом
      A14-27 (VCM) - масса Всегда 10 кОм или более
      A14-26 (PAC1) - A12-46 (PAC1) Всегда Менее 1 Ом
      A14-26 (PAC1) - масса Всегда 10 кОм или более
      A14-14 (PMC1) - A12-38 (PMC1) Всегда Менее 1 Ом
      A14-14 (PMC1) - масса Всегда 10 кОм или более
      A14-44 (PFR) - A12-34 (PFR) Всегда Менее 1 Ом
      A14-44 (PFR) - масса Всегда 10 кОм или более
      A14-42 (PRL) - A12-36 (PRL) Всегда Менее 1 Ом
      A14-42 (PRL) - масса Всегда 10 кОм или более
      A14-28 (E) - A12-45 (E) Всегда Менее 1 Ом
      A14-28 (E) - масса Всегда 10 кОм или более
      A14-9 (PCK1) - A12-37 (PCK1) Всегда Менее 1 Ом
      A14-9 (PCK1) - масса Всегда 10 кОм или более
      A16-28 (VCM2) - A12-40 (VCM2) Всегда Менее 1 Ом
      A16-28 (VCM2) - масса Всегда 10 кОм или более
      A16-14 (PMC2) - A12-43 (PMC2) Всегда Менее 1 Ом
      A16-14 (PMC2) - масса Всегда 10 кОм или более
      A16-45 (PFL) - A12-39 (PFL) Всегда Менее 1 Ом
      A16-45 (PFL) - масса Всегда 10 кОм или более
      A16-43 (PRR) - A12-41 (PRR) Всегда Менее 1 Ом
      A16-43 (PRR) - масса Всегда 10 кОм или более
      A16-44 (E2) - A12-44 (E2) Всегда Менее 1 Ом
      A16-44 (E2) - масса Всегда 10 кОм или более
      A16-7 (PCK2) - A12-42 (PCK2) Всегда Менее 1 Ом
      A16-7 (PCK2) - масса Всегда 10 кОм или более
      Для моделей с правосторонним рулевым управлением
      Подключение диагностического прибора Условие Заданные условия
      A14-27 (VCM) - A12-10 (VCM) Всегда Менее 1 Ом
      A14-27 (VCM) - масса Всегда 10 кОм или более
      A14-26 (PAC1) - A12-15 (PAC1) Всегда Менее 1 Ом
      A14-26 (PAC1) - масса Всегда 10 кОм или более
      A14-14 (PMC1) - A12-13 (PMC1) Всегда Менее 1 Ом
      A14-14 (PMC1) - масса Всегда 10 кОм или более
      A14-44 (PFR) - A12-9 (PFR) Всегда Менее 1 Ом
      A14-44 (PFR) - масса Всегда 10 кОм или более
      A14-42 (PRL) - A12-11 (PRL) Всегда Менее 1 Ом
      A14-42 (PRL) - масса Всегда 10 кОм или более
      A14-28 (E) - A12-14 (E) Всегда Менее 1 Ом
      A14-28 (E) - масса Всегда 10 кОм или более
      A14-9 (PCK1) - A12-12 (PCK1) Всегда Менее 1 Ом
      A14-9 (PCK1) - масса Всегда 10 кОм или более
      A16-28 (VCM2) - A12-5 (VCM2) Всегда Менее 1 Ом
      A16-28 (VCM2) - масса Всегда 10 кОм или более
      A16-14 (PMC2) - A12-8 (PMC2) Всегда Менее 1 Ом
      A16-14 (PMC2) - масса Всегда 10 кОм или более
      A16-45 (PFL) - A12-4 (PFL) Всегда Менее 1 Ом
      A16-45 (PFL) - масса Всегда 10 кОм или более
      A16-43 (PRR) - A12-6 (PRR) Всегда Менее 1 Ом
      A16-43 (PRR) - масса Всегда 10 кОм или более
      A16-44 (E2) - A12-16 (E2) Всегда Менее 1 Ом
      A16-44 (E2) - масса Всегда 10 кОм или более
      A16-7 (PCK2) - A12-7 (PCK2) Всегда Менее 1 Ом
      A16-7 (PCK2) - масса Всегда 10 кОм или более

    NG
    OK
  2. СНИМИТЕ ПОКАЗАНИЯ GTS (ДАТЧИК ДАВЛЕНИЯ В ГЛАВНОМ ЦИЛИНДРЕ)


    1. Подсоедините разъемы ЭБУ системы противоскольжения и разъем блока управления рабочими цилиндрами тормозов.

    2. Подключите GTS к DLC3.

    3. Включите питание (IG).

    4. Выберите режим Data List в GTS (см. стр. Click here).

      ABS / VSC / TRC
      Информация на дисплее прибора Измеряемая величина / диапазон измерения Нормальное состояние Замечание по диагностике
      Master Cylinder Sensor Датчик давления в главном цилиндре 1 / мин.: 0,00 В, макс.: 5,00 В

      При отпущенной педали тормоза:

      0,3–0,7 В

      Показания увеличиваются при нажатии педали тормоза
      Master Cylinder Sensor2 Датчик давления в главном цилиндре 2 / мин.: 0,00 В, макс.: 5,00 В

      При отпущенной педали тормоза:

      0,3–0,7 В

      Показания увеличиваются при нажатии педали тормоза
      ECB* Solenoid (SMC1) Электромагнитный клапан отсечки главного цилиндра (SMC1) / ON (ВКЛ) или OFF (ВЫКЛ)

      ON (ВКЛ): действует

      OFF (ВЫКЛ): не действует

      -
      ECB* Solenoid (SMC2) Электромагнитный клапан отсечки главного цилиндра (SMC2) / ON (ВКЛ) или OFF (ВЫКЛ)

      ON (ВКЛ): действует

      OFF (ВЫКЛ): не действует

      -

      • *: система электронного управления тормозами

    5. Проверьте выходной сигнал датчика давления в главном цилиндре при нажатии педали тормоза.

      OK
      Выходное напряжение пропорционально ходу педали, и сигналы датчиков 1 и 2 не различаются существенно.

      Tech Tips


      • Если коды DTC были сохранены вследствие нажатия педали тормоза, и работа тормозной системы с электронным управлением запрещена, проверьте данные фиксированного набора параметров, зарегистрированные в момент сохранения DTC.

      • Если данные фиксированного набора параметров показывают, что сигналы датчиков давления в главном цилиндре в норме, и нет большого расхождения сигналов датчиков 1 и 2, перейдите к следующему шагу.


    NG
    OK
  3. СНИМИТЕ ПОКАЗАНИЯ GTS (ДАТЧИК ДАВЛЕНИЯ В РАБОЧЕМ ТОРМОЗНОМ ЦИЛИНДРЕ)


    1. Выключите питание.

    2. Установите гидравлический измерительный прибор LSPV и удалите воздух из системы (см. стр. Click here).

      SST
      09709-29018
    3. Включите питание (IG).

    4. Выберите режим Data List в GTS (см. стр. Click here).

      ABS / VSC / TRC
      Информация на дисплее прибора Измеряемая величина / диапазон измерения Нормальное состояние Замечание по диагностике
      FR W/C Sensor Сигнал датчика давления в правом переднем рабочем тормозном цилиндре / мин.: 0,00 В, макс.: 5,00 В

      При отпущенной педали тормоза:

      0,3–0,7 В

      Показания увеличиваются при нажатии педали тормоза
      FL W/C Sensor Сигнал датчика давления в левом переднем рабочем тормозном цилиндре / мин.: 0,00 В, макс.: 5,00 В

      При отпущенной педали тормоза:

      0,3–0,7 В

      Показания увеличиваются при нажатии педали тормоза
      RR W/C Sensor Сигнал датчика давления в правом заднем рабочем тормозном цилиндре / мин.: 0,00 В, макс.: 5,00 В

      При отпущенной педали тормоза:

      0,3–0,7 В

      Показания увеличиваются при нажатии педали тормоза
      RL W/C Sensor Сигнал датчика давления в левом заднем рабочем тормозном цилиндре / мин.: 0,00 В, макс.: 5,00 В

      При отпущенной педали тормоза:

      0,3–0,7 В

      Показания увеличиваются при нажатии педали тормоза
    5. Проверьте выходные сигналы датчика давления в рабочем тормозном цилиндре для каждого значения давления жидкости во время работы тормозной системы с электронным управлением.

      Номинальное напряжение
      Датчик давления в переднем рабочем тормозном цилиндре: для моделей с передними тормозными дисками 17 дюймов (не в спортивной комплектации)

      Гидравлическое давление

      МПа (кгс/см2, фунтов на кв. дюйм)

      FR W/C Sensor

      (экран Data List)

      FL W/C Sensor

      (экран Data List)

      3.84 (39.2, 557) 1,08 - 1,48 В 1,08 - 1,48 В
      5.29 (53.9, 767) 1,38 - 1,78 В 1,38 - 1,78 В
      Датчик давления в переднем рабочем тормозном цилиндре: для моделей с передними тормозными дисками 17 дюймов (в спортивной комплектации)

      Гидравлическое давление

      МПа (кгс/см2, фунтов на кв. дюйм)

      FR W/C Sensor

      (экран Data List)

      FL W/C Sensor

      (экран Data List)

      3.19 (32.5, 463) 0,95 - 1,35 В 0,95 - 1,35 В
      4.85 (49.5, 703) 1,29 - 1,69 В 1,29 - 1,69 В
      Датчик давления в переднем рабочем тормозном цилиндре: Для моделей с передними тормозными дисками 18 дюймов

      Гидравлическое давление

      МПа (кгс/см2, фунтов на кв. дюйм)

      FR W/C Sensor

      (экран Data List)

      FL W/C Sensor

      (экран Data List)

      3.25 (33.1, 471) 0,96 - 1,36 В 0,96 - 1,36 В
      4.85 (49.5, 703) 1,29 - 1,69 В 1,29 - 1,69 В
      Датчик давления в заднем рабочем тормозном цилиндре: для моделей с передними тормозными дисками 17 дюймов (не в спортивной комплектации)

      Гидравлическое давление

      МПа (кгс/см2, фунтов на кв. дюйм)

      RR W/C Sensor

      (экран Data List)

      RL W/C Sensor

      (экран Data List)

      3.84 (39.2, 557) 1,08 - 1,48 В 1,08 - 1,48 В
      5.29 (53.9, 767) 1,38 - 1,78 В 1,38 - 1,78 В
      Датчик давления в заднем рабочем тормозном цилиндре: для моделей с передними тормозными дисками 17 дюймов (в спортивной комплектации)

      Гидравлическое давление

      МПа (кгс/см2, фунтов на кв. дюйм)

      RR W/C Sensor

      (экран Data List)

      RL W/C Sensor

      (экран Data List)

      3.19 (32.5, 463) 0,95 - 1,35 В 0,95 - 1,35 В
      4.85 (49.5, 703) 1,29 - 1,69 В 1,29 - 1,69 В
      Датчик давления в заднем рабочем тормозном цилиндре: Для моделей с передними тормозными дисками 18 дюймов

      Гидравлическое давление

      МПа (кгс/см2, фунтов на кв. дюйм)

      RR W/C Sensor

      (экран Data List)

      RL W/C Sensor

      (экран Data List)

      3.25 (33.1, 471) 0,96 - 1,36 В 0,96 - 1,36 В
      4.85 (49.5, 703) 1,29 - 1,69 В 1,29 - 1,69 В

      Tech Tips


      • Если коды DTC были сохранены вследствие нажатия педали тормоза, и работа тормозной системы с электронным управлением запрещена, проверьте данные фиксированного набора параметров, зарегистрированные в момент сохранения DTC.

      • Если данные фиксированного набора параметров показывают, что сигналы датчиков давления в главном цилиндре в норме, и нет большого расхождения сигналов датчиков 1 и 2, перейдите к следующему шагу.


    NG
    OK
  4. СНОВА ПРОВЕРЬТЕ DTC


    1. Выключите питание.

    2. Сбросьте коды DTC (см. стр. Click here).

    3. Проведите дорожные испытания.

    4. Проверьте, регистрируется ли тот же DTC (см. стр. Click here).

      Результат
      Результат Перейти к
      Выводятся коды DTC (C1246/46 и/или C1364/61) А
      Коды DTC C1246/46 и C1364/61 не выводятся B

    B
    А
  5. ПРОВЕРЬТЕ ДАННЫЕ ФИКСИРОВАННОГО НАБОРА ПАРАМЕТРОВ


    1. Проверьте код INF в данных фиксированного набора параметров, сохраненных при регистрации кодов DTC (C1246/46 и/или C1364/61) (см. стр. Click here).

      Результат
      Результат Перейти к
      Выводится код INF (неисправность в цепи питания датчика) А
      Выводится код INF (сбой выходного сигнала датчика) B

    B
    А