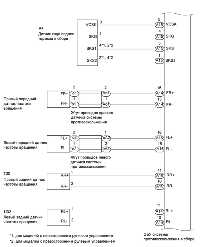
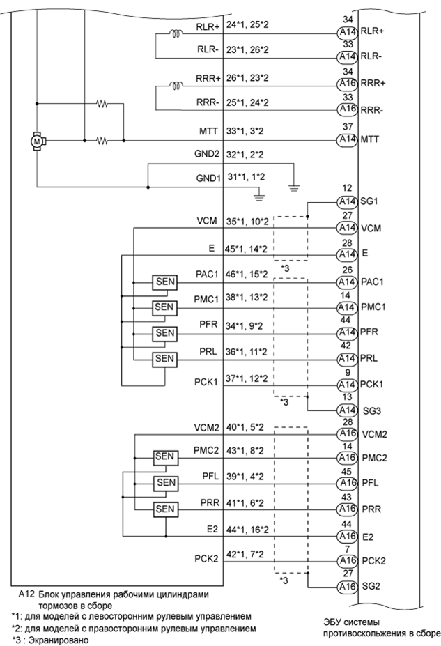
ТОРМОЗНАЯ СИСТЕМА С ЭЛЕКТРОННЫМ УПРАВЛЕНИЕМ СХЕМА СИСТЕМЫ

A01FROZE01
A01FR0UE05
A01FTM7E04
A01FSIKE02
A01FTESE02
A01FS84E01
Передающий ЭБУ (передатчик) Принимающий ЭБУ Сигнал Метод передачи данных
Главный ЭБУ кузова (бортовой ЭБУ сети мультиплексной связи) ЭБУ системы противоскольжения
  • Сигнал выключателя освещения проема капота

  • Сигнал выключателя освещения проема двери багажного отделения

  • Сигнал выключателя пряжки ремня безопасности водителя

Система передачи данных CAN
ЭБУ системы противоскольжения ЭБУ распределения питания
  • Сигнал частоты вращения колеса

  • Сигнал данных VSC

Система передачи данных CAN
ЭБУ распределения питания ЭБУ системы противоскольжения
  • Сигнал положения рычага переключения передач

  • Сигнал положения дроссельной заслонки

  • Сигнал частоты вращения коленчатого вала двигателя

  • Сигнал температуры воздуха на впуске

  • Сигнал запроса крутящего момента

  • Сигнал положения педали акселератора

  • Сигнал холостого хода педали акселератора

  • Сигнал угла поворота педали акселератора

  • Сигнал мощности привода

Система передачи данных CAN
ЭБУ системы противоскольжения Датчик положения рулевого колеса Сигнал запроса для датчика угла поворота рулевого колеса Система передачи данных CAN
Датчик положения рулевого колеса ЭБУ системы противоскольжения Сигнал датчика угла поворота рулевого колеса Система передачи данных CAN
ЭБУ системы противоскольжения Датчик рысканья Сигнал запроса об ускорении и рыскании Система передачи данных CAN
Датчик рысканья ЭБУ системы противоскольжения Сигнал замедления и рысканья Система передачи данных CAN
ЭБУ системы противоскольжения Щиток приборов в сборе
  • Сигнал контрольной лампы ABS

  • Сигнал контрольной лампы состояния тормозной системы / красной (неисправность)

  • Сигнал желтой контрольной лампы состояния тормозной системы (незначительная неисправность)

  • Сигнал контрольной лампы VSC OFF

  • Сигнал контрольной лампы SLIP

  • Сигнал контрольной лампы TRC OFF

  • Сигнал мультиинформационного дисплея

  • Сигнал контрольной лампы режима ожидания удержания тормозной системы

  • Сигнал контрольной лампы включения удержания тормозной системы

Система передачи данных CAN
ЭБУ системы противоскольжения ЭБУ стояночного тормоза в сборе
  • Скорость движения автомобиля

  • Состояние функции поддержания тормозного усилия

  • Запрос блокировки стояночного тормоза с электроприводом

Система передачи данных CAN
ЭБУ стояночного тормоза в сборе ЭБУ системы противоскольжения
  • Состояние разрешения управления стояночным тормозом с электроприводом

  • Состояние блокировки стояночного тормоза с электроприводом

Система передачи данных CAN
ЭБУ системы противоскольжения ЭБУ рулевого управления с усилителем
  • Сигнал требуемого угла поворота рулевого колеса

  • Сигнал требуемого относительного угла

Система передачи данных CAN
ЭБУ рулевого управления с усилителем ЭБУ системы противоскольжения Сигнал разрешения координации управления рулевого управления с электроусилителем Система передачи данных CAN