ЧАШКА ЗАДНЕГО ДИФФЕРЕНЦИАЛА В СБОРЕ ПОВТОРНАЯ СБОРКА


  1. УСТАНОВИТЕ КОРОННУЮ ШЕСТЕРНЮ ДИФФЕРЕНЦИАЛА


    1. Очистите контактные поверхности корпуса заднего дифференциала в сборе и коронной шестерни дифференциала.

    2. Очистите отверстие установочного болта коронной шестерни.

    3. Разогрейте коронную шестерню дифференциала в кипящей воде примерно до 100°C (212°F).

    4. Осторожно извлеките коронную шестерню дифференциала из кипящей воды.

      CAUTION:

      Так как коронная шестерня дифференциала сильно разогревается, надевайте плотные перчатки для защиты рук.

    5. Зажмите корпус заднего дифференциала в сборе в тисках между алюминиевыми пластинами.

      Note

      Не затягивайте тиски слишком сильно.

    6. A01FQ1XE08
      Обозначения на рисунке
      *1 Резьбовой герметик
      *a Метка

      Сразу после полного высыхания поверхности коронной шестерни дифференциала быстро установите коронную шестерню дифференциала на корпус заднего дифференциала.

    7. Совместите метки на коронной шестерне дифференциала и корпусе заднего дифференциала в сборе.

    8. После достаточного остывания коронной шестерни дифференциала вверните 10 новых установочных болтов коронной шестерни с нанесенным на резьбу герметиком-фиксатором.

      Фиксатор
      Фирменный герметик Toyota 1360K, Three Bond 1360K или аналогичный

      Note


      • При каждой установке коронной шестерни следует использовать новые установочные болты коронной шестерни дифференциала.

      • Не допускайте попадания масла на установочные болты коронной шестерни во время установки.

    9. A01FTK7

      Равномерно и постепенно затяните 10 установочных болтов коронной шестерни.

      Torque:
      64 Н*м  { 650 кгс*см, 47 фунт-сила-футов }

      Note

      Затягивайте установочные болты коронной шестерни парами крест-накрест.

    10. A01FUU4E02
      Обозначения на рисунке
      *a 60° - 90°

      Подтяните 10 установочных болтов коронной шестерни на 60-90°.

      Note

      Затягивайте установочные болты коронной шестерни парами крест-накрест.

  2. УСТАНОВИТЕ ПОДШИПНИК КОРПУСА ЗАДНЕГО ДИФФЕРЕНЦИАЛА


    1. С помощью SST и пресса установите левое и правое внутренние кольца подшипников корпуса заднего дифференциала на корпус заднего дифференциала в сборе.

      SST
      09950-60010   ( 09951-00560, 09951-00570 )
      09950-70010   ( 09951-07100 )
      A01FUQYE05
      Обозначения на рисунке
      *a Левая сторона *b Правая сторона

      Note


      • Не наносите на новый подшипник гипоидное трансмиссионное масло.

      • Действуйте осторожно, чтобы не деформировать корпус подшипника. Установите SST в центре корпуса заднего дифференциала в сборе.

      • Если требуется заменить подшипник, заменяйте его в комплекте с наружным кольцом.

  3. УСТАНОВИТЕ ЗАДНИЙ КОНИЧЕСКИЙ РОЛИКОВЫЙ ПОДШИПНИК ЗАДНЕЙ ВЕДУЩЕЙ ШЕСТЕРНИ


    1. A01FU9YE01

      С помощью SST и пресса запрессуйте внутреннее кольцо заднего конического роликового подшипника задней ведущей шестерни в ведущую шестерню дифференциала.

      SST
      09316-60011   ( 09316-00031 )
      09612-24014   ( 09613-22011 )
    2. A01FQULE01
      Обозначения на рисунке
      *1 Задний конический роликовый подшипник задней ведущей шестерни (наружное кольцо)
      *2 Плоская шайба ведущей шестерни заднего дифференциала

      С помощью SST и пресса запрессуйте новую плоскую шайбу ведущей шестерни заднего дифференциала и наружное кольцо заднего конического роликового подшипника задней ведущей шестерни.

      SST
      09255-10012
      09950-70010   ( 09951-07200 )

      Tech Tips

      Выберите плоскую шайбу ведущей шестерни заднего дифференциала такой же толщины, что и снятая.

  4. УСТАНОВИТЕ ПЕРЕДНИЙ КОНИЧЕСКИЙ РОЛИКОВЫЙ ПОДШИПНИК ЗАДНЕЙ ВЕДУЩЕЙ ШЕСТЕРНИ


    1. A01FTA0E01

      С помощью SST и пресса запрессуйте наружное кольцо переднего конического роликового подшипника задней ведущей шестерни.

      SST
      09950-60020   ( 09951-00710 )
      09950-70010   ( 09951-07100 )
    2. A01FTG2

      Установите внутреннее кольцо переднего конического роликового подшипника задней ведущей шестерни на чашку заднего дифференциала.

  5. УСТАНОВИТЕ ПРОТИВОПЫЛЕВОЙ КОЛПАК ЗАДНЕГО ДИФФЕРЕНЦИАЛА

    Tech Tips

    Рассмотренные действия следует выполнять только в случае замены противопылевого колпака заднего дифференциала.


    1. A01FVBUE03

      Используя SST и пресс, вставьте новый противопылевой колпак заднего дифференциала в соединительный фланец задней ведущей шестерни.

      SST
      09316-60011   ( 09316-00011 )

      Note


      • Вдавливайте противопылевой колпак заднего дифференциала медленно. Не запрессовывайте чрезмерно.

      • Если после запрессовки противопылевого колпака заднего дифференциала остались заусенцы, удалите их.

  6. УСТАНОВИТЕ ВЕДУЩУЮ ШЕСТЕРНЮ ДИФФЕРЕНЦИАЛА


    1. A01FVD4E04

      С помощью SST и пресса запрессуйте ведущую шестерню дифференциала.

      SST
      09316-60011   ( 09316-00011, 09316-00041 )
      09608-04031

      Tech Tips

      После регулировки пятна контакта зубьев установите распорную втулку подшипника ведущей шестерни заднего дифференциала и сальник чашки заднего дифференциала.

  7. УСТАНОВИТЕ МАСЛООТРАЖАТЕЛЬ ВЕДУЩЕЙ ШЕСТЕРНИ ЗАДНЕГО ДИФФЕРЕНЦИАЛА


    1. A01FTFS

      Установите маслоотражатель ведущей шестерни заднего дифференциала.

  8. ОТРЕГУЛИРУЙТЕ ПРЕДНАТЯГ ВЕДУЩЕЙ ШЕСТЕРНИ ДИФФЕРЕНЦИАЛА


    1. A01FTCCE03
      Обозначения на рисунке
      *a Поверните
      *b Удерживайте

      С помощью SST установите соединительный фланец задней ведущей шестерни.

      SST
      09950-30012   ( 09951-03010, 09953-03010, 09954-03010, 09955-03040, 09956-03060 )

      Note


      • Устанавливайте соединительный фланец задней ведущей шестерни таким образом, чтобы оставался небольшой люфт ведущей шестерни дифференциала, поскольку распорная втулка подшипника ведущей шестерни заднего дифференциала еще не установлена.

      • Перед использованием нанесите консистентную смазку на резьбу центрального болта SST.

    2. Смажьте резьбу гайки задней ведущей шестерни гипоидным маслом LSD (для дифференциалов повышенного трения).

    3. A01FVIXE03
      Обозначения на рисунке
      *a Поверните
      *b Удерживайте

      Удерживая соединительный фланец задней ведущей шестерни с помощью SST и динамометрического ключа, затяните гайку задней ведущей шестерни.

      SST
      09229-55010
      09330-00021
      09950-30012   ( 09955-03040 )

      Note


      • Затяните гайку задней ведущей шестерни примерно до 100 Н*м (1020 кгс*см, 74 фунт-сила-футов), а затем подтяните еще, контролируя преднатяг.

      • Нанесите гипоидное масло LSD на гайку задней ведущей шестерни и резьбу ведущей шестерни дифференциала.

      • Так как распорная втулка подшипника ведущей шестерни заднего дифференциала отсутствует, затягивайте гайку задней ведущей шестерни понемногу. Не затягивайте чрезмерно.

    4. Несколько раз поверните подшипник по часовой стрелке и против часовой стрелки, чтобы стабилизировать его.

    5. A01FV2CE01

      С помощью SST и динамометрического ключа измерьте преднатяг.

      SST
      09229-55010
      Преднатяг ведущей шестерни дифференциала (начальный)
      Тип A
      Параметр / Устройство Номинальное значение
      Новый конический роликовый подшипник задней ведущей шестерни 1,15 - 1,55 Н*м (11,73 - 15,81 кгс*см, 10,18 - 13,72 фунт-сила-дюйма)
      Бывший в употреблении конический роликовый подшипник задней ведущей шестерни 1,15 - 1,55 Н*м (11,73 - 15,81 кгс*см, 10,18 - 13,72 фунт-сила-дюйма)
      Тип B
      Параметр / Устройство Номинальное значение
      Новый конический роликовый подшипник задней ведущей шестерни 1,34 - 1,91 Н*м (13,66 - 19,48 кгс*см, 11,86 - 16,90 фунт-сила-дюйма)
      Бывший в употреблении конический роликовый подшипник задней ведущей шестерни 0,40 - 0,70 Н*м (4,08 - 7,14 кгс*см, 3,54 - 6,20 фунт-сила-дюйма)

      Note

      Запишите измеренный суммарный преднатяг.

      Если величина преднатяга не попадает в заданный диапазон, отрегулируйте преднатяг задней ведущей шестерни дифференциала или выполните необходимый ремонт.

  9. УСТАНОВИТЕ КОРПУС ЗАДНЕГО ДИФФЕРЕНЦИАЛА В СБОРЕ


    1. A01FSLS

      Вставьте корпус заднего дифференциала в сборе со стороны зубьев коронной шестерни дифференциала, как показано на рисунке, чтобы установить корпус заднего дифференциала в сборе.

      Note

      Действуйте осторожно, чтобы не повредить подшипник корпуса заднего дифференциала или коронную шестерню дифференциала.

  10. УСТАНОВИТЕ ПОДШИПНИК КОРПУСА ЗАДНЕГО ДИФФЕРЕНЦИАЛА


    1. A01FTQME04
      Обозначения на рисунке
      *a Канавка

      С помощью SST и молотка установите наружное кольцо подшипника правой полуоси дифференциала со стороны зубьев коронной шестерни дифференциала.

      SST
      09608-32010
      09950-70010   ( 09951-07200 )

      Tech Tips

      Вбейте наружное кольцо правого подшипника корпуса заднего дифференциала так, чтобы оставалась видимой половина канавки для пружинного стопорного кольца вала полуосевой шестерни в чашке заднего дифференциала.

    2. A01FTTDE05
      Обозначения на рисунке
      *1 Диск

      Закрепите SST на чашке заднего дифференциала с помощью 2 болтов (A).

      SST
      09571-50010
    3. Затяните болт (B) SST таким образом, чтобы диск SST слегка касался наружного кольца правого подшипника корпуса заднего дифференциала.

    4. A01FS37E01

      С помощью SST и молотка установите наружное кольцо левого подшипника корпуса заднего дифференциала с тыльной стороны коронной шестерни дифференциала.

      SST
      09608-32010
      09950-70010   ( 09951-07200 )

      Tech Tips

      Вбивайте наружное кольцо левого подшипника корпуса заднего дифференциала до тех пор, пока оно не коснется ролика внутреннего кольца подшипника корпуса заднего дифференциала.

  11. УСТАНОВИТЕ ПРУЖИННОЕ СТОПОРНОЕ КОЛЬЦО ВАЛА ПОЛУОСЕВОЙ ШЕСТЕРНИ ЗАДНЕГО ДИФФЕРЕНЦИАЛА


    1. A01FS1JE01

      Используя SST, установите самое тонкое пружинное стопорное кольцо вала полуосевой шестерни заднего дифференциала с тыльной стороны коронной шестерни дифференциала.

      SST
      09905-00031

      Tech Tips


      • Если комплект шестерен главной передачи (ведущая и коронная шестерни дифференциала) и подшипник корпуса заднего дифференциала являются новыми, подберите и установите более тонкое пружинное стопорное кольцо вала полуосевой шестерни заднего дифференциала.

      • Если комплект шестерен главной передачи (ведущая и коронная шестерни дифференциала) и подшипник корпуса заднего дифференциала используются повторно, установите пружинное стопорное кольцо вала полуосевой шестерни заднего дифференциала с такой же толщиной, какую имела снятая шайба.

    2. A01FQ6XE01

      Установите индикатор часового типа на чашку заднего дифференциала.

      Tech Tips

      Установите индикатор часового типа, как показано на рисунке.

    3. Затяните болт SST так, чтобы форма чашки заднего дифференциала изменилась примерно на 0,1 мм (0,00394 дюйма).

      SST
      09571-50010

      Note

      Снимите показания индикатора часового типа и убедитесь, что форма чашки заднего дифференциала не изменилась более чем на 0,2 мм (0,00787 дюйма).

      Tech Tips

      Затяните болт SST, чтобы создать преднатяг подшипника корпуса заднего дифференциала.

    4. Несколько раз поверните коронную шестерню дифференциала по часовой стрелке и против часовой стрелки.

    5. A01FTP0

      С помощью индикатора часового типа в 3 местах измерьте боковой зазор коронной шестерни дифференциала.

      Боковой зазор
      0,08 - 0,13 мм (0,00315 - 0,00511 дюйма)

      Note

      Разница между максимальным и минимальным значениями не должна превышать 0,05 мм (0,00197 дюйма).

      Tech Tips


      • Запишите измеренное значение зазора, чтобы на его основе выбрать пружинное стопорное кольцо вала полуосевой шестерни заднего дифференциала.

      • Если боковой зазор не соответствует требованиям, согласно приведенным ниже указаниям замените пружинное стопорное кольцо вала полуосевой шестерни дифференциала со стороны зубьев коронной шестерни пружинным стопорным кольцом вала полуосевой шестерни заднего дифференциала другой толщины.

      • Проверьте пятно контакта зубьев шестерни, чтобы использовать результат при выборе пружинного стопорного кольца вала полуосевой шестерни заднего дифференциала.

    6. Ослабьте болт SST таким образом, чтобы диск SST отделился от наружного кольца правого подшипника корпуса заднего дифференциала.

      Note

      Не снимайте SST.

    7. A01FQAJE01

      Используя SST и молоток, создайте зазор между пружинным стопорным кольцом вала полуосевой шестерни заднего дифференциала с тыльной стороны коронной шестерни дифференциала и наружным кольцом левого подшипника корпуса заднего дифференциала.

      SST
      09608-32010
      09950-70010   ( 09951-07200 )
    8. A01FS1JE01

      С помощью SST снимите пружинное стопорное кольцо вала полуосевой шестерни заднего дифференциала с тыльной стороны коронной шестерни дифференциала.

      SST
      09905-00031
    9. A01FS1JE01

      Используя SST, установите пружинное стопорное кольцо вала полуосевой шестерни заднего дифференциала другой толщины.

      SST
      09905-00031

      Tech Tips

      При изменении толщины пружинного стопорного кольца вала полуосевой шестерни заднего дифференциала на 0,02 мм (0,000787 дюйма) зазор также изменяется на 0,02 мм (0,000787 дюйма).

      Стандартные пружинные стопорные кольца
      Толщина Толщина Толщина
      3,66 мм (0,14409 дюйма) 3,92 мм (0,15433 дюйма) 4,18 мм (0,16457 дюйма)
      3,68 мм (0,14488 дюйма) 3,94 мм (0,15512 дюйма) 4,20 мм (0,16535 дюйма)
      3,70 мм (0,14567 дюйма) 3,96 мм (0,15591 дюйма) 4,22 мм (0,16614 дюйма)
      3,72 мм (0,14646 дюйма) 3,98 мм (0,15669 дюйма) 4,24 мм (0,16693 дюйма)
      3,74 мм (0,14724 дюйма) 4,00 мм (0,15748 дюйма) 4,26 мм (0,16772 дюйма)
      3,76 мм (0,14803 дюйма) 4,02 мм (0,15827 дюйма) 4,28 мм (0,16850 дюйма)
      3,78 мм (0,14882 дюйма) 4,04 мм (0,15905 дюйма) 4,30 мм (0,16929 дюйма)
      3,80 мм (0,14961 дюйма) 4,06 мм (0,15984 дюйма) 4,32 мм (0,17008 дюйма)
      3,82 мм (0,15039 дюйма) 4,08 мм (0,16063 дюйма) 4,34 мм (0,17087 дюйма)
      3,84 мм (0,15118 дюйма) 4,10 мм (0,16142 дюйма) 4,36 мм (0,17165 дюйма)
      3,86 мм (0,15197 дюйма) 4,12 мм (0,16220 дюйма) 4,38 мм (0,17244 дюйма)
      3,88 мм (0,15276 дюйма) 4,14 мм (0,16299 дюйма) 4,40 мм (0,17323 дюйма)
      3,90 мм (0,15354 дюйма) 4,16 мм (0,16378 дюйма) 4,42 мм (0,17402 дюйма)
    10. A01FQP5

      Слегка постучите молотком с пластмассовым покрытием по стороне зубьев коронной шестерни чашки заднего дифференциала.

    11. A01FQ6XE01

      Установите индикатор часового типа на чашку заднего дифференциала.

      Tech Tips

      Установите индикатор часового типа, как показано на рисунке.

    12. Затяните болт SST так, чтобы форма чашки заднего дифференциала изменилась примерно на 0,1 мм (0,00394 дюйма).

      SST
      09571-50010

      Note

      Снимите показания индикатора часового типа и убедитесь, что форма чашки заднего дифференциала не изменилась более чем на 0,2 мм (0,00787 дюйма).

    13. A01FTP0

      С помощью индикатора часового типа в 3 местах измерьте боковой зазор коронной шестерни дифференциала.

      Боковой зазор
      0,08 - 0,13 мм (0,00315 - 0,00511 дюйма)

      Если боковой зазор не попадает в заданный диапазон, замените пружинное стопорное кольцо вала полуосевой шестерни заднего дифференциала с тыльной стороны коронной шестерни новым кольцом другой толщины.

      Tech Tips


      • Запишите измеренное значение зазора, чтобы на его основе выбрать пружинное стопорное кольцо вала полуосевой шестерни заднего дифференциала.

      • Проверьте пятно контакта зубьев шестерни, чтобы использовать результат при выборе пружинного стопорного кольца вала полуосевой шестерни заднего дифференциала.

  12. ОТРЕГУЛИРУЙТЕ ПРЕДНАТЯГ ПОДШИПНИКА КОРПУСА ЗАДНЕГО ДИФФЕРЕНЦИАЛА


    1. A01FQ6XE01

      Установите индикатор часового типа на чашку заднего дифференциала.

      Tech Tips

      Установите индикатор часового типа, как показано на рисунке.

    2. Затяните болт SST так, чтобы форма чашки заднего дифференциала изменилась примерно на 0,1 мм (0,00394 дюйма).

      SST
      09571-50010

      Note

      Снимите показания индикатора часового типа и убедитесь, что форма чашки заднего дифференциала не изменилась более чем на 0,2 мм (0,00787 дюйма).

    3. A01FT3ZE01

      С помощью SST установите самое тонкое пружинное стопорное кольцо вала полуосевой шестерни заднего дифференциала со стороны зубьев коронной шестерни дифференциала.

      SST
      09905-00031
    4. A01FTTDE06
      Обозначения на рисунке
      *1 Диск

      Снимите индикатор часового типа и ослабьте болт так, чтобы диск SST отделился от наружного кольца правого подшипника корпуса дифференциала со стороны зубьев коронной шестерни дифференциала.

    5. A01FQP5

      Слегка постучите молотком с пластмассовым покрытием по стороне зубьев коронной шестерни дифференциала для усадки подшипника корпуса заднего дифференциала.

    6. A01FTP0

      С помощью индикатора часового типа в 3 местах измерьте боковой зазор коронной шестерни дифференциала. Если хотя бы в одном месте боковой зазор ниже заданной величины, отрегулируйте боковой зазор коронной шестерни заднего дифференциала, заменив пружинное стопорное кольцо вала полуосевой шестерни дифференциала со стороны зубьев коронной шестерни более толстым.

      Боковой зазор
      0,08 - 0,13 мм (0,00315 - 0,00511 дюйма)

      Tech Tips

      Если величина зазора не попадает в заданный диапазон, установите пружинное стопорное кольцо другой толщины согласно следующей процедуре.

    7. A01FTTDE02

      Выверните 2 болта и снимите SST.

  13. ОТРЕГУЛИРУЙТЕ СУММАРНЫЙ ПРЕДНАТЯГ


    1. A01FV2CE01

      С помощью SST и динамометрического ключа измерьте преднатяг в положении касания зубьев ведущей и коронной шестерен дифференциала.

      SST
      09229-55010
      Суммарный преднатяг (начальный)
      Тип A
      Параметр / Устройство Номинальное значение
      Новый конический роликовый подшипник задней ведущей шестерни 1,74 - 3,22 Н*м (17,74 - 32,83 кгс*см, 15,40 - 28,50 фунт-сила-дюйма)
      Бывший в употреблении конический роликовый подшипник задней ведущей шестерни 1,59 - 2,72 Н*м (16,21 - 27,74 кгс*см, 14,07 - 24,07 фунт-сила-дюйма)
      Тип B
      Параметр / Устройство Номинальное значение
      Новый конический роликовый подшипник задней ведущей шестерни 1,93 - 3,58 Н*м (19,68 - 36,51 кгс*см, 17,08 - 31,69 фунт-сила-дюйма)
      Бывший в употреблении конический роликовый подшипник задней ведущей шестерни 0,84 - 1,87 Н*м (8,57 - 19,07 кгс*см, 7,43 - 16,55 фунт-сила-дюйма)

      Note


      • Если измеренный преднатяг меньше заданной величины, замените пружинное стопорное кольцо вала полуосевой шестерни заднего дифференциала со стороны зубьев коронной шестерни дифференциала кольцом большей толщины.

      • Если измеренный преднатяг больше заданной величины, замените пружинное стопорное кольцо вала полуосевой шестерни заднего дифференциала со стороны зубьев коронной шестерни дифференциала кольцом меньшей толщины.

      Tech Tips

      При изменении толщины пружинного стопорного кольца вала полуосевой шестерни заднего дифференциала на 0,02 мм (0,000787 дюйма) суммарный преднатяг изменяется примерно на 0,1 Н*м (1 кгс*см, 1 фунт-сила-дюйм).

    2. A01FTP0

      Установите индикатор часового типа на торцевую поверхность коронной шестерни дифференциала.

    3. Зафиксировав соединительный фланец задней ведущей шестерни, поверните коронную шестерню дифференциала и измерьте боковой зазор.

      Боковой зазор
      0,08 - 0,13 мм (0,00315 - 0,00511 дюйма)

      Note


      • Если измеренное значение не попадает в заданный диапазон, отрегулируйте его, одинаково увеличив или уменьшив толщину правого и левого пружинных стопорных колец вала полуосевой шестерни заднего дифференциала.

      • При изменении толщины пружинного стопорного кольца вала полуосевой шестерни заднего дифференциала на 0,02 мм (0,000787 дюйма) боковой зазор также изменяется примерно на 0,02 мм (0,000787 дюйма).

    4. Проверьте суммарный преднатяг еще раз

  14. ПРОВЕРЬТЕ ПЯТНО КОНТАКТА ЗУБЬЕВ КОРОННОЙ И ВЕДУЩЕЙ ШЕСТЕРЕН


    1. A01FUNF

      В 4 различных местах нанесите на 3 или 3 зубца коронной шестерни дифференциала берлинскую лазурь.

    2. Поверните коронную шестерню дифференциала в обоих направлениях.

    3. Проверьте пятно контакта зубьев.

      A01FV7GE01
      Обозначения на рисунке
      *a Надлежащий контакт *b Контакт по верхней части
      *c Стыковой контакт *d Подберите регулировочную шайбу, при использовании которой ведущая шестерня будет располагаться ближе к коронной шестерне (*b, *c).
      *e Контакт по нижней части *f Контакт боковых сторон
      *g Подберите регулировочную шайбу, при использовании которой ведущая шестерня будет располагаться ближе к коронной шестерне (*e, *f). - -
    4. A01FVXBE02
      Обозначения на рисунке
      *1 Плоская шайба ведущей шестерни заднего дифференциала

      При отсутствии надлежащего контакта зубьев подберите подходящую регулировочную плоскую шайбу ведущей шестерни заднего дифференциала с помощью приведенной ниже таблицы.

      Tech Tips


      • Если пятно контакта имеет вид, характерный для стыкового или бокового контакта, контакт зубьев можно отрегулировать, поддерживая боковой зазор в заданном диапазоне.

      • Если толщина плоской шайбы ведущей шестерни заднего дифференциала была изменена, отрегулируйте боковой зазор и измерьте суммарный преднатяг.

      Стандартные плоские шайбы
      Толщина Толщина
      88 1,87 - 1,89 мм (0,0736 - 0,0744 дюйма) 10 2,09 - 2,11 мм (0,0823 - 0,0830 дюйма)
      90 1,89 - 1,91 мм (0,0745 - 0,0751 дюйма) 12 2,11 - 2,13 мм (0,0831 - 0,0838 дюйма)
      92 1,91 - 1,93 мм (0,0752 - 0,0759 дюйма) 14 2,13 - 2,15 мм (0,0839 - 0,0846 дюйма)
      94 1,93 - 1,95 мм (0,0760 - 0,0767 дюйма) 16 2,15 - 2,17 мм (0,0847 - 0,0854 дюйма)
      96 1,95 - 1,97 мм (0,0768 - 0,0775 дюйма) 18 2,17 - 2,19 мм (0,0855 - 0,0862 дюйма)
      98 1,97 - 1,99 мм (0,0776 - 0,0783 дюйма) 20 2,19 - 2,21 мм (0,0863 - 0,0870 дюйма)
      00 1,99 - 2,01 мм (0,0784 - 0,0791 дюйма) 22 2,21 - 2,23 мм (0,0871 - 0,0877 дюйма)
      02 2,01 - 2,03 мм (0,0792 - 0,0799 дюйма) 24 2,23 - 2,25 мм (0,0878 - 0,0885 дюйма)
      04 2,03 - 2,05 мм (0,0780 - 0,0807 дюйма) 26 2,25 - 2,27 мм (0,0886 - 0,0893 дюйма)
      06 2,05 - 2,07 мм (0,0808 - 0,0814 дюйма) 28 2,27 - 2,29 мм (0,0894 - 0,0901 дюйма)
      08 2,07 - 2,09 мм (0,0815 - 0,0822 дюйма) - -
  15. СНИМИТЕ ПРУЖИННОЕ СТОПОРНОЕ КОЛЬЦО ВАЛА ПОЛУОСЕВОЙ ШЕСТЕРНИ ЗАДНЕГО ДИФФЕРЕНЦИАЛА


    1. A01FTTDE05
      Обозначения на рисунке
      *1 Дисковый

      Закрепите SST на чашке заднего дифференциала с помощью 2 болтов (A).

      SST
      09571-50010
    2. Затяните болт (B) SST таким образом, чтобы диск SST слегка касался наружного кольца правого подшипника корпуса заднего дифференциала со стороны зубьев коронной шестерни дифференциала.

    3. A01FQ6XE01

      Установите индикатор часового типа на чашку заднего дифференциала.

      Tech Tips

      Установите индикатор часового типа, как показано на рисунке.

    4. Затяните болт SST и измените форму чашки заднего дифференциала, чтобы создать зазор величиной 0,1 мм (0,00394 дюйма) между наружным кольцом правого подшипника корпуса заднего дифференциала и пружинным стопорным кольцом вала полуосевой шестерни заднего дифференциала.

      Note

      Снимите показания индикатора часового типа и убедитесь, что форма чашки заднего дифференциала не изменилась более чем на 0,2 мм (0,00787 дюйма).

      Tech Tips

      Зазор около 0,1 мм (0,00394 дюйма) между наружным кольцом правого подшипника корпуса заднего дифференциала и пружинным стопорным кольцом вала полуосевой шестерни заднего дифференциала достаточен для того, чтобы пружинное стопорное кольцо полуосевой шестерни заднего дифференциала слегка перемещалось.

    5. A01FT3ZE01

      С помощью SST снимите пружинное стопорное кольцо вала полуосевой шестерни заднего дифференциала со стороны зубьев коронной шестерни дифференциала.

      SST
      09905-00031

      Tech Tips

      Для последующей сборки измерьте толщину пружинного стопорного кольца вала полуосевой шестерни заднего дифференциала. Запишите результат.

    6. Снимите индикатор часового типа и ослабьте болт SST.

      Note

      Не снимайте SST.

    7. A01FR7VE01

      Используя SST и молоток, создайте зазор между наружным кольцом левого подшипника корпуса заднего дифференциала с тыльной стороны коронной шестерни дифференциала и пружинным стопорным кольцом вала полуосевой шестерни заднего дифференциала.

      SST
      09608-32010
      09950-70010   ( 09951-07200 )

      Tech Tips

      Зазор незаметен, поэтому достаточно 3–4 ударов молотком по SST.

    8. A01FS1JE01

      Используя съемник стопорных колец, снимите пружинное стопорное кольцо вала полуосевой шестерни заднего дифференциала с тыльной стороны коронной шестерни дифференциала.

      SST
      09905-00031

      Tech Tips

      Для последующей сборки измерьте толщину пружинного стопорного кольца вала полуосевой шестерни заднего дифференциала. Запишите результат.

  16. СНИМИТЕ ПОДШИПНИК КОРПУСА ЗАДНЕГО ДИФФЕРЕНЦИАЛА


    1. A01FUFNE01

      Затяните болт SST и выжмите наружное кольцо левого подшипника корпуса заднего дифференциала с тыльной стороны коронной шестерни дифференциала.

      SST
      09571-50010

      Note

      Не допускайте падения наружного кольца левого подшипника корпуса заднего дифференциала.

      Tech Tips

      Нанесите идентификационные метки на наружное кольцо подшипника корпуса заднего дифференциала и пружинное стопорное кольцо вала полуосевой шестерни заднего дифференциала для обозначения места их установки (тыльная сторона или сторона зубьев), либо положите кольца и пружинные стопорные кольца отдельно, так, чтобы впоследствии не перепутать.

    2. A01FTTDE02

      Выверните 2 болта и снимите SST.

    3. A01FUV6E01

      Слегка поднимите сторону коронной шестерни корпуса заднего дифференциала, чтобы снять наружное кольцо правого подшипника корпуса заднего дифференциала со стороны зубьев коронной шестерни дифференциала.

      Tech Tips

      Нанесите идентификационные метки на наружное кольцо подшипника корпуса заднего дифференциала и пружинное стопорное кольцо вала полуосевой шестерни заднего дифференциала для обозначения места их установки (тыльная сторона или сторона зубьев), либо положите кольца и пружинные стопорные кольца отдельно, так, чтобы впоследствии не перепутать.

  17. СНИМИТЕ КОРПУС ЗАДНЕГО ДИФФЕРЕНЦИАЛА В СБОРЕ


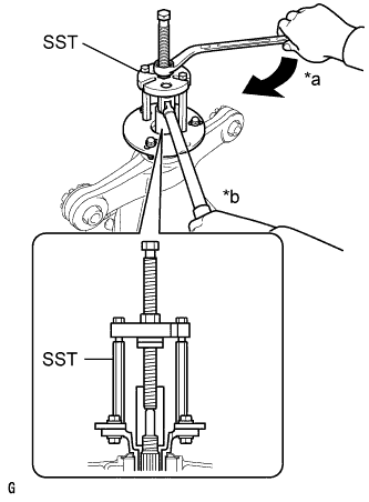
    1. A01FVGL

      Снимите корпус заднего дифференциала, как показано на рисунке.

      Note

      Не допускайте повреждения подшипника корпуса заднего дифференциала.

  18. СНИМИТЕ ГАЙКУ ЗАДНЕЙ ВЕДУЩЕЙ ШЕСТЕРНИ


    1. A01FUECE04
      Обозначения на рисунке
      *a Поверните
      *b Удерживайте

      Удерживая соединительный фланец задней ведущей шестерни с помощью SST, отверните гайку задней ведущей шестерни.

      SST
      09229-55010
      09330-00021
      09950-30012   ( 09955-03040 )
  19. СНИМИТЕ СОЕДИНИТЕЛЬНЫЙ ФЛАНЕЦ ЗАДНЕЙ ВЕДУЩЕЙ ШЕСТЕРНИ


    1. A01FSA1E03
      Обозначения на рисунке
      *a Поверните
      *b Удерживайте

      С помощью SST снимите соединительный фланец задней ведущей шестерни.

      SST
      09950-30012   ( 09951-03010, 09953-03010, 09954-03010, 09955-03040, 09956-03060 )

      Note

      Перед использованием нанесите консистентную смазку на резьбу центрального болта SST.

  20. СНИМИТЕ МАСЛООТРАЖАТЕЛЬ ВЕДУЩЕЙ ШЕСТЕРНИ ЗАДНЕГО ДИФФЕРЕНЦИАЛА


    1. A01FTFS

      Снимите маслоотражатель ведущей шестерни заднего дифференциала.

  21. СНИМИТЕ ВЕДУЩУЮ ШЕСТЕРНЮ ДИФФЕРЕНЦИАЛА


    1. A01FRXRE01

      С помощью пресса снимите ведущую шестерню дифференциала с чашки заднего дифференциала.

      Note

      Будьте осторожны, не допускайте падения ведущей шестерни дифференциала.

  22. СНИМИТЕ ПЕРЕДНИЙ КОНИЧЕСКИЙ РОЛИКОВЫЙ ПОДШИПНИК ЗАДНЕЙ ВЕДУЩЕЙ ШЕСТЕРНИ


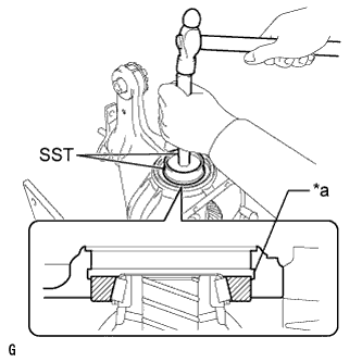
    1. A01FTG2

      Снимите внутреннее кольцо переднего конического роликового подшипника задней ведущей шестерни с чашки заднего дифференциала.

  23. УСТАНОВИТЕ РАСПОРНУЮ ВТУЛКУ ПОДШИПНИКА ВЕДУЩЕЙ ШЕСТЕРНИ ЗАДНЕГО ДИФФЕРЕНЦИАЛА


    1. A01FT1DE01
      Обозначения на рисунке
      *A Тип A
      *B Тип B

      Установите новую распорную втулку подшипника ведущей шестерни заднего дифференциала на ведущую шестерню дифференциала.

      Tech Tips


      • Распорную втулку подшипника ведущей шестерни заднего дифференциала типа A следует устанавливать так, чтобы сторона с большим внутренним диаметром была обращена к ведущей шестерне дифференциала.

      • У распорной втулки подшипника ведущей шестерни заднего дифференциала типа B обе стороны одинаковы.

  24. УСТАНОВИТЕ ПЕРЕДНИЙ КОНИЧЕСКИЙ РОЛИКОВЫЙ ПОДШИПНИК ЗАДНЕЙ ВЕДУЩЕЙ ШЕСТЕРНИ


    1. A01FTG2

      Установите внутреннее кольцо переднего конического роликового подшипника задней ведущей шестерни на чашку заднего дифференциала.

  25. УСТАНОВИТЕ ВЕДУЩУЮ ШЕСТЕРНЮ ДИФФЕРЕНЦИАЛА


    1. A01FVD4E05

      С помощью SST и пресса запрессуйте ведущую шестерню дифференциала в чашку заднего дифференциала.

      SST
      09316-60011   ( 09316-00011, 09316-00041 )
      09608-04031
  26. УСТАНОВИТЕ МАСЛООТРАЖАТЕЛЬ ВЕДУЩЕЙ ШЕСТЕРНИ ЗАДНЕГО ДИФФЕРЕНЦИАЛА


    1. A01FTFS

      Установите маслоотражатель ведущей шестерни заднего дифференциала.

  27. УСТАНОВИТЕ САЛЬНИК ЧАШКИ ЗАДНЕГО ДИФФЕРЕНЦИАЛА


    1. A01FTD0E03
      Обозначения на рисунке
      *1 Сальник чашки заднего дифференциала

      С помощью SST и молотка установите новый сальник чашки дифференциала.

      SST
      09316-60011   ( 09316-00011 )
      09710-30012   ( 09710-04101 )
      Номинальная глубина
      -0,5 - 0,5 мм (-0,0197 - 0,0196 дюйма)

      Note


      • Обстукивайте сальник равномерно, чтобы его поверхность была ровной.

      • Не следует слишком сильно стучать по сальнику.

  28. УСТАНОВИТЕ СОЕДИНИТЕЛЬНЫЙ ФЛАНЕЦ ЗАДНЕЙ ВЕДУЩЕЙ ШЕСТЕРНИ


    1. A01FTCCE04
      Обозначения на рисунке
      *a Поверните
      *b Удерживайте

      С помощью SST установите соединительный фланец задней ведущей шестерни на ведущую шестерню дифференциала.

      SST
      09950-30012   ( 09951-03010, 09953-03010, 09954-03010, 09955-03040, 09956-03060 )

      Note

      Перед использованием нанесите консистентную смазку на резьбу центрального болта SST.

    2. Смажьте резьбу новой гайки задней ведущей шестерни гипоидным маслом LSD (для дифференциалов повышенного трения).

    3. A01FVIXE03
      Обозначения на рисунке
      *a Поверните
      *b Удерживайте

      Удерживая соединительный фланец задней ведущей шестерни с помощью SST и динамометрического ключа, затяните гайку задней ведущей шестерни.

      SST
      09229-55010
      09330-00021
      09950-30012   ( 09955-03040 )
      Torque:
      490 Н*м  { 5000 кгс*см, 361 фунт-сила-фут, или менее }

      Note


      • Не затягивайте гайку чрезмерно, иначе можно сорвать резьбу.

      • Нанесите гипоидное масло LSD на резьбу гайки ведущей шестерни и ведущую шестерню дифференциала.

      Tech Tips

      Затяните гайку ведущей шестерни примерно до 100 Н*м (1020 кгс*см, 74 фунт-сила-футов), а затем подтяните еще, контролируя преднатяг.

  29. УСТАНОВИТЕ КОРПУС ЗАДНЕГО ДИФФЕРЕНЦИАЛА В СБОРЕ


    1. A01FSLS

      Вставьте корпус заднего дифференциала в сборе со стороны зубьев коронной шестерни дифференциала, как показано на рисунке, чтобы установить корпус заднего дифференциала в сборе.

      Note

      Действуйте осторожно, чтобы не повредить подшипник корпуса заднего дифференциала или коронную шестерню дифференциала.

  30. УСТАНОВИТЕ ПОДШИПНИК КОРПУСА ЗАДНЕГО ДИФФЕРЕНЦИАЛА


    1. A01FTQME03

      С помощью SST и молотка установите наружное кольцо правого подшипника корпуса заднего дифференциала со стороны зубьев коронной шестерни дифференциала.

      SST
      09608-32010
      09950-70010   ( 09951-07200 )

      Tech Tips

      Обозначения на рисунке
      *1 Канавка

      Вбейте наружное кольцо подшипника корпуса заднего дифференциала так, чтобы оставалась видимой половина канавки для пружинного стопорного кольца вала полуосевой шестерни в чашке заднего дифференциала.

    2. A01FTTDE05
      Обозначения на рисунке
      *1 Диск

      Закрепите SST на чашке заднего дифференциала с помощью 2 болтов (A).

      SST
      09571-50010
    3. Затяните болт (B) SST таким образом, чтобы диск SST слегка касался наружного кольца правого подшипника корпуса заднего дифференциала.

    4. A01FQAJE01

      С помощью SST и молотка установите наружное кольцо левого подшипника корпуса заднего дифференциала с тыльной стороны коронной шестерни дифференциала.

      SST
      09608-32010
      09950-70010   ( 09951-07200 )

      Tech Tips

      Вбивайте наружное кольцо подшипника корпуса заднего дифференциала до тех пор, пока оно не коснется ролика внутреннего кольца подшипника корпуса заднего дифференциала.

  31. УСТАНОВИТЕ ПРУЖИННОЕ СТОПОРНОЕ КОЛЬЦО ВАЛА ПОЛУОСЕВОЙ ШЕСТЕРНИ ЗАДНЕГО ДИФФЕРЕНЦИАЛА


    1. A01FS1J

      Используя SST, установите пружинное стопорное кольцо вала полуосевой шестерни заднего дифференциала в чашку заднего дифференциала с тыльной стороны коронной шестерни дифференциала.

      SST
      09905-00031

      Tech Tips

      При регулировке пятна контакта зубьев используйте установленное пружинное стопорное кольцо вала полуосевой шестерни заднего дифференциала.

    2. A01FQ6XE01

      Установите индикатор часового типа на чашку заднего дифференциала.

    3. Затяните болт SST так, чтобы форма чашки заднего дифференциала изменилась примерно на 0,1 мм (0,00394 дюйма).

      Note

      Снимите показания индикатора часового типа и убедитесь, что форма чашки заднего дифференциала не изменилась более чем на 0,2 мм (0,00787 дюйма).

    4. A01FT3Z

      С помощью SST установите пружинное стопорное кольцо вала полуосевой шестерни заднего дифференциала со стороны зубьев коронной шестерни дифференциала.

      SST
      09905-00031

      Tech Tips

      При регулировке пятна контакта зубьев используйте установленное пружинное стопорное кольцо вала полуосевой шестерни заднего дифференциала.

    5. A01FQP5

      Снимите индикатор часового типа и ударами пластмассового молотка по чашке заднего дифференциала со стороны зубьев коронной шестерни дифференциала стабилизируйте положение подшипника корпуса заднего дифференциала.

    6. A01FTTDE02

      Выверните 2 болта и снимите SST.

  32. ОТРЕГУЛИРУЙТЕ ПРЕДНАТЯГ ВЕДУЩЕЙ ШЕСТЕРНИ ДИФФЕРЕНЦИАЛА


    1. A01FV2CE01

      С помощью SST и динамометрического ключа измерьте начальный крутящий момент ведущей шестерни дифференциала.

      SST
      09229-55010

      Tech Tips


      • Для того чтобы имелась возможность выполнить данные измерения, боковой зазор между ведущей и коронной шестернями дифференциала должен обеспечивать достаточный ход ведущей шестерни.

      • При измерении преднатяга ведущей шестерни дифференциала в результат не должен включаться преднатяг коронной шестерни дифференциала (корпуса заднего дифференциала в сборе).

      Преднатяг ведущей шестерни дифференциала (при начале работы)
      Тип A
      Параметр / Устройство Номинальное значение
      Новый конический роликовый подшипник задней ведущей шестерни 1,25 - 1,65 Н*м (12,75 - 16,83 кгс*см, 11,06 - 14,60 фунт-сила-дюйма)
      Бывший в употреблении конический роликовый подшипник задней ведущей шестерни 1,25 - 1,65 Н*м (12,75 - 16,83 кгс*см, 11,06 - 14,60 фунт-сила-дюйма)
      Тип B
      Параметр / Устройство Номинальное значение
      Новый конический роликовый подшипник задней ведущей шестерни 1,44 - 2,01 Н*м (14,68 - 20,50 кгс*см, 12,74 - 17,79 фунт-сила-дюйма)
      Бывший в употреблении конический роликовый подшипник задней ведущей шестерни 0,50 - 0,80 Н*м (5,10 - 8,16 кгс*см, 4,43 - 7,08 фунт-сила-дюйма)

      • Если преднатяг меньше указанной минимально допустимой величины, затяните гайку задней ведущей шестерни еще, повернув ее на угол 5–10°, после чего снова проверьте преднатяг.

        Крутящий момент
        Не более 490 Н*м (5000 кгс*см, 361 фунт-сила-фут)
      • Если преднатяг меньше минимально допустимого даже после того, как момент затяжки гайки задней ведущей шестерни превысил максимально допустимое значение, ослабьте гайку задней ведущей шестерни и проверьте, не сорвана ли резьба гайки ведущей шестерни и ведущей шестерни дифференциала.

      • Если резьба не сорвана, замените распорную втулку подшипника ведущей шестерни заднего дифференциала. Нанесите гипоидное масло LSD на резьбу ведущей шестерни дифференциала и повторите процедуру.

  33. ПРОВЕРЬТЕ СУММАРНЫЙ ПРЕДНАТЯГ


    1. A01FV2CE01

      С помощью SST и динамометрического ключа измерьте преднатяг в положении касания зубьев ведущей и коронной шестерен дифференциала.

      SST
      09229-55010
      Суммарный преднатяг (начальный)
      Тип A
      Параметр / Устройство Номинальное значение
      Новый конический роликовый подшипник задней ведущей шестерни 1,84 - 3,32 Н*м (18,76 - 33,85 кгс*см, 16,29 - 29,38 фунт-сила-дюйма)
      Бывший в употреблении конический роликовый подшипник задней ведущей шестерни 1,69 - 2,82 Н*м (17,23 - 28,76 кгс*см, 14,96 - 24,96 фунт-сила-дюйма)
      Тип B
      Параметр / Устройство Номинальное значение
      Новый конический роликовый подшипник задней ведущей шестерни 2,03 - 3,68 Н*м (20,70 - 37,53 кгс*см, 17,97 - 32,57 фунт-сила-дюйма)
      Бывший в употреблении конический роликовый подшипник задней ведущей шестерни 0,94 - 1,97 Н*м (9,59 - 20,09 кгс*см, 8,32 - 17,44 фунт-сила-дюйма)
  34. ПРОВЕРЬТЕ БОКОВОЙ ЗАЗОР МЕЖДУ ЗУБЬЯМИ В ГЛАВНОЙ ПЕРЕДАЧЕ ДИФФЕРЕНЦИАЛА


    1. A01FT4IE01

      Зафиксировав соединительный фланец задней ведущей шестерни, поверните коронную шестерню дифференциала и измерьте боковой зазор.

      Номинальный боковой зазор
      0,08 - 0,13 мм (0,00315 - 0,00511 дюйма)

      Если величина зазора выходит за указанные пределы, выполните регулировку зазора, либо, при необходимости, произведите ремонт.

  35. ПРОВЕРЬТЕ БИЕНИЕ ВЕДУЩЕЙ ШЕСТЕРНИ ДИФФЕРЕНЦИАЛА


    1. A01FVCFE03
      Обозначения на рисунке
      *a 10 мм (0,394 дюйма)

      Используя индикатор часового типа, измерьте биение вала ведущей шестерни дифференциала на расстоянии 10 мм (0,394 дюйма) от конца вала.

      Максимально допустимое биение
      0,08 мм (0,00315 дюйма)

      Если биение превышает максимально допустимое, замените ведущую шестерню дифференциала и коронную шестерню дифференциала.

  36. НАКЕРНИТЕ ГАЙКУ ЗАДНЕЙ ВЕДУЩЕЙ ШЕСТЕРНИ


    1. A01FQBVE01

      С помощью SST и молотка накерните гайку задней ведущей шестерни.

      SST
      09930-00010
  37. УСТАНОВИТЕ САЛЬНИК ВАЛА ПОЛУОСЕВОЙ ШЕСТЕРНИ ЗАДНЕГО ДИФФЕРЕНЦИАЛА


    1. A01FVQ0E05

      С помощью SST и молотка установите 2 новых сальника вала полуосевой шестерни заднего дифференциала.

      SST
      09223-15030
      09950-70010   ( 09951-07200 )
      Глубина установки сальника (A)
      -0,5 - 0,5 мм (-0,0197 - 0,0196 дюйма)

      Note


      • Обязательно проверьте идентификационные метки на сальниках вала полуосевой шестерни заднего дифференциала перед установкой, так как каталожные номера для левой и правой сторон различаются.

      • Чтобы обеспечить надлежащее уплотнение, равномерно обстучите сальники вала полуосевой шестерни заднего дифференциала.

      • При установке сальников вала полуосевой шестерни заднего дифференциала запрессовывайте их, пока наружная поверхность каждого сальника не окажется на одном уровне с чашкой заднего дифференциала.

  38. УСТАНОВИТЕ ПРОБКУ СЛИВНОГО ОТВЕРСТИЯ ЗАДНЕГО ДИФФЕРЕНЦИАЛА


    1. С помощью шестигранного ключа установите пробку сливного отверстия дифференциала вместе с новой прокладкой.

      Torque:
      49 Н*м  { 500 кгс*см, 36 фунт-сила-футов }
  39. СНИМИТЕ ЧАШКУ ЗАДНЕГО ДИФФЕРЕНЦИАЛА


    1. A01FQZKE01

      Выверните 4 болта и снимите чашку заднего дифференциала со стенда для переборки.

      Note

      Очистите пригоночную поверхность между чашкой заднего дифференциала и крышкой чашки заднего дифференциала.

  40. УСТАНОВИТЕ МАСЛООТРАЖАТЕЛЬ ПРОБКИ САПУНА ЗАДНЕГО ДИФФЕРЕНЦИАЛА


    1. A01FV5V

      С помощью скребка и проволочной щетки удалите герметик с чашки заднего дифференциала и крышки чашки заднего дифференциала. Затем удалите масло с помощью не оставляющего осадка растворителя или аналогичного средства.

      Note

      Старайтесь не поцарапать уплотняемую поверхность.

    2. Установите маслоотражатель пробки сапуна заднего дифференциала на крышку чашки заднего дифференциала и закрепите болтом.

      Torque:
      7,0 Н*м  { 70 кгс*см, 62 фунт-сила-дюйма }
  41. УСТАНОВИТЕ СТОПОРНЫЙ ШТИФТ ЧАШКИ ЗАДНЕГО ДИФФЕРЕНЦИАЛА


    1. A01FQZUE01

      С помощью молотка с пластмассовым покрытием установите 2 стопорных штифта чашки заднего дифференциала на крышку чашки заднего дифференциала.

      Выступание (A)
      10 - 12 мм (0,394 - 0,472 дюйма)
  42. УСТАНОВИТЕ КРЫШКУ ЧАШКИ ЗАДНЕГО ДИФФЕРЕНЦИАЛА


    1. A01FUXRE08
      Обозначения на рисунке
      *1 Герметик
      *a 2 - 3 мм (0,0788 - 0,118 дюйма)

      Нанесите герметик на чашку заднего дифференциала, как показано на рисунке.

      Герметик
      Фирменный герметик Toyota 1281, Three bond 1281 или аналогичный

      Note


      • Наносите герметик в виде сплошного валика диаметром примерно 2–3 мм (0,0787–0,118 дюйма).

      • Обеспечьте перекрытие слоев герметика на участке не менее 10 мм (0,394 дюйма) в начале и конце нанесения.

      • Крышка чашки заднего дифференциала должна быть установлена в течение 3 мин после нанесения герметика.

    2. A01FQZL

      Установите крышку чашки заднего дифференциала и закрепите 8 болтами.

      Torque:
      47 Н*м  { 479 кгс*см, 35 фунт-сила-футов }

      Note

      Не заполняйте дифференциал маслом и не приводите автомобиль в движение сразу после установки крышки чашки дифференциала. Оставьте автомобиль "как есть", по крайней мере, на 1 час. Кроме того, в течение не менее 12 часов после нанесения герметика избегайте резких ускорений и замедлений.

  43. УСТАНОВИТЕ ПРОБКУ САПУНА ЗАДНЕГО ДИФФЕРЕНЦИАЛА


    1. A01FQGN

      Установите пробку сапуна заднего дифференциала на крышку чашки заднего дифференциала.

      Torque:
      21 Н*м  { 210 кгс*см, 15 фунт-сила-футов }