VEHICLE STABILITY CONTROL SYSTEM, Diagnostic DTC:C1237, C1275, C1276, C1277, C1278

DTC Code DTC Name
C1237 Speed Sensor Rotor Faulty
C1275 Abnormal Change in Output Signal of Front Speed Sensor RH (Test Mode DTC)
C1276 Abnormal Change in Output Signal of Front Speed Sensor LH (Test Mode DTC)
C1277 Abnormal Change in Output Signal of Rear Speed Sensor RH (Test Mode DTC)
C1278 Abnormal Change in Output Signal of Rear Speed Sensor LH (Test Mode DTC)

DESCRIPTION

The skid control ECU (brake actuator assembly) measures the speed of each wheel by receiving signals from the speed sensor.

These signals are used for recognizing that all four wheels are operating properly.

Therefore, all wheel signals must be equal.

DTCs C1275 to C1278 are cleared when the speed sensor sends a vehicle speed signal or when Test Mode ends. DTCs C1275 to C1278 are output only in Test Mode.

DTC No. DTC Detection Condition Trouble Area
C1237

Any of the following is detected:


  1. Discrepancy among four wheel speed sensor output.

  2. Abnormal pulse signals from 3 or more sensors.

  3. Continuous ABS control is performed for 60 seconds or more.

  4. VSC control is performed for 5 seconds or more.


  • Tire and wheel size

  • Tire deformation

  • Speed sensor rotor

  • Speed sensor

  • Speed sensor circuit

  • Skid control ECU (Brake actuator assembly)

C1275

C1276

Detected only during Test Mode. Front speed sensor rotor RH/LH (Front axle hub sub-assembly RH/LH)

C1277

C1278

Detected only during Test Mode. Rear speed sensor rotor RH/LH (Rear axle hub and bearing assembly RH/LH)

Tech Tips


  • DTC C1275 is for the front speed sensor RH.

  • DTC C1276 is for the front speed sensor LH.

  • DTC C1277 is for the rear speed sensor RH.

  • DTC C1278 is for the rear speed sensor LH.

WIRING DIAGRAM

Refer to DTCs C1330, C1331, C1332, C1333, C1464, C1465, C1466 and C1467 (See page for front, and Click here for rear).

CAUTION / NOTICE / HINT

Note

When replacing the skid control ECU (brake actuator assembly), perform VSC sensor neutral memorization Click here.

Tech Tips

When C1330, C1331, C1332, C1333, C1464, C1465, C1466 and/or C1467 is output together with C1237, inspect and repair the trouble areas indicated by C1330, C1331, C1332, C1333, C1464, C1465, C1466 and/or C1467 first (See page for front, and/or Click here for rear).

PROCEDURE


  1. CHECK TIRES


    1. Check the size and condition of all four wheels Click here.

      Tech Tips

      The DTC is output when tire deformation or a difference in tire size is detected.

      OK
      The diameter of all four tires and the tire pressure are the same.

    NG
    OK
  2. READ VALUE USING GTS (SPEED SENSOR)


    1. Connect the GTS to the DLC3.

    2. Start the engine.

    3. Select the Data List using the GTS Click here.

      ABS/VSC/TRC
      Tester Display Measurement Item/Range Normal Condition Diagnostic Note
      FR Wheel Speed Front wheel speed sensor RH reading / Min.: 0 km/h (0 mph), Max.: 326.4 km/h (202 mph) Vehicle stopped: 0 km/h (0 mph) When driving at constant speed: No large fluctuations
      FL Wheel Speed Front wheel speed sensor LH reading / Min.: 0 km/h (0 mph), Max.: 326.4 km/h (202 mph) Vehicle stopped: 0 km/h (0 mph) When driving at constant speed: No large fluctuations
      RR Wheel Speed Rear wheel speed sensor RH reading / Min.: 0 km/h (0 mph), Max.: 326.4 km/h (202 mph) Vehicle stopped: 0 km/h (0 mph) When driving at constant speed: No large fluctuations
      RL Wheel Speed Rear wheel speed sensor LH reading / Min.: 0 km/h (0 mph), Max.: 326.4 km/h (202 mph) Vehicle stopped: 0 km/h (0 mph) When driving at constant speed: No large fluctuations
    4. Check the speed value output from the speed sensor displayed on the GTS.

      Tech Tips

      Factors that affect the indicated vehicle speed include tire size, tire pressure, and tire wear. The speed indicated on the speedometer has an allowable margin of error. This can be tested using a speedometer tester (calibrated chassis dynamometer). For details about testing and the margin of error, see the reference chart Click here.

      OK
      The speed value output from the speed sensor displayed on the GTS is similar to the speed indicated on the speedometer.
      Result
      Result Proceed to
      OK A
      NG (for front) B
      NG (for rear) C

    B
    C
    A
  3. PERFORM TEST MODE INSPECTION (SIGNAL CHECK)


    1. Turn the ignition switch off.

    2. Perform the sensor check using the Test Mode procedure Click here.

      OK
      All Test Mode DTCs are not output.
      Result
      Result Proceed to
      OK A
      NG (for front) B
      NG (for rear) C

    B
    C
    A
  4. RECONFIRM DTC


    1. Clear the DTCs Click here.

    2. Turn the ignition switch off.

    3. Start the engine.

    4. Drive the vehicle at a speed of 45 km/h (28 mph) or more for at least 120 seconds.

    5. Check if the same DTC is output Click here.

      Result
      Result Proceed to
      DTC C1237 is not output. A
      DTC C1237 is output (for front). B
      DTC C1237 is output (for rear). C

    A
    B
    C
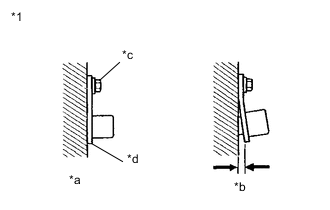
  5. CHECK FRONT SPEED SENSOR INSTALLATION


    1. A004HD9E24
      Text in Illustration
      *1 Front Speed Sensor
      *a Correct
      *b Incorrect
      *c 7.5 N*m
      *d No clearance

      Turn the ignition switch off.

    2. Check the speed sensor installation.

      OK
      There is no clearance between the sensor and the steering knuckle.
      The installation bolt is tightened properly.
      Torque
      7.5 N*m (76 kgf*cm, 66 in.*lbf)

    NG
    OK
  6. CHECK FRONT SPEED SENSOR TIP


    1. Remove the front speed sensor Click here.

    2. Check the speed sensor tip.

      OK
      No scratches or foreign matter on the sensor tip.

      Note

      Check the speed sensor signal after cleaning or replacement Click here.


    NG
    OK
  7. CHECK HARNESS AND CONNECTOR (BRAKE ACTUATOR ASSEMBLY - FRONT SPEED SENSOR)


    1. Install the front speed sensor Click here.

    2. Make sure that there is no looseness at the locking part and the connecting part of the connectors.

    3. Disconnect the skid control ECU (brake actuator assembly) connector and the front speed sensor connector.

    4. Measure the resistance according to the value(s) in the table below.

      Standard Resistance
      for RH
      Tester Connection Condition Specified Condition
      A5-16 (FR+) - A42-2 (FR+) Always Below 1 Ω
      A5-16 (FR+) - Body ground Always 10 kΩ or higher
      A5-4 (FR-) - A42-1 (FR-) Always Below 1 Ω
      A5-4 (FR-) - Body ground Always 10 kΩ or higher
      for LH
      Tester Connection Condition Specified Condition
      A5-19 (FL+) - A12-2 (FL+) Always Below 1 Ω
      A5-19 (FL+) - Body ground Always 10 kΩ or higher
      A5-8 (FL-) - A12-1 (FL-) Always Below 1 Ω
      A5-8 (FL-) - Body ground Always 10 kΩ or higher

    NG
    OK
  8. RECONFIRM DTC


    1. Reconnect the skid control ECU (brake actuator assembly) connector and the front speed sensor connector.

    2. Clear the DTCs Click here.

    3. Turn the ignition switch off.

    4. Start the engine.

    5. Drive the vehicle at a speed of 45 km/h (28 mph) or more for at least 120 seconds.

    6. Check if the same DTC is output Click here.

      Result
      Result Proceed to
      DTC C1237 is output. A
      DTC C1237 is not output. B

    B
    A
  9. REPLACE FRONT SPEED SENSOR


    1. Turn the ignition switch off.

    2. Replace the front speed sensor Click here.

      Note

      Check the speed sensor signal after replacement Click here.


    NEXT
  10. RECONFIRM DTC


    1. Clear the DTCs Click here.

    2. Turn the ignition switch off.

    3. Start the engine.

    4. Drive the vehicle at a speed of 45 km/h (28 mph) or more for at least 120 seconds.

    5. Check if the same DTC is output Click here.

      Result
      Result Proceed to
      DTC C1237 is output. A
      DTC C1237 is not output. B

    B
    A
  11. REPLACE FRONT SPEED SENSOR ROTOR


    1. Turn the ignition switch off.

    2. Replace the front speed sensor rotor Click here.

      Tech Tips

      If the front speed sensor rotor needs to be replaced, replace the front axle hub sub-assembly.

      Note

      Check the speed sensor signal after replacement Click here.


    NEXT
  12. RECONFIRM DTC


    1. Clear the DTCs Click here.

    2. Turn the ignition switch off.

    3. Start the engine.

    4. Drive the vehicle at a speed of 45 km/h (28 mph) or more for at least 120 seconds.

    5. Check if the same DTC is output Click here.

      Result
      Result Proceed to
      DTC C1237 is output. A
      DTC C1237 is not output. B

    A
    B
  13. CHECK REAR SPEED SENSOR INSTALLATION


    1. A004HD9E24
      Text in Illustration
      *1 Rear Speed Sensor
      *a Correct
      *b Incorrect
      *c 7.5 N*m
      *d No clearance

      Turn the ignition switch off.

    2. Check the speed sensor installation.

      OK
      There is no clearance between the sensor and the rear axle carrier sub-assembly.
      The installation bolt is tightened properly.
      Torque
      7.5 N*m (76 kgf*cm, 66 in.*lbf)

    NG
    OK
  14. CHECK REAR SPEED SENSOR TIP


    1. Remove the rear speed sensor Click here.

    2. Check the speed sensor tip.

      OK
      No scratches or foreign matter on the sensor tip.

      Note

      Check the speed sensor signal after cleaning or replacement Click here.


    NG
    OK
  15. CHECK HARNESS AND CONNECTOR (BRAKE ACTUATOR ASSEMBLY - REAR SPEED SENSOR)


    1. Install the rear speed sensor Click here.

    2. Make sure that there is no looseness at the locking part and the connecting part of the connector.

    3. Disconnect the skid control ECU (brake actuator assembly) connector and the rear speed sensor connector.

    4. Measure the resistance according to the value(s) in the table below.

      Standard Resistance
      for RH
      Tester Connection Condition Specified Condition
      A5-17 (RR+) - G9-2 (RR+) Always Below 1 Ω
      A5-17 (RR+) - Body ground Always 10 kΩ or higher
      A5-29 (RR-) - G9-1 (RR-) Always Below 1 Ω
      A5-29 (RR-) - Body ground Always 10 kΩ or higher
      for LH
      Tester Connection Condition Specified Condition
      A5-31 (RL+) - H12-2 (RL+) Always Below 1 Ω
      A5-31 (RL+) - Body ground Always 10 kΩ or higher
      A5-18 (RL-) - H12-1 (RL-) Always Below 1 Ω
      A5-18 (RL-) - Body ground Always 10 kΩ or higher

    NG
    OK
  16. RECONFIRM DTC


    1. Reconnect the skid control ECU (brake actuator assembly) connector and the rear speed sensor connector.

    2. Clear the DTCs Click here.

    3. Turn the ignition switch off.

    4. Start the engine.

    5. Drive the vehicle at a speed of 45 km/h (28 mph) or more for at least 120 seconds.

    6. Check if the same DTC is output Click here.

      Result
      Result Proceed to
      DTC C1237 is output. A
      DTC C1237 is not output. B

    B
    A
  17. REPLACE REAR SPEED SENSOR


    1. Turn the ignition switch off.

    2. Replace the rear speed sensor Click here.

      Note

      Check the speed sensor signal after replacement Click here.


    NEXT
  18. RECONFIRM DTC


    1. Clear the DTCs Click here.

    2. Turn the ignition switch off.

    3. Start the engine.

    4. Drive the vehicle at a speed of 45 km/h (28 mph) or more for at least 120 seconds.

    5. Check if the same DTC is output Click here.

      Result
      Result Proceed to
      DTC C1237 is output. A
      DTC C1237 is not output. B

    B
    A
  19. REPLACE REAR SPEED SENSOR ROTOR


    1. Turn the ignition switch off.

    2. Replace the rear speed sensor rotor Click here.

      Tech Tips

      If the rear speed sensor rotor needs to be replaced, replace the rear axle hub and bearing assembly.

      Note

      Check the speed sensor signal after replacement Click here.


    NEXT
  20. RECONFIRM DTC


    1. Clear the DTCs Click here.

    2. Turn the ignition switch off.

    3. Start the engine.

    4. Drive the vehicle at a speed of 45 km/h (28 mph) or more for at least 120 seconds.

    5. Check if the same DTC is output Click here.

      Result
      Result Proceed to
      DTC C1237 is output. A
      DTC C1237 is not output. B

    A
    B