HORN INSPECTION


  1. INSPECT HIGH PITCHED HORN ASSEMBLY

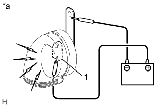
    A01FV3TE01
    Text in Illustration
    *a

    Component without harness connected

    (High Pitched Horn Assembly)


    1. Apply an auxiliary battery voltage and check the operation of the horn according to the table below.

      OK
      Measurement Condition Specified Condition

      Auxiliary battery positive (+) → Terminal 1

      Auxiliary battery negative (-) → Body ground

      Horn sounds

      If the result is not as specified, replace the high pitched horn assembly.

  2. INSPECT LOW PITCHED HORN ASSEMBLY

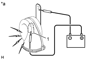
    A01FVA4E01
    Text in Illustration
    *a

    Component without harness connected

    (Low Pitched Horn Assembly)


    1. Apply an auxiliary battery voltage and check the operation of the horn according to the table below.

      OK
      Measurement Condition Specified Condition

      Auxiliary battery positive (+) → Terminal 1

      Auxiliary battery negative (-) → Body ground

      Horn sounds

      If the result is not as specified, replace the low pitched horn assembly.