SLIDING ROOF HOUSING INSTALLATION


  1. INSTALL SLIDING ROOF HOUSING SUB-ASSEMBLY


    1. Install the sliding roof housing sub-assembly with the 8 bolts, new 4 nuts (Nut A), new 4 nuts (Nut B) and 4 nuts (Nut C).

      Note


      • Always be sure to install nut B.

      • Use the specified torque to tighten the nuts. If excessive torque is applied, the studs will be broken.

      • Ensure that both nut surfaces are evenly and firmly in contact with each other.

      A01FSOAE01
      Torque:
      Nut A (Black)
      7.0 N*m  { 71 kgf*cm, 62 in.*lbf }
      Nut B (Silver)
      7.0 N*m  { 71 kgf*cm, 62 in.*lbf }
      Nut C
      5.5 N*m  { 56 kgf*cm, 49 in.*lbf }
      Bolt
      8.0 N*m  { 82 kgf*cm, 71 in.*lbf }
      Text in Illustration
      *1 Black Color *2 Silver Color
      *a Nut A: Part No. 90179-06274 *b Nut B: Part No. 90177-06002
      *c Nut C *d Ensure that both nut surfaces are evenly and firmly in contact with each other.
    2. Tighten the bolt of each sliding roof housing front mounting bracket.

      Torque:
      8.0 N*m  { 82 kgf*cm, 71 in.*lbf }
    3. A01FUURE01
      Text in Illustration
      *1 Clamp
      *2 Marking

      for Clamp Type:


      1. Insert the sliding roof drain hose.

        Tech Tips

        The hose should be inserted to the base of the drain pipe.

      2. Attach the claw to connect the sliding roof drain hose.

        Tech Tips


        • Make sure that the clamp is on the marking or between the marking and hose end.

        • Use the same procedure for the other 3 sliding roof drain hoses.

    4. A01FTO0E01
      Text in Illustration
      *1 Clip
      *2 Marking
      *a Front Side
      *b Outside

      for Clip Type:


      1. Expand the clip to insert the sliding roof drain hose.

        Tech Tips

        The hose should be inserted to the base of the drain pipe.

      2. Release the clip to connect the sliding roof drain hose.

        Note

        The clip must face toward the outside of the vehicle and also be above the lower surface of the sliding roof housing when installing the drain hoses.

        Tech Tips


        • Make sure that the clip is on the marking or between the marking and hose end.

        • Use the same procedure for the other 3 sliding roof drain hoses.

  2. INSTALL SLIDING ROOF PANEL OR REMOVABLE ROOF WEATHERSTRIP


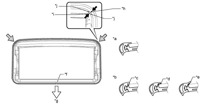
    1. Install the sliding roof panel or removable roof weatherstrip as follows:


      1. Position the joint of the weatherstrip at the rear center.

      2. Align the alignment mark on the weatherstrip with the middle marks at the corners of the sliding roof panel sub-assembly and install the weatherstrip.

      3. Install the lip of the weatherstrip firmly.

        A01FSM0E01
        Text in Illustration
        *a Correct *b Incorrect
        *c Pinched *d Protruding
        *e Gap (raised, wavy, etc.) *f Joint
        *g Vehicle rear *h Alignment mark for sliding roof panel or removable roof weatherstrip
        *i Center mark on resin portion for each corner *j Edge mark on resin portion for each corner
  3. INSTALL SLIDING ROOF GLASS SUB-ASSEMBLY


    1. Using a T25 "TORX" socket wrench, temporarily install the sliding roof glass sub-assembly with the 4 screws.

    2. Perform a level check.

      A01FQEME01

      1. Check the difference in level for "a" between the roof panel and the upper surface of the weatherstrip when the sliding roof glass is fully closed.

        Standard
        Area Measurement
        A - A

        0 + 1.5 mm (0 + 0.0591 in.)

        0 - 1.5 mm (0 - 0.0591 in.)

        B - B

        0 + 1.5 mm (0 + 0.0591 in.)

        0 - 1.5 mm (0 - 0.0591 in.)

        C - C

        0 + 1.5 mm (0 + 0.0591 in.)

        0 - 1.5 mm (0 - 0.0591 in.)

        D - D

        0 + 1.5 mm (0 + 0.0591 in.)

        0 - 1.5 mm (0 - 0.0591 in.)

        Tech Tips

        "+" represents the condition that the glass is above the panel level. "-" represents the condition that the glass is below the panel level.

    3. A01FUNQE01
      Text in Illustration
      *a Even

      Perform a gap check.


      1. Check the gap between the roof panel and roof glass.

        Note

        The gap must be even all around.

    4. A01FQSA

      After adjusting the sliding roof glass, using a T25 "TORX" socket wrench, install the sliding roof glass sub-assembly with the 4 screws.

      Torque:
      5.5 N*m  { 56 kgf*cm, 49 in.*lbf }
  4. CHECK FOR WATER LEAK


    1. After adjusting the sliding roof glass sub-assembly, check for water leakage into the vehicle interior.

    2. If there are any leaks, readjust the sliding roof glass sub-assembly.

  5. INSTALL SLIDING ROOF SIDE GARNISH LH


    1. Attach the claws to install the sliding roof side garnish LH.

  6. INSTALL SLIDING ROOF SIDE GARNISH RH

    Tech Tips

    Use the same procedure described for the LH side.

  7. INSTALL CURTAIN SHIELD AIRBAG ASSEMBLY LH

    Click here

  8. INSTALL CURTAIN SHIELD AIRBAG ASSEMBLY RH

    Tech Tips

    Use the same procedure described for the LH side.

  9. INSTALL ROOF HEADLINING ASSEMBLY

    Click here

  10. CONNECT CABLE TO AUXILIARY BATTERY NEGATIVE TERMINAL

    Note

    When disconnecting the cable, some systems need to be initialized after the cable is reconnected Click here.

  11. INSTALL LUGGAGE COMPARTMENT TRIM COVER LH


    1. Install the luggage compartment trim cover.

  12. INSTALL LUGGAGE COMPARTMENT FLOOR MAT


    1. Install the luggage compartment floor mat.

  13. CHECK SRS WARNING LIGHT

    Click here

  14. RESET SLIDING ROOF DRIVE GEAR SUB-ASSEMBLY

    Click here

  15. CHECK SLIDING ROOF SYSTEM

    Click here