PARKING ASSIST MONITOR SYSTEM DIAGNOSIS SYSTEM


  1. PARKING ASSIST MONITOR DIAGNOSIS SYSTEM


    1. For parking assist monitor system diagnosis, signals received by the multi-media module receiver assembly can be checked and the parking assist monitor system can be calibrated, adjusted and checked using the multi-media module receiver assembly.

      Note

      Depending on the parts that are replaced or operations that are performed during vehicle inspection or maintenance, calibration of other systems as well as the parking assist monitor system may be needed Click here.

      Tech Tips

      The displayed items may differ depending on vehicle specifications.

  2. DIAGNOSIS SCREEN TRANSITION (DURING PARKING ASSIST MONITOR SYSTEM INITIALIZATION)

    A01FT4WE01
    A01FRQZ
  3. DIAGNOSIS SCREEN TRANSITION (AFTER PARKING ASSIST MONITOR SYSTEM INITIALIZATION)

    A01FSMVE01
    A01FR9O
  4. VEHICLE SIGNAL CHECK


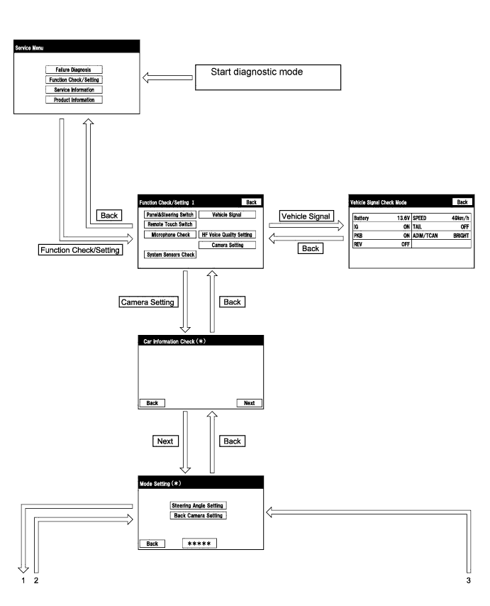
    1. Start diagnostic mode Click here.

    2. A01FQQ4

      Select "Function Check/Setting" on the "Service Menu" screen to display the "Function Check/ Setting I" screen.

    3. A01FUXM

      Select "Vehicle Signal" on the "Function Check/ Setting I" screen.

    4. A01FU4G

      Vehicle Signal Check Mode


      1. When the "Vehicle Signal Check Mode" screen is displayed, check "REV" the vehicle signal conditions.

        Tech Tips


        • Only conditions having inputs are displayed.

        • This screen displays vehicle signals input to the multi-media module receiver assembly.

    5. Finish diagnostic mode Click here.

  5. CAR SIGNAL CHECK (PARKING ASSIST MONITOR SYSTEM INPUT SIGNALS)


    1. Start diagnostic mode Click here.


      1. A01FQQ4

        Select "Function Check/Setting" on the Service Menu screen to display the Function Check/Setting screen.

      2. A01FUXM

        Select "Camera Setting" on the "Function Check/Setting I" screen.

      3. A01FU5X

        Select "Next" on the "Car Information Check" screen.

        Tech Tips

        After "Next" is selected, the screen transitions differ depending on whether initialization of the parking assist monitor system was performed after the multi-media module receiver assembly was replaced.

        Parking Assist Monitor System Initialization Screen Transition
        Not performed Car Signal Check screen
        Performed Mode Setting screen
      4. A01FURT

        When the screen changes to the "Mode Setting" screen, select "Back Camera Setting" to display the "Car Signal Check" screen.

        Tech Tips

        To select a grayed out item, select and hold the item for 2 seconds or more.

    2. A01FUU6

      Car Signal Check


      1. On the "Car Signal Check" screen, it is possible to inspect the state of signals and check the settings.

        Item Inspection Detail Note
        BCTY Luggage compartment door courtesy light switch signal input When "CHK" (red) is displayed, selecting "Next" will not change to the next screen.

        Tech Tips


        • When "CHK" (red) is displayed, perform inspections based on the result of the following inspections.

        • If performing the adjustment after proceeding to the next screen, confirm that all items display "OK" (blue) before selecting "Next".

    3. BCTY inspection

      Tech Tips

      If "CHK" (red) is displayed for "BCTY", check for DTCs and perform troubleshooting based on the output DTCs Click here.

    4. Finish diagnostic mode Click here.

  6. CAMERA SYNCHRONOUS ERROR HISTORY

    Tech Tips

    This function is used to check the date and time of occurrence when a camera synchronous error occurs.


    1. Check camera synchronous error history.


      1. Connect the GTS to the DLC3.

      2. Turn the power switch on (IG).

      3. Turn the GTS on.

      4. Enter the following menus: Body Electrical / Navigation System / Utility / Camera Synchronous Error History.

      5. When an item is stored for Camera Synchronous Error History, record it before repairing the multi-media module receiver assembly and rear television camera assembly.

        Tech Tips

        Camera Synchronous Error History can store up to 5 history data items. If a new camera synchronous error occurs when 5 data items have already been stored, the oldest data is cleared and the new data is stored.

    2. Clear camera synchronous error history.


      1. When DTCs are cleared using any of the following operations, Camera Synchronous Error History will be cleared as well Click here.


        • Cleared using the GTS.

        • Cleared using the system check mode screen.

        • Cleared using the unit check mode screen.

  7. VIDEO DEVICE CONNECTION CHECK Click here

  8. CALIBRATION WHEN SERVICING VEHICLE

    Note

    Depending on the parts that are replaced or operations that are performed during vehicle inspection or maintenance, calibration of other systems as well as the parking assist monitor system may be needed Click here.