СИСТЕМА ПОМОЩИ ПРИ ПАРКОВКЕ КАЛИБРОВКА


  1. ОТРЕГУЛИРУЙТЕ СИСТЕМУ ПОМОЩИ ПРИ ПАРКОВКЕ


    1. Данная система помощи при парковке может быть настроена с использованием экрана диагностики на дисплее.

    2. Если были произведены перечисленные ниже действия, необходимо выполнить соответствующие регулировки и проверки с использованием экрана диагностики.

      Наименование детали Действие Регулируемый параметр Следующий шаг
      Приемник мультимедийного модуля в сборе Замена Настройка угла поворота рулевого колеса и оптической оси задней телекамеры (настройка положения камеры заднего вида) Процедура 1
      (Витой кабель с датчиком в сборе) Снятие и установка витого кабеля с датчиком в сборе Установка угла поворота рулевого колеса Процедура 2
      Подвеска, шины и т.д. Высота подвески автомобиля изменяется вследствие замены деталей подвески или шин Оптическая ось задней телекамеры (настройка положения камеры заднего вида) Процедура 3
      Задняя телекамера в сборе
      • Замена

      • Угол установки задней телекамеры был изменен вследствие снятия и установки задней телекамеры и т.п.

      Оптическая ось задней телекамеры (настройка положения камеры заднего вида) Процедура 3

      Tech Tips

      Значения параметров, устанавливаемые во время калибровки системы монитора помощи при парковке, сохраняются в приемнике мультимедийного модуля.

  2. ПРИЕМНИК МУЛЬТИМЕДИЙНОГО МОДУЛЯ (ПРОЦЕДУРА 1)

    Tech Tips

    Обязательно проверьте DTC после выполнения этой процедуры (см. стр. Click here).


    1. Подготовка к настройке


      1. Припаркуйте автомобиль так, чтобы рулевое колесо находилось в центральном положении.

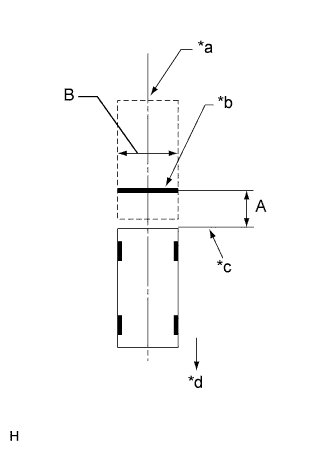
      2. A01FH63E03
        Текст на рисунке
        *a Центральная ось автомобиля
        *b Полоса для регулировки камеры заднего вида
        *c Задняя часть автомобиля
        *d Передняя сторона

        Установите полосу для регулировки оптической оси задней телекамеры.

        Tech Tips

        Полоса для регулировки используется только в случае регулировки оптической оси камеры.

        Tech Tips


        • Положите на землю кусок ленты, которая будет использоваться в качестве полосы для регулировки. Ширина и длина ленты должны составлять соответственно 20 - 30 мм (0,787 - 1,18 дюйма) и 1995 - 2005 мм (6,55 - 6,58 фута). Подберите ленту по цвету, чтобы ее можно было четко видеть на приемнике мультимедийного модуля.

        • Перед парковкой автомобиля подвигайте его взад-вперед, чтобы убедиться, что колеса установлены строго прямо и рулевое колесо установлено по центру.

        • Убедитесь, что дверь багажного отделения полностью закрыта.

      3. Войдите в режим диагностики.


        • Для моделей с системой навигации см. стр. Click here

        • Для моделей без системы навигации см. стр. Click here

        Note

        При запущенном двигателе следует выполнить следующее. Включите стояночный тормоз, нажмите педаль тормоза, проверьте, что рычаг переключения передач находится в положении P и удостоверьтесь, что автомобиль не движется.


        1. A01FHIC

          Выберите "Function Check/Setting" (проверка/настройка функций) на экране "Service Menu" (меню обслуживания).

        2. A01FG6JE01
      4. Обозначения на рисунке
        *A для моделей для Кореи
        *B за исключением моделей для Кореи

    Выберите "Camera Setting" (настройка камеры) на экране "Function Check/Setting".

  3. A01FHXT

    Выберите "Next" (Далее) на экране "Car Information Check" (Проверка информации об автомобиле).

  4. A01FFQJ

    Выберите "Next" (далее) на экране Car Signal Check (проверка сигналов автомобиля).

    Tech Tips


    • Если для каких-либо параметров на экране "Car Signal Check" отображается "CHK" (красный), при выборе "Next" система не перейдет к экрану "Steering Angle Setting" (настройка угла поворота рулевого колеса).

    • Если для каких-либо параметров на экране "Car Signal Check" отображается "CHK" (красный), выполните проверки с помощью экрана "Car Signal Check" (см. стр. Click here).

  • Установка угла поворота рулевого колеса


    1. A01FFCZ

      Выполните операцию STEERING CENTER MEMORIZE (сохранить нейтральное положение рулевого колеса).


      • Убедитесь, что рулевое колесо отцентровано, и выберите "STEERING CENTER MEMORIZE" (сохранить центральное положение рулевого колеса).

      Tech Tips

      При снятии/установке и замене задней телекамеры установка угла поворота рулевого колеса не требуется.

    2. Выполните операцию MAX STEERING ANGLE MEMORIZE (сохранение максимального угла поворота).


      • После сохранения в памяти нейтрального положения рулевого колеса поверните рулевое колесо до упора влево и вправо и выберите "MAX STEERING ANGLE MEMORIZE" (сохранение максимального угла поворота рулевого колеса). Максимальный угол поворота рулевого колеса будет сохранен, и появится экран "Back Camera Position Setting" (настройка положения камеры заднего вида).

        Tech Tips

        Система не будет реагировать на нажатие кнопки "Next" до тех пор, пока не сохранит нейтральное положение и максимальный угол поворота рулевого колеса.

        Tech Tips


        • Также можно начать процедуру с поворота рулевого колеса с правую сторону.

        • При выборе "MAX STEERING ANGLE MEMORIZE" (сохранение максимального угла поворота рулевого колеса) подается звуковой сигнал, подтверждающий сохранение настройки рулевого управления.

        • Настройка не сохранится, если после поворота рулевого колеса в крайние положения не будет выбрано "MAX STEERING ANGLE MEMORIZE".

        • В случае выбора "BACK" появляется экран "Car Signal Check" (проверка сигналов) без сохранения каких-либо значений.

        • Даже если коды DTC не зарегистрированы, выбор "MAX STEERING ANGLE MEMORIZE" может не привести к сохранению настройки, если неисправен витой кабель с датчиком в сборе.

        • Если выбор варианта "MAX STEERING ANGLE MEMORIZE" (Запоминание макс. угла поворота) не приводит к сохранению настройки после регулировки угла поворота рулевого колеса, замените витой кабель с датчиком в сборе (см. стр. Click here).

  • A01FDKLE01

    Настройка положения камеры заднего вида

    Tech Tips


    • При регулировке положения оптической оси камеры сообщение "Back door is open. Do not use the rear view monitor when the back door is not completely closed." (дверь багажного отделения открыта; не используйте монитор заднего вида, пока она не будет полностью закрыта) отображается даже после закрывания двери багажного отделения.

    • Когда дверь багажного отделения открыта, сообщение "Back door is open. Do not use the rear view monitor when the back door is not completely closed." (дверь багажного отделения открыта; не используйте монитор заднего вида, пока она не будет полностью закрыта) , и настройка положения камеры будет невозможна.

    • Если сообщение "Back door is open. Do not use the rear view monitor when the back door is not completely closed." (дверь багажного отделения открыта; не используйте монитор заднего вида, пока она не будет полностью закрыта) отображается даже при закрытой двери багажного отделения, выполните проверки в соответствии с таблицей признаков неисправностей (при регулировке положения оптической оси камеры сообщение "Back door is open. Do not use the rear view monitor when the back door is not completely closed." (дверь багажного отделения открыта; не используйте монитор заднего вида, пока она не будет полностью закрыта) отображается даже после закрывания двери багажного отделения). стр. Click here.


    1. Отрегулируйте угол крена.


      • Нажимая кнопки A и B, поверните линию C так, чтобы она оказалась параллельна полосе регулировки.

    2. Отрегулируйте положения по вертикали и горизонтали.


      • Нажимая на кнопки направлений D, E, F и G, сместите C так, чтобы полоса регулировки D оказалась в центре C.

    3. Нажмите кнопку "Next" в окне "Back Camera Position Setting" (настройка положения камеры заднего вида).

  • A01FIVFE01

    Режим проверки заднего вида


    1. Убедитесь, что "A" и полоса регулировки перекрываются.


      • Если линии не совмещаются, выполните операции STEERING CENTER MEMORIZE (сохранение нейтрального положения рулевого колеса) и MAX STEERING ANGLE MEMORIZE (сохранение максимального угла поворота рулевого колеса).

      • Если "A" и полоса регулировки не совмещены, несмотря на то, что колеса расположены строго прямо, произведите настройку положения камеры заднего вида.

    2. Выбор варианта "OK" приводит к завершению регулировки и возврату на экран меню обслуживания Service Menu.

      Tech Tips


      • Обновление не завершится, пока не будет нажата кнопка "OK".

      • После выбора "OK" звучит звуковой сигнал, подтверждающий сохранение значений параметров настройки.

      • Значения параметров настройки не сохраняются, пока не прозвучит звуковой сигнал.

  • Закончите режим диагностики.


    • Для моделей с системой навигации см. стр. Click here

    • Для моделей без системы навигации см. стр. Click here

  • Проверьте настройку угла поворота рулевого колеса.

    Tech Tips

    Если угол поворота рулевого колеса был отрегулирован, после выхода из режима диагностики проверьте настройку угла поворота рулевого колеса на экране системы помощи при парковке.


    1. Убедитесь, что на экране системы помощи при парковке прогнозируемая траектория движения перемещается, пока рулевое колесо не будет повернуто до упора влево или вправо.

      Tech Tips

      Если прогнозируемая траектория движения прекращает движение до того, как рулевое колесо будет повернуто в крайнее левое или правое положение, параметры настройки угла поворота рулевого колеса не сохранены должным образом. В этом случае заново выполните операции "STEERING CENTER MEMORIZE" (сохранение центрального положения рулевого колеса) и "MAX STEERING ANGLE MEMORIZE" (сохранение максимального угла поворота рулевого колеса).

  • НАСТРОЙКА ПОЛОЖЕНИЯ КАМЕРЫ ЗАДНЕГО ВИДА (ПРОЦЕДУРА 2)

    Tech Tips

    Обязательно проверьте DTC после выполнения этой процедуры (см. стр. Click here).


    1. Подготовка к настройке


      1. Припаркуйте автомобиль так, чтобы рулевое колесо находилось в центральном положении.

      2. A01FH63E03
        Текст на рисунке
        *a Центральная ось автомобиля
        *b Полоса для регулировки положения камеры заднего вида
        *c Задняя часть автомобиля
        *d Передняя сторона

        Закрепите полосу для регулировки оптической оси задней телекамеры в сборе позади автомобиля (настройка положения камеры заднего вида).

        Tech Tips

        Полоса для регулировки используется только в случае регулировки оптической оси камеры.

        Tech Tips


        • Положите на землю кусок ленты, которая будет использоваться в качестве полосы для регулировки. Ширина и длина ленты должны составлять соответственно 20 - 30 мм (0,787 - 1,18 дюйма) и 1995 - 2005 мм (6,55 - 6,58 фута). Подберите ленту по цвету, чтобы ее можно было четко видеть на приемнике мультимедийного модуля.

        • Перед парковкой автомобиля подвигайте его взад-вперед, чтобы убедиться, что колеса установлены строго прямо и рулевое колесо установлено по центру.

        • Убедитесь, что дверь багажного отделения полностью закрыта.

      3. Войдите в режим диагностики.


        • Для моделей с системой навигации см. стр. Click here

        • Для моделей без системы навигации см. стр. Click here

        Note

        При запущенном двигателе следует выполнить следующее. Включите стояночный тормоз, нажмите педаль тормоза, проверьте, что рычаг переключения передач находится в положении P и удостоверьтесь, что автомобиль не движется.


        1. A01FHIC

          Выберите "Function Check/Setting" (проверка/настройка функций) на экране "Service Menu" (меню обслуживания).

        2. A01FG6JE01
      4. Обозначения на рисунке
        *A для моделей для Кореи
        *B за исключением моделей для Кореи

    Выберите "Camera Setting" (настройка камеры) на экране "Function Check/Setting".

  • A01FHXT

    Выберите "Next" (Далее) на экране "Car Information Check" (Проверка информации об автомобиле).

  • A01FFK2

    В окне "Mode Setting" (настройка режима) выберите пункт "Back Camera Setting" (настройка камеры заднего вида).

    Tech Tips

    Чтобы выбрать недоступный для выбора элемент, нажмите его и удерживайте не менее 2 с.

  • A01FFQJ

    Выберите "Next" (далее) на экране Car Signal Check (проверка сигналов автомобиля).

    Tech Tips


    • Если для каких-либо параметров на экране "Car Signal Check" отображается "CHK" (красный), при выборе "Next" система не перейдет к экрану "Back Camera Position Setting" (настройка угла поворота рулевого колеса).

    • Если для каких-либо параметров на экране "Car Signal Check" отображается "CHK" (красный), выполните проверки с помощью экрана "Car Signal Check" (см. стр. Click here).

  • A01FDKLE01

    Настройка положения камеры заднего вида

    Tech Tips


    • Когда дверь багажного отделения открыта, сообщение "Back door is open. Do not use the rear view monitor when the back door is not completely closed." (дверь багажного отделения открыта; не используйте монитор заднего вида, пока она не будет полностью закрыта) , и настройка положения камеры будет невозможна.

    • Если сообщение "Back door is open. Do not use the rear view monitor when the back door is not completely closed." (дверь багажного отделения открыта; не используйте монитор заднего вида, пока она не будет полностью закрыта) отображается даже при закрытой двери багажного отделения, выполните проверки в соответствии с таблицей признаков неисправностей (при регулировке положения оптической оси камеры сообщение "Back door is open. Do not use the rear view monitor when the back door is not completely closed." (дверь багажного отделения открыта; не используйте монитор заднего вида, пока она не будет полностью закрыта) отображается даже после закрывания двери багажного отделения). стр. Click here.


    1. Отрегулируйте угол крена.


      • Нажимая кнопки A и B, поверните линию C так, чтобы она оказалась параллельна полосе регулировки.

    2. Отрегулируйте положения по вертикали и горизонтали.


      • Нажимая на кнопки направлений D, E, F и G, сместите C так, чтобы полоса регулировки D оказалась в центре C.

    3. Нажмите кнопку "Next" в окне "Back Camera Position Setting" (настройка положения камеры заднего вида).

  • A01FIVFE01

    Режим проверки заднего вида


    1. Убедитесь, что "A" и полоса регулировки перекрываются.


      • Если линии не совмещаются, выполните операции STEERING CENTER MEMORIZE (сохранение нейтрального положения рулевого колеса) и MAX STEERING ANGLE MEMORIZE (сохранение максимального угла поворота рулевого колеса).

      • Если "A" и полоса регулировки не совмещены, несмотря на то, что колеса расположены строго прямо, произведите настройку положения камеры заднего вида.

    2. Выбор варианта "OK" приводит к завершению регулировки и возврату на экран меню обслуживания Service Menu.

      Tech Tips


      • Обновление не завершится, пока не будет нажата кнопка "OK".

      • После выбора "OK" звучит звуковой сигнал, подтверждающий сохранение значений параметров настройки.

      • Значения параметров настройки не сохраняются, пока не прозвучит звуковой сигнал.

  • Закончите режим диагностики.


    • Для моделей с системой навигации см. стр. Click here

    • Для моделей без системы навигации см. стр. Click here

  • Настройка угла поворота рулевого колеса (процедура 3)

    Tech Tips

    Если линии, ограничивающие маневр автомобиля по ширине, не совмещены с линиями прогнозируемой траектории движения, когда рулевое колесо отцентровано, или же прогнозируемая траектория движения не перемещается до полного поворота рулевого колеса влево или вправо, настройте угол поворота рулевого колеса.


    1. Установите рулевое колесо в центральное положение и остановите автомобиль.

    2. Войдите в режим диагностики.


      • Для моделей с системой навигации (см. стр. Click here).

      • Для моделей без системы навигации (см. стр. Click here).

      Note

      При запущенном двигателе следует выполнить следующее. Включите стояночный тормоз, нажмите педаль тормоза, проверьте, что рычаг переключения передач находится в положении P и удостоверьтесь, что автомобиль не движется.


      1. A01FHIC

        Выберите "Function Check/Setting" (проверка/настройка функций) на экране "Service Menu" (меню обслуживания).

      2. A01FG6JE01
        Обозначения на рисунке
        *A для моделей для Кореи
        *B за исключением моделей для Кореи

        Выберите "Camera Setting" (настройка камеры) на экране "Function Check/Setting".

      3. A01FHXT

        Выберите "Next" (Далее) на экране "Car Information Check" (Проверка информации об автомобиле).

      4. A01FFK2

        В окне "Mode Setting" (настройка режима) выберите пункт "Steering Angle Setting" (настройка угла поворота рулевого колеса).

        Tech Tips

        Чтобы выбрать недоступный для выбора элемент, нажмите его и удерживайте не менее 2 с.

      5. A01FFQJ

        Выберите "Next" (далее) на экране Car Signal Check (проверка сигналов автомобиля), чтобы открыть экран Steering Angle Setting (настройка угла поворота рулевого колеса).

        Tech Tips


        • Если для каких-либо параметров на экране "Car Signal Check" отображается "CHK" (красный), при выборе "Next" система не перейдет к экрану "Steering Angle Setting" (настройка угла поворота рулевого колеса).

        • Если для каких-либо параметров на экране "Car Signal Check" отображается "CHK", выполните проверки с помощью экрана "Car Signal Check" (см. стр. Click here).

    3. A01FFCZ

      Установка угла поворота рулевого колеса


      1. Убедитесь, что рулевое колесо отцентровано (не более приблизительно +/-5 градусов), и выберите "STEERING CENTER MEMORIZE" (сохранить центральное положение рулевого колеса).

      2. После запоминания центрального положения рулевого колеса поверните рулевое колесо до упора вправо, а затем влево и выберите "MAX STEERING ANGLE MEMORIZE" (сохранение максимального угла поворота рулевого колеса).

        Tech Tips

        Также можно начать процедуру с поворота рулевого колеса с правую сторону.

      3. Выберите "MAX STEERING ANGLE MEMORIZE" (сохранение максимального угла поворота рулевого колеса), чтобы сохранить настройку угла поворота рулевого колеса и перейти на экран "Mode Setting".

        Tech Tips


        • При выборе "MAX STEERING ANGLE MEMORIZE" (сохранение максимального угла поворота рулевого колеса) подается звуковой сигнал, подтверждающий сохранение параметров настройки угла поворота рулевого колеса.

        • Настройка не сохранится, если не выбрать "MAX STEERING ANGLE MEMORIZE".

        • После выбора "BACK" появляется экран "Car Signal Check" (проверка сигналов), и установленные параметры не сохраняются.

        • Если угол поворота рулевого колеса не был отрегулирован, при выборе "MAX STEERING ANGLE MEMORIZE" настройка сохранена не будет.

        • Даже если коды DTC не зарегистрированы, выбор "MAX STEERING ANGLE MEMORIZE" может не привести к сохранению настройки, если неисправен витой кабель с датчиком в сборе.

        • Если выбор "MAX STEERING ANGLE MEMORIZE" не приводит к сохранению настройки после регулировки угла поворота рулевого колеса, замените витой кабель с датчиком в сборе (см. стр. Click here).

    4. Закончите режим диагностики.


      • Для моделей с системой навигации (см. стр. Click here).

      • Для моделей без системы навигации (см. стр. Click here).

    5. Проверьте настройку угла поворота рулевого колеса.

      Tech Tips

      Если угол поворота рулевого колеса был отрегулирован, после выхода из режима диагностики проверьте настройку угла поворота рулевого колеса на экране системы помощи при парковке.


      1. Убедитесь, что на экране системы помощи при парковке прогнозируемая траектория движения перемещается, пока рулевое колесо не будет повернуто до упора влево или вправо.

        Tech Tips

        Если прогнозируемая траектория движения прекращает движение до того, как рулевое колесо будет повернуто в крайнее левое или правое положение, параметры настройки угла поворота рулевого колеса не сохранены должным образом. В этом случае заново выполните операции "STEERING CENTER MEMORIZE" (сохранение центрального положения рулевого колеса) и "MAX STEERING ANGLE MEMORIZE" (сохранение максимального угла поворота рулевого колеса).