СИСТЕМА ПОСАДКИ И ЗАПУСКА (для моделей с функцией посадки) Не действуют функции блокировки и разблокировки для двери переднего пассажира

ОПИСАНИЕ

Если функции блокировки и разблокировки системы посадки не действуют только для двери переднего пассажира, возможно, от двери переднего пассажира не передается код запроса, либо неисправна наружная ручка двери переднего пассажира (сенсорный датчик). Если функции системы посадки для других дверей действуют нормально, то обмен данными между передатчиком электронного ключа в сборе и приемником системы управления замками дверей происходит нормально. В этом случае неисправность может быть вызвана нарушением передачи кодов запроса (обмена данными между ЭБУ сертификации (ЭБУ электронного ключа зажигания) и наружной ручкой двери переднего пассажира (антенной электронного ключа двери переднего пассажира)), либо интерференцией радиоволн.

Tech Tips

Если причина неисправности сохранена в ЭБУ сертификации (ЭБУ электронного ключа зажигания в сборе), следующая таблица может помочь проверить, являлись ли электромагнитные помехи причиной неисправности.

Радиопомехи:
Наименование параметра Причина проблемы и меры по устранению
Помехи радиосигналу ключа при блокировке

При выполнении операции блокировки системы посадки наличие передатчика электронного ключа не подтверждено из-за радиопомех.

Если причина неисправности не зарегистрирована, но автомобиль находился в движении, и операция блокировки системы посадки была успешно выполнена, то высока вероятность наличия радиопомех.

Помехи радиосигналу ключа при разблокировке

При выполнении операции разблокировки системы посадки наличие передатчика электронного ключа не подтверждено из-за радиопомех.

Если причина неисправности не зарегистрирована, но автомобиль находился в движении, и операция разблокировки системы посадки была успешно выполнена, то высока вероятность наличия радиопомех.

СХЕМА ЭЛЕКТРИЧЕСКИХ СОЕДИНЕНИЙ

A01FINIE04

ПОСЛЕДОВАТЕЛЬНОСТЬ ПРОВЕРКИ

Note


  • Система посадки и запуска (при реализации функции посадки) обменивается данными с использованием мультиплексной системы передачи данных (системы передачи данных LIN) и системы передачи данных CAN. Выполните диагностику связи согласно указаниям раздела "Процедура поиска неисправностей" (см. стр. Click here). Приступать к диагностике системы посадки и запуска (функции посадки) следует только после подтверждения нормальной работы систем передачи данных.

  • При использовании GTS для диагностики с выключенным зажиганием:

    Подключите GTS к DLC3 и с 1,5-секундным интервалом включайте и выключайте освещение дверного проема до тех пор, пока не установится связь между GTS и автомобилем.

  • Убедитесь, что в автомобиле отсутствуют передатчики электронных ключей в сборе.

  • Перед выполнением проверки убедитесь, что код DTC B1242 (системы дистанционной блокировки дверей) не выводится (см. стр. Click here).

  • Перед заменой ЭБУ сертификации (ЭБУ электронного ключа зажигания) изучите меры предосторожности для системы посадки и запуска (функции посадки) (см. стр. Click here).

  • После ремонта выполните операцию "Подтверждение вывода кода DTC" и убедитесь, что коды DTC не выводятся.

ПОРЯДОК ВЫПОЛНЕНИЯ


  1. ПРОВЕРЬТЕ СИСТЕМУ УПРАВЛЕНИЯ ЗАМКАМИ ДВЕРЕЙ


    1. Приводя в действие выключатель системы блокировки дверей на главном переключателе сети мультиплексной связи, убедитесь, что двери блокируются и разблокируются в соответствии с состоянием выключателя (см. стр. Click here).

      OK
      Дверные замки работают надлежащим образом.

    NG
    OK
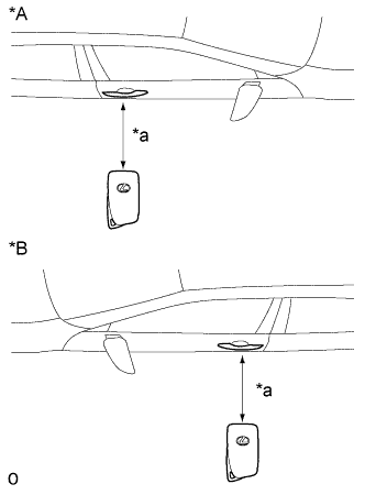
  2. ПРОВЕРЬТЕ ПРОХОЖДЕНИЕ РАДИОВОЛН


    1. A01FH7YE01
      Обозначения на рисунке
      *A Для моделей с левосторонним рулевым управлением
      *B Для моделей с правосторонним рулевым управлением
      *a Примерно 0,3 м (0,984 фута)

      Расположите передатчик электронного ключа в сборе на расстоянии примерно 0,3 м (0,984 фута) от наружной ручки передней двери в сборе (со стороны переднего пассажира) и выполните проверку функции посадки (см. стр. Click here).

      Note

      Обмен данными может не осуществляться, если передатчик электронного ключа зажигания находится на расстоянии менее 0,2 м (0,656 фута) от наружной ручки двери.

      Tech Tips

      Если результат проверки работы указывает на то, что неисправность проявляется в определенном месте или в определенное время, высока вероятность интерференции. Кроме того, причиной помех могут быть дополнительно установленные устройства. Если данные устройства установлены, снимите их и выполните проверку работы.

      Результат
      Результат Перейти к
      Функции системы не работают должным образом А
      Функции системы посадки работают нормально B

    B
    А
  3. ПРОВЕРЬТЕ ЖГУТ ПРОВОДОВ И РАЗЪЕМ (НАРУЖНАЯ РУЧКА ПЕРЕДНЕЙ ДВЕРИ В СБОРЕ - ЭБУ СЕРТИФИКАЦИИ И МАССА)


    • *1: для моделей с левосторонним рулевым управлением

    • *2: Для моделей с правосторонним рулевым управлением


    1. Отсоедините разъем Q8*1 или Q23*2 наружной ручки передней двери (со стороны переднего пассажира).

    2. Отсоедините разъем N93 ЭБУ сертификации (ЭБУ электронного ключа зажигания в сборе).

    3. Disconnect the Q3*1 or Q18*2 front multiplex network door ECU connector.

    4. Измерьте сопротивление в соответствии со значениями, приведенными в таблице ниже.

      Номинальное сопротивление
      Для моделей с левосторонним рулевым управлением
      Контакты для подключения диагностического прибора Условия Номинальное сопротивление
      Q8-3 (ANT2) - N93 -10 (CG2B) Всегда Менее 1 Ом
      Q8-6 (ANT1) - N93-11 (CLG2) Всегда Менее 1 Ом
      Q8-5 (B) - N93-21 (POS2) Всегда Менее 1 Ом
      Q8-2 (GND) - Q3-11 (OSCE) Всегда Менее 1 Ом
      Q8-3 (ANT2) или N93-10 (CG2B) - масса Всегда 10 кОм или более
      Q8-6 (ANT1) или N93-11 (CLG2) - масса Всегда 10 кОм или более
      Q8-5 (B) или N93-21 (POS2) - масса Всегда 10 кОм или более
      Для моделей с правосторонним рулевым управлением
      Контакты для подключения диагностического прибора Условия Номинальное сопротивление
      Q23-3 (ANT2) - N93 -10 (CG2B) Всегда Менее 1 Ом
      Q23-6 (ANT1) - N93-11 (CLG2) Всегда Менее 1 Ом
      Q23-5 (B) - N93-21 (POS2) Всегда Менее 1 Ом
      Q23-2 (GND) - Q18-11 (OSCE) Всегда Менее 1 Ом
      Q23-3 (ANT2) или N93-10 (CG2B) - масса Всегда 10 кОм или более
      Q23-6 (ANT1) или N93-11 (CLG2) - масса Всегда 10 кОм или более
      Q23-5 (B) или N93-21 (POS2) - масса Всегда 10 кОм или более

    NG
    OK
  4. ПРОВЕРЬТЕ ЭБУ СЕРТИФИКАЦИИ (ЭБУ ЭЛЕКТРОННОГО КЛЮЧА ЗАЖИГАНИЯ) (ВЫХОД НА АНТЕННУ ЭЛЕКТРОННОГО КЛЮЧА ДВЕРИ ПЕРЕДНЕГО ПАССАЖИРА)


    1. A01FGX0E53
      Обозначения на рисунке
      *A Для моделей с левосторонним рулевым управлением
      *B Для моделей с правосторонним рулевым управлением
      *1 Осциллограмма
      *a

      Вид спереди разъема со стороны жгута проводов:

      (к наружной ручке передней двери в сборе [двери переднего пассажира])

      Connect the Q3*1 or Q18*2 front multiplex network door ECU connector.


      • *1: для моделей с левосторонним рулевым управлением

      • *2: Для моделей с правосторонним рулевым управлением

    2. Подсоедините разъем N93 ЭБУ сертификации (ЭБУ электронного ключа зажигания).

    3. Измерьте напряжение в соответствии со значениями, приведенными в таблице.

      Номинальное напряжение
      Для моделей с левосторонним рулевым управлением
      Контакты для подключения диагностического прибора Положение переключателя Заданные условия
      Q8-5 (B) - Q8-2 (GND) Зажигание выключено → включено (IG) 9 - 14 В → менее 2 В
      Для моделей с правосторонним рулевым управлением
      Контакты для подключения диагностического прибора Положение переключателя Заданные условия
      Q23-5 (B) - Q23-2 (GND) Зажигание выключено → включено (IG) 9 - 14 В → менее 2 В
    4. С помощью осциллографа проверьте форму сигнала.

      OK
      Контакты для подключения диагностического прибора Положение переключателя Настройки прибора Заданные условия

      • Q8-3 (ANT2) - Q8-6 (ANT1)*1

      • Q23-3 (ANT2) - Q23-6 (ANT1)*2

      Процедура:


      1. Зажигание выключено

      2. Передатчик электронного ключа в сборе вынесен за пределы автомобиля

      3. Все двери закрыты

      4. Передатчик электронного ключа в сборе не находится внутри автомобиля

      5. Передатчик электронного ключа в сборе вынесен из области обнаружения*3

      6. Все двери заблокированы с помощью дистанционной блокировки

      2 В / дел., 500 мс / дел. Формирование импульсов (см. форму сигнала)

      • *1: для моделей с левосторонним рулевым управлением

      • *2: Для моделей с правосторонним рулевым управлением

      • *3: Подробные сведения об областях внутри области обнаружения функции посадки см. в разделе "Проверка работы" (стр. Click here).


    NG
    OK
  5. ЗАМЕНИТЕ НАРУЖНУЮ РУЧКУ ПЕРЕДНЕЙ ДВЕРИ В СБОРЕ (ДВЕРИ ПЕРЕДНЕГО ПАССАЖИРА)


    1. Временно замените наружную ручку передней двери в сборе (со стороны переднего пассажира) новой или заведомо исправной (см. стр. Click here).


    ДАЛЕЕ
  6. ПРОВЕРЬТЕ НАРУЖНУЮ РУЧКУ ПЕРЕДНЕЙ ДВЕРИ В СБОРЕ (ДЛЯ ДВЕРИ ПЕРЕДНЕГО ПАССАЖИРА) (РАБОТУ)


    1. Убедитесь, что функции системы посадки действуют правильно (см. стр. Click here).

      OK
      Функции системы посадки работают нормально.

    NG
    OK