СИСТЕМА АВТОМАТИЧЕСКОЙ ТРАНСМИССИИ Transmission Control Switch Circuit

DESCRIPTION

The transmission control switch detects when the shift lever is moved to M.

Using the transmission control switch, when the shift lever is in M, it is possible to select between 1st and 8th gears (M1 to M8).

Moving the shift lever to "+" once selects the next higher gear, and moving the shift lever to "-" once selects the next lower gear.

WIRING DIAGRAM

A01FF0TE01

INSPECTION PROCEDURE

PROCEDURE


  1. INSPECT TRANSMISSION CONTROL SWITCH


    1. A01FI69E01
      Text in Illustration
      *A for LHD
      *B for RHD
      *a

      Component without harness connected

      (Transmission Control Switch)

      Disconnect the transmission control switch connector.

    2. Measure the resistance according to the value(s) in the table below.

      Standard Resistance
      for LHD
      Tester Connection Condition Specified Condition
      4 (IG) - 5 (S) Shift lever in M, "+" or "-" Below 1 Ω
      4 (IG) - 5 (S) Shift lever not in M, "+" or "-" 10 kΩ or higher
      3 (SFTU) - 2 (E) Shift lever held in "+" (Up-shift) Below 1 Ω
      3 (SFTU) - 2 (E) Shift lever in M 10 kΩ or higher
      1 (SFTD) - 2 (E) Shift lever held in "-" (Down-shift) Below 1 Ω
      1 (SFTD) - 2 (E) Shift lever in M 10 kΩ or higher
      for RHD
      Tester Connection Condition Specified Condition
      4 (IG) - 5 (S) Shift lever in M, "+" or "-" Below 1 Ω
      4 (IG) - 5 (S) Shift lever not in M, "+" or "-" 10 kΩ or higher
      1 (SFTU) - 2 (E) Shift lever held in "+" (Up-shift) Below 1 Ω
      1 (SFTU) - 2 (E) Shift lever in M 10 kΩ or higher
      3 (SFTD) - 2 (E) Shift lever held in "-" (Down-shift) Below 1 Ω
      3 (SFTD) - 2 (E) Shift lever in M 10 kΩ or higher

    NG
    OK
  2. CHECK HARNESS AND CONNECTOR (TRANSMISSION CONTROL SWITCH - BATTERY, BODY GROUND)


    1. A01FDZ8E14
      Text in Illustration
      *A for LHD
      *B for RHD
      *a

      Front view of wire harness connector

      (to Transmission Control Switch)

      Disconnect the transmission control switch connector.

    2. Measure the voltage according to the value(s) in the table below.

      Standard Voltage
      for LHD
      Tester Connection Switch Condition Specified Condition
      N50-4 (IG) - Body ground Engine switch on (IG) 11 to 14 V
      N50-4 (IG) - Body ground Engine switch off Below 1 V
      for RHD
      Tester Connection Switch Condition Specified Condition
      T11-4 (IG) - Body ground Engine switch on (IG) 11 to 14 V
      T11-4 (IG) - Body ground Engine switch off Below 1 V
    3. Turn the engine switch off.

    4. Measure the resistance according to the value(s) in the table below.

      Standard Resistance
      for LHD
      Tester Connection Condition Specified Condition
      N50-2 (E) - Body ground Always Below 1 Ω
      for RHD
      Tester Connection Condition Specified Condition
      T11-2 (E) - Body ground Always Below 1 Ω

    NG
    OK
  3. CHECK HARNESS AND CONNECTOR (TRANSMISSION CONTROL SWITCH - ECM)


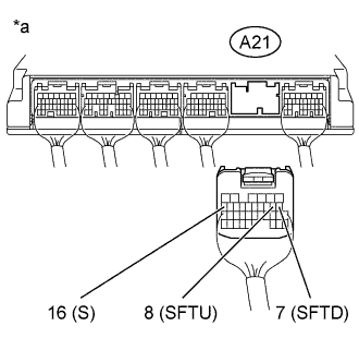
    1. A01FGQRE02
      Text in Illustration
      *a

      Rear view of wire harness connector

      (to ECM)

      Disconnect the ECM connector.

    2. Turn the engine switch on (IG).

    3. Measure the voltage according to the value(s) in the table below.

      Standard Voltage
      Tester Connection Condition Specified Condition
      A21-16 (S) - Body ground
      • Engine switch on (IG)

      • Shift lever in M, "+" or "-"

      11 to 14 V
      A21-16 (S) - Body ground
      • Engine switch on (IG)

      • Shift lever not in M, "+" or "-"

      Below 1 V
    4. Turn the engine switch off.

    5. Measure the resistance according to the value(s) in the table below.

      Standard Resistance
      Tester Connection Condition Specified Condition
      A21-8 (SFTU) - Body ground Shift lever held in "+" (Up-shift) Below 1 Ω
      A21-8 (SFTU) - Body ground Shift lever in M 10 kΩ or higher
      A21-7 (SFTD) - Body ground Shift lever held in "-" (Down-shift) Below 1 Ω
      A21-7 (SFTD) - Body ground Shift lever in M 10 kΩ or higher

    NG
    OK