REAR BRAKE INSTALLATION

Tech Tips


  • Use the same procedure for the RH and LH sides.

  • The procedure listed below is for the LH side.


  1. INSTALL REAR DISC


    1. A01FGIBE01
      Text in Illustration
      *a Matchmark

      Align the matchmarks of the rear disc and axle hub and install the rear disc.

      Note

      When replacing the rear disc with a new one, select the installation position where the rear disc has the smallest runout.

  2. INSTALL PARKING BRAKE SHOE ADJUSTING HOLE PLUG

  3. INSTALL REAR NO. 1 DISC BRAKE CALIPER PLATE


    1. Install 2 new rear No. 1 disc brake caliper plates to the disc brake cylinder mounting.

  4. INSTALL DISC BRAKE CYLINDER MOUNTING LH


    1. Install the disc brake cylinder mounting to the rear axle with the 2 bolts.

      Torque:
      125 N*m  { 1275 kgf*cm, 92 ft.*lbf }
  5. INSTALL REAR DISC BRAKE BUSH DUST BOOT


    1. A01FG7IE01
      Text in Illustration
      *1 Lithium soap base glycol grease

      Apply a light coat of lithium soap base glycol grease to the entire circumference of 2 new rear disc brake bush dust boots where they contact the disc brake cylinder mounting, and the entire inner circumference of both ends of the rear disc brake bush dust boots.

      Tech Tips

      Apply at least 0.3 g (0.01 oz.) of lithium soap base glycol grease to the rear disc brake bush dust boot.

      Note

      Apply a sufficient amount of lithium soap base glycol grease to the entire circumference of the rear disc brake bush dust boot and disc brake cylinder mounting contact surfaces.

    2. Install the 2 rear disc brake bush dust boots to the disc brake cylinder mounting.

  6. INSTALL REAR NO. 1 DISC BRAKE CYLINDER SLIDE PIN


    1. A01FGS5E03
      Text in Illustration
      *1 Lithium soap base glycol grease

      Apply a light coat of lithium soap base glycol grease to the sliding and sealing surfaces of the rear No. 1 disc brake cylinder slide pin.

    2. Install the rear No. 1 disc brake cylinder slide pin to the disc brake cylinder mounting.

    3. Push the rear No. 1 brake cylinder slide pin into the rear disc brake bush dust boot to engage the rear No. 1 disc brake cylinder slide pin to the rear disc brake bush dust boot.

  7. INSTALL REAR DISC BRAKE CYLINDER SLIDE BUSH


    1. A01FDE4E01
      Text in Illustration
      *1 Lithium soap base glycol grease

      Apply a light coat of lithium soap base glycol grease to the rear disc brake rear cylinder slide pin as shown in the illustration.

    2. Install a new rear disc brake cylinder slide bush to the rear disc brake rear cylinder slide pin.

  8. INSTALL REAR DISC BRAKE REAR CYLINDER SLIDE PIN


    1. A01FGMBE01
      Text in Illustration
      *1 Lithium soap base glycol grease

      Apply a light coat of lithium soap base glycol grease to the sliding part and the seal surface of the rear disc brake rear cylinder slide pins.

    2. Install the rear disc brake rear cylinder slide pins to the disc brake cylinder mounting.

    3. Push the rear disc brake rear cylinder slide pin into the rear disc brake bushing dust boot to engage the rear disc brake rear cylinder slid pin to the rear disc brake bush dust boot.

  9. INSTALL REAR NO. 1 DISC BRAKE PAD SUPPORT PLATE


    1. Clean the contact surfaces of the rear No. 1 disc brake pad support plates, rear No. 2 disc brake pad support plates, disc brake cylinder mounting and rear disc brake pads with brake cleaner.

    2. A01FDZFE01
      Text in Illustration
      *1 Rear No. 1 Disc Brake Pad Support Plate
      *2 Rear No. 2 Disc Brake Pad Support Plate

      Install the 2 rear No. 1 disc brake pad support plates to the disc brake cylinder mounting.

      Note


      • As the rear No. 1 disc brake pad support plates and rear No. 2 disc pad support plates have a different shape, be sure to check the part number and shape to confirm the installation location before installing a new pad support plate.

      • When reusing the rear No. 1 disc brake pad support plates or rear No. 2 disc pad support plates, check the identification marks that were made when removing the pad support plates before installing them.

  10. INSTALL REAR NO. 2 DISC BRAKE PAD SUPPORT PLATE


    1. Install the 2 rear No. 2 disc brake pad support plates to the disc brake cylinder mounting.

      Note


      • As the rear No. 1 disc brake pad support plates and rear No. 2 disc pad support plates have a different shape, be sure to check the part number and shape to confirm the installation location before installing a new pad support plate.

      • When reusing the rear No. 1 disc brake pad support plates or rear No. 2 disc pad support plates, check the identification marks that were made when removing the pad support plates before installing them.

  11. INSTALL REAR DISC BRAKE ANTI-SQUEAL SHIM KIT


    1. Install the 2 pad wear indicator plates to the rear disc brake pads.

      Note


      • Install the 2 pad wear indicator plate in the correct positions and facing the correct directions.

      • Install the rear disc brake pads with the pad wear indicator plates on the bottom.

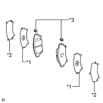
    2. A01FIHWE01
      Text in Illustration
      *1 Rear No. 1 Anti-squeal Shim
      *2 Rear No. 2 Anti-squeal Shim
      *3 Pad Wear Indicator Plate

      Install the No. 1 anti-squeal shim and No. 2 anti-squeal shim to each pad.

      Note

      When the pads are replaced with new ones, also replace the anti-squeal shims with new ones.

  12. INSTALL REAR DISC BRAKE PAD


    1. Install the 2 rear disc brake pads to the disc brake cylinder mounting.

      Note

      Make sure there is no oil or grease on the friction surfaces of the rear disc brake pads or the rear disc.

  13. INSTALL REAR DISC BRAKE CYLINDER ASSEMBLY


    1. A01FDXYE01
      Text in Illustration
      *a Hold
      *b Turn

      Hold the rear disc brake cylinder slide pins and install the rear disc brake cylinder assembly to the disc brake cylinder mounting with 2 new bolts.

      Torque:
      27 N*m  { 270 kgf*cm, 20 ft.*lbf }
  14. CONNECT REAR FLEXIBLE HOSE LH


    1. Install a new gasket and connect the rear flexible hose to the rear disc brake cylinder assembly with a new union bolt.

      Torque:
      39 N*m  { 400 kgf*cm, 29 ft.*lbf }

      Tech Tips

      Insert the flexible hose lock securely into the lock hole in the disc brake cylinder.

  15. BLEED BRAKE LINE


    1. Remove the brake master cylinder reservoir filler cap assembly.

    2. Add brake fluid until the fluid level is between the MIN and MAX lines of the reservoir.

      Brake fluid
      SAE J1703 or FMVSS No. 116 DOT 3
    3. Loosen the bleeder plug of the front disc brake cylinder RH.

    4. Repeatedly depress the brake pedal and bleed the air from the bleeder plug of the front disc brake cylinder RH.

      Note

      Add fluid as necessary so that the fluid in the reservoir does not decrease below the MIN level.

    5. After air is completely bled out, tighten the bleeder plug while depressing the brake pedal.

      Torque:
      11 N*m  { 110 kgf*cm, 8 ft.*lbf }
    6. Bleed the air from the bleeder plug of the front disc brake cylinder LH using the same procedure as for the RH side.

    7. Loosen the bleeder plug of the rear disc brake cylinder RH.

    8. Repeatedly depress the brake pedal and bleed the air from the bleeder plug of the rear disc brake cylinder RH.

      Note

      Add fluid as necessary so that the fluid in the reservoir does not decrease below the MIN level.

    9. After air is completely bled out, tighten the bleeder plug while depressing the brake pedal.

      Torque:
      8.3 N*m  { 85 kgf*cm, 73 in.*lbf }
    10. Bleed the air from the bleeder plug of the rear disc brake cylinder LH using the same procedure as for the RH side.

    11. Check for brake fluid leaks.

    12. Check the brake fluid level in the reservoir Click here.

  16. ADJUST PARKING BRAKE

    Click here

  17. INSTALL REAR WHEEL

    Torque:
    103 N*m  { 1050 kgf*cm, 76 ft.*lbf }