FRONT SPEED SENSOR (for 2WD) REMOVAL

Tech Tips


  • Other than areas where instructions are provided, use the same procedures for the RH and LH sides.

  • The procedures listed below are for LH side.


  1. REMOVE FRONT WHEEL

  2. REMOVE SKID CONTROL SENSOR WIRE


    1. A01FHBN

      Disconnect the connector from the front speed sensor.

    2. Remove the bolt and harness clamp.

    3. Partially remove the front fender liner.

    4. A01FGM9

      Detach the clip.

    5. Remove the 2 bolts and 2 harness clamps.

    6. Disconnect the connector.

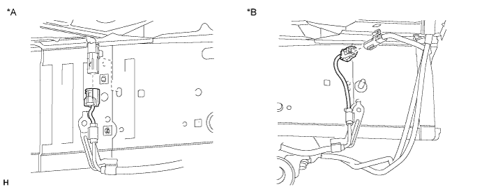
      A01FHLGE01
      Text in Illustration
      *A for LH Side *B for RH Side
    7. Remove the skid control sensor wire.

  3. REMOVE DISC BRAKE CYLINDER ASSEMBLY LH


    1. for 17 inch Front Disc Brake:

      Click here

    2. for 18 inch Front Disc Brake:

      Click here

  4. REMOVE FRONT DISC


    1. for 17 inch Front Disc Brake:

      Click here

    2. for 18 inch Front Disc Brake:

      Click here

  5. REMOVE FRONT AXLE HUB SUB-ASSEMBLY (SKID CONTROL SENSOR)

    Click here