CANISTER (w/ Canister Pump Module) INSPECTION


  1. INSPECT CHARCOAL CANISTER ASSEMBLY


    1. A01FH0V

      Visually check the charcoal canister for cracks or damage.

      If cracks or damage are found, replace the charcoal canister assembly.

    2. Check canister operation.


      1. A01FDCIE01
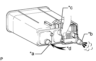
        Text in Illustration
        *a Vent Line Port
        *b Air Inlet Line Port
        *c Purge Line Port
        *d Air

        With the purge port closed, blow 5 kPa (0.1 kgf/cm2, 0.7 psi) of air into the vent line port, and check that air flows from the air inlet line port.

        If the result is not as specified, replace the charcoal canister assembly.

      2. A01FJ0IE01
        Text in Illustration
        *a Vent Line Port
        *b Air Inlet Line Port
        *c Purge Line Port
        *d Air

        With the vent port closed, blow 5 kPa (0.1 kgf/cm2, 0.7 psi) of air into the air inlet line port, and check that air flows from the purge line port.

        If the result is not as specified, replace the charcoal canister assembly.

    3. Check for air leaks.


      1. A01FH1QE01
        Text in Illustration
        *1 Pressure Gauge
        *a Vent Line Port
        *b Air Inlet Line Port
        *c Purge Line Port

        Connect a pressure gauge to the vent line port of the charcoal canister assembly.

      2. With the purge line port and air inlet line port closed, apply 20 kPa (150 mmHg, 5.91 in.Hg) of pressurized air into the vent line port, and then confirm that pressure is retained for 1 minute.

        If the result is not as specified, replace the charcoal canister assembly.

    4. Check the canister pump module.


      1. A01FDR6

        Connect a positive (+) lead from the battery to terminal 5 and a negative (-) lead to terminal 1.

      2. Check that a clicking sound is heard from the canister pump module.

        If the result is not as specified, replace the canister pump module.