БЛОК ЦИЛИНДРОВ ПРОВЕРКА


  1. ПРОВЕРЬТЕ КОРОБЛЕНИЕ БЛОКА ЦИЛИНДРОВ


    1. A01ET8A

      С помощью прецизионной поверочной линейки и комплекта плоских щупов измерьте коробление поверхности, контактирующей с прокладкой головки блока цилиндров.

      Максимальное коробление
      0,05 мм (0,00197 дюйма)

      Если коробление превышает максимально допустимую величину, замените блок цилиндров в сборе.

  2. ПРОВЕРЬТЕ ОТВЕРСТИЕ ПОД ЦИЛИНДР


    1. A01ET5TE08
      Обозначения на рисунке
      *a Осевое направление
      *b Направление тяги
      *c Центр
      A01EUL1 Передняя сторона

      С помощью нутромера измерьте диаметр отверстия под цилиндр в точках (A) и (B) в осевом и радиальном направлениях.

      Номинальный диаметр
      90,000 - 90,013 мм (3,543 - 3,544 дюйма)
      Максимальный диаметр
      90,13 мм (3,548 дюйма)

      Если усредненный по 4 измерениям диаметр превышает максимальную величину, замените блок цилиндров.

  3. ПРОВЕРЬТЕ ПОРШЕНЬ


    1. A01EWC1

      Скребком для удаления остатков прокладок снимите нагар с верхней части поршня.

    2. A01ETXX

      С помощью инструмента для очистки канавок или сломанного кольца очистите канавки поршневых колец.

    3. A01EVCV

      Используя растворитель и щетку, тщательно очистите поршень.

      Note

      Не пользуйтесь проволочной щеткой.

    4. A01EYU0E01

      С помощью микрометра измерьте диаметр поршня под прямым углом к осевой линии поршня, а также на расстоянии 10,5 мм (0,413 дюйма) от низа поршня.

      Номинальный диаметр поршня
      89,985 - 89,995 мм (3,5427 - 3,5431 дюйма)

      Если диаметр меньше минимально допустимого, замените поршень.

  4. ПРОВЕРЬТЕ МАСЛЯНЫЙ ЗАЗОР ПОРШНЯ


    1. Измерьте диаметр отверстия под цилиндр в направлении тяги.

    2. Отнимите от измеренного диаметра цилиндра измеренный диаметр поршня.

      Номинальный масляный зазор
      0,010 - 0,033 мм (0,000394 - 0,00130 дюйма)
      Максимальный допустимый масляный зазор
      0,10 мм (0,00394 дюйма)

      Если масляный зазор превышает максимально допустимую величину, замените все поршни. При необходимости замените блок цилиндров в сборе.

  5. ПРОВЕРЬТЕ ЗАЗОР КАНАВКИ КОЛЬЦА


    1. A01ETCU

      С помощью комплекта плоских щупов измерьте зазор между новым поршневым кольцом и стенкой канавки кольца.

      Номинальный зазор канавки поршневого кольца
      Параметр / Устройство Номинальное значение
      Кольцо № 1 0,020-0,070 мм (0,000787-0,00276 дюйма)
      Кольцо № 2 0,020 - 0,060 мм (0,000787 - 0,00236 дюйма)
      Маслосъемное кольцо 0,020-0,070 мм (0,000787-0,00276 дюйма)

      Если зазор канавки не соответствует требованиям, замените поршень.

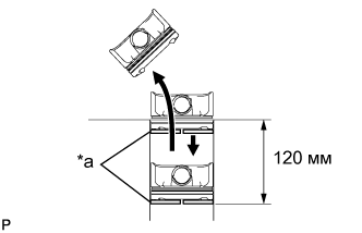
  6. ПРОВЕРЬТЕ ЗАЗОР РАЗРЕЗА ПОРШНЕВОГО КОЛЬЦА


    1. A01EVDSE08
      Обозначения на рисунке
      *a Поршневое кольцо

      Вставьте поршневое кольцо в цилиндр.

    2. С помощью поршня протолкните поршневое кольцо так, чтобы оно слегка выступало за нижний предел хода кольца, на расстоянии 120 мм (4,72 дюйма) от верхней части блока цилиндров.

    3. A01EZ1Q

      С помощью комплекта плоских щупов измерьте зазор разреза.

      Номинальный зазор разреза
      Параметр / Устройство Номинальное значение
      Кольцо № 1 0,22 - 0,27 мм (0,00866 - 0,0106 дюйма)
      Кольцо № 2 0,37 - 0,42 мм (0,0146 - 0,0165 дюйма)
      Маслосъемное кольцо 0,10 - 0,20 мм (0,00394 - 0,00787 дюйма)
      Максимальный зазор разреза
      Параметр / Устройство Номинальное значение
      Кольцо № 1 0,87 мм (0,0343 дюйма)
      Кольцо № 2 1,02 мм (0,0402 дюйма)
      Маслосъемное кольцо 0,80 мм (0,0315 дюйма)

      Если величина зазора разреза превышает максимально допустимое значение, замените поршневое кольцо. Если величина зазора разреза превышает максимально допустимое значение даже после установки нового поршневого кольца, замените блок цилиндров в сборе.

  7. ПРОВЕРЬТЕ МАСЛЯНЫЙ ЗАЗОР ПОРШНЕВОГО ПАЛЬЦА


    1. Проверьте все отметки на поршне, поршневом пальце и шатуне.

      A01EVEUE04
      Обозначения на рисунке
      *a Метка передней стороны *b Метка внутреннего диаметра отверстия для поршневого пальца
      *c Метка внутреннего диаметра втулки малого конца шатуна - -

      Tech Tips

      Передняя метка "2L" выполнена рельефными символами.

    2. A01EUCQ

      С помощью индикатора часового типа для отверстий измерьте внутренний диаметр отверстия под поршневой палец.

      Номинальный внутренний диаметр отверстия под поршневой палец
      Параметр / Устройство Заданные условия
      Метка A 22,001 - 22,004 мм (0,86618 - 0,86630 дюйма)
      Метка B 22,005 - 22,007 мм (0,86634 - 0,86642 дюйма)
      Метка C 22,008 - 22,010 мм (0,86645 - 0,86653 дюйма)
    3. A01EW1CE06

      Микрометром измерьте диаметр поршневого пальца.

      Номинальный диаметр поршневого пальца
      Параметр / Устройство Заданные условия
      Метка A 21,997-22,000 мм (0,86602-0,86614 дюйма)
      Метка B 22,001-22,003 мм (0,86618-0,86626 дюйма)
      Метка C 22,004-22,006 мм (0,86630-0,86638 дюйма)

      Если диаметр не соответствует требованиям, замените поршневой палец.

    4. A01EXQ0

      С помощью индикатора часового типа для отверстий измерьте внутренний диаметр втулки малого конца шатуна.

      Номинальный внутренний диаметр втулки малого конца шатуна
      Параметр / Устройство Заданные условия
      Метка A 22,005 - 22,008 мм (0,86634 - 0,86645 дюйма)
      Метка B 22,009 - 22,011 мм (0,86649 - 0,86657 дюйма)
      Метка C 22,012-22,014 мм (0,86661-0,86669 дюйма)

      Если диаметр не соответствует требованиям, замените шатун.

    5. Вычтите из измеренного внутреннего диаметра отверстия под поршневой палец измеренный диаметр поршневого пальца.

      Номинальный масляный зазор
      0,001-0,007 мм (0,0000394-0,000276 дюйма)
      Максимальный допустимый масляный зазор
      0,013 мм (0,000512 дюйма)

      Если масляный зазор превышает максимально допустимую величину, замените поршень и комплекте с поршневым пальцем.

    6. Вычтите измеренное значение диаметра поршневого пальца из измеренного значения внутреннего диаметра втулки малого конца шатуна.

      Номинальный масляный зазор
      0,005-0,011 мм (0,000197-0,000433 дюйма)
      Максимальный допустимый масляный зазор
      0,017 мм (0,000669 дюйма)

      Если масляный зазор превышает максимально допустимое значение, замените шатун в сборе. При необходимости замените шатун и поршневой палец в комплекте.

  8. ПРОВЕРЬТЕ ШАТУН В СБОРЕ


    1. A01ESQX

      С помощью устройства для проверки кривизны шатуна и комплекта плоских щупов проверьте кривизну шатун.


      1. Проверьте наличие изгибов.

        Максимально допустимый изгиб
        0,05 мм (0,00197 дюйма) на 100 мм (3,94 дюйма)

        Если изгиб превышает максимально допустимое значение, замените шатун в сборе.

      2. A01EVNC

        Убедитесь в отсутствии скручивания.

        Максимально допустимое скручивание
        0,15 мм (0,00591 дюйма) на 100 мм (3,94 дюйма)

        Если скручивание превышает максимально допустимое значение, замените шатун в сборе.

  9. ПРОВЕРЬТЕ КОЛЕНЧАТЫЙ ВАЛ


    1. A01EXFL

      Проверьте коленчатый вал на биение.


      1. С помощью индикатора часового типа и V-образных призм измерьте биение, как показано на рисунке.

        Максимально допустимое биение
        0,003 мм (0,000118 дюйма)

        Если радиальное биение превышает максимально допустимую величину, замените коленчатый вал.

    2. A01EYJT

      Проверьте коренные шейки.


      1. Микрометром измерьте диаметр каждой коренной шейки.

        Номинальный диаметр коренной шейки
        54,988 - 55,000 мм (2,1649 - 2,1654 дюйма)

        Если диаметр не соответствует требованиям, проверьте масляный зазор коленчатого вала. При необходимости замените коленчатый вал.

      2. Для каждой коренной шейки проверьте конусность и овальность, как показано на рисунке.

        Максимально допустимая конусность и овальность
        0,003 мм (0,000118 дюйма)

        Если величины конусности и овальности превышают максимально допустимое значение, замените коленчатый вал.

    3. A01EXAY

      Проверьте штифт коленчатого вала.


      1. Микрометром измерьте диаметр каждого штифта коленчатого вала.

        Номинальный диаметр шатунной шейки
        51,492 - 51,500 мм (2,027 - 2,028 дюйма)

        Если диаметр не соответствует требованиям, проверьте масляный зазор шатуна. При необходимости замените коленчатый вал.

      2. Для каждого штифта коленчатого вала проверьте конусность и овальность, как показано на рисунке.

        Максимально допустимая конусность и овальность
        0,003 мм (0,000118 дюйма)

        Если величины конусности и овальности превышают максимально допустимое значение, замените коленчатый вал.

  10. ПРОВЕРЬТЕ МАСЛЯНЫЙ ЗАЗОР КОЛЕНЧАТОГО ВАЛА


    1. Установите подшипники коленчатого вала (см. стр. Click here).

    2. Установите упорные шайбы коленчатого вала (см. стр. Click here).

    3. Очистите все коренные шейки и подшипники коленчатого вала.

    4. Установите коленчатый вал в блок цилиндров.

    5. A01EU3RE02
      Обозначения на рисунке
      *a Сминаемый пластмассовый калибр Plastigage

      На каждую шейку положите сминаемый пластичный калибр (Plastigage).

    6. Установите крышки подшипников коленчатого вала (см. стр. Click here).

      Note

      Не проворачивайте коленчатый вал.

    7. Снимите крышки подшипников коленчатого вала (см. стр. Click here).

    8. A01EVHYE02
      Обозначения на рисунке
      *a Сминаемый пластмассовый калибр Plastigage

      Измерьте ширину сминаемого пластичного калибра Plastigage в самой широкой точке.

      Номинальный масляный зазор
      0,017–0,040 мм (0,000669–0,00157 дюйма)
      Максимальный допустимый масляный зазор
      0,05 мм (0,00197 дюйма)

      Note

      Полностью удалите сминаемый пластичный калибр Plastigage после выполнения измерений.

      Если масляный зазор превышает максимально допустимую величину, замените подшипник коленчатого вала. При необходимости замените коленчатый вал.

      Tech Tips

      В случае замены подшипника коленчатого вала новый подшипник должен иметь такой же номер, что был у прежнего. Если номер подшипника коленчатого вала определить не удается, вычислите надлежащий номер, сложив номера, указанные на блоке цилиндров и коленчатом валу. Затем выберите новый подшипник коленчатого вала с номером, равным рассчитанному значению. Существуют 4 стандартных типоразмера подшипников коленчатого вала, маркируемые "1", "2", "3" и "4", соответственно.

      A01ETISE01
      Обозначения на рисунке
      *a Метка с номером блока цилиндров (А) *b Метка с номером коленчатого вала (В)
      *c Метки диаметра - -

      • ПРИМЕР

        Блок цилиндров (A) "3" + коленчатый вал (B) "4" = итого "7"

        Выберите подшипник коленчатого вала с номером "3".

        Таблица подшипников
        (A) + (B) Используйте подшипник коленчатого вала
        0 - 2 1
        3 - 5 2
        6 - 8 3
        9 - 11 4
        Номинальный внутренний диаметр шейки блока цилиндров (A)
        Параметр / Устройство Заданные условия
        Метка 0 59,000-59,002 мм (2,32283-2,32291 дюйма)
        Метка 1 59,003-59,004 мм (2,32295-2,32299 дюйма)
        Метка 2 59,005-59,006 мм (2,32303-2,32307 дюйма)
        Метка 3 59,007-59,009 мм (2,32311-2,32318 дюйма)
        Метка 4 59,010-59,011 мм (2,32322-2,32326 дюйма)
        Метка 5 59,012-59,013 мм (2,32330-2,32334 дюйма)
        Метка 6 59,014 - 59,016 мм (2,32338 - 2,32346 дюйма)
        Номинальный диаметр коренной шейки коленчатого вала (B)
        Параметр / Устройство Заданные условия
        Метка 0 54,999-55,000 мм (2,16531-2,16535 дюйма)
        Метка 1 54,997-54,998 мм (2,16523-2,16527 дюйма)
        Метка 2 54,995-54,996 мм (2,16515-2,16519 дюйма)
        Метка 3 54,993-54,994 мм (2,16507-2,16511 дюйма)
        Метка 4 54,991-54,992 мм (2,16500-2,16504 дюйма)
        Метка 5 54,988 - 54,990 мм (2,16488 - 2,16496 дюйма)
        Номинальная толщина центральной стенки подшипника коленчатого вала
        Параметр / Устройство Заданные условия
        Метка 1 1,991 - 1,994 мм (0,07839 - 0,07850 дюйма)
        Метка 2 1,995 - 1,997 мм (0,07854 - 0,07862 дюйма)
        Метка 3 1,998-2,000 мм (0,07866-0,07874 дюйма)
        Метка 4 2,001 - 2,003 мм (0,07878 - 0,07886 дюйма)
    9. Выполните описанную выше проверку для каждой шейки.

  11. ПРОВЕРЬТЕ БОЛТ КРЫШКИ ПОДШИПНИКА КОЛЕНЧАТОГО ВАЛА


    1. A01ETU0E11
      Обозначения на рисунке
      *a Точка измерения

      С помощью штангенциркуля измерьте диаметр резьбы в точке, указанной на рисунке.

      Номинальный диаметр
      9,77 - 9,96 мм (0,385 - 0,392 дюйма)
      Минимально допустимый диаметр
      9,1 мм (0,358 дюйма)

      Tech Tips


      • Если диаметр меньше минимально допустимого, замените болт крышки подшипника коленчатого вала. Несоблюдение данного указания может привести к повреждению двигателя.

      • В случае повреждения резьбы замените болт крышки подшипника коленчатого вала новым.

  12. ПРОВЕРЬТЕ БОЛТ ШАТУНА


    1. A01EWD0E09
      Обозначения на рисунке
      *a Участок измерения

      Штангенциркулем измерьте диаметр болта шатуна на участке, показанном на рисунке.

      Номинальный диаметр
      8,5 - 8,6 мм (0,335 - 0,339 дюйма)
      Минимально допустимый диаметр
      8,3 мм (0,327 дюйма)

      Tech Tips


      • Диаметр следует измерить в нескольких точках.

      • Если диаметр меньше минимально допустимого, замените болт шатуна. Несоблюдение данного указания может привести к повреждению двигателя.

      • В случае повреждения резьбы замените болт шатуна.

  13. ПРОВЕРЬТЕ МАСЛЯНУЮ ФОРСУНКУ № 1 В СБОРЕ


    1. A01EYGME01
      Обозначения на рисунке
      *a Штырь

      Введите в обратный клапан штифт, чтобы проверить, не залип ли он.

      Если обнаружено залипание, замените масляную форсунку № 1.

    2. Нажмите на обратный клапан штифтом и убедитесь, что он перемещается плавно.

      Если он перемещается не плавно, очистите или замените масляную форсунку № 1.

    3. A01EYA4E01

      Подайте воздух в патрубок (A). Убедитесь в отсутствии утечки воздуха через патрубок (B).

      Если происходит утечка воздуха, очистите или замените масляную форсунку № 1.

    4. A01ETZBE02
      Обозначения на рисунке
      *a Штырь

      Нажмите на обратный клапан штифтом, подавая воздух в (A). Убедитесь, что воздух проходит через (B).

      Если воздух не выходит через отверстие (B), очистите или замените масляную форсунку № 1.

  14. ПРОВЕРЬТЕ МАСЛЯНУЮ ФОРСУНКУ № 2 В СБОРЕ


    1. A01EX9EE01
      Обозначения на рисунке
      *a Штырь

      Введите в обратный клапан штифт, чтобы проверить, не залип ли он.

      Если обнаружено залипание, замените масляную форсунку № 2.

    2. Нажмите на обратный клапан штифтом и убедитесь, что он перемещается плавно.

      Если он перемещается не плавно, очистите или замените масляную форсунку № 2.

    3. A01EY7CE01

      Закрыв отверстие (A), подайте сжатый воздух в отверстие (B). Убедитесь, что воздух не выходит через отверстие (C). Выполните проверку еще раз, закрыв отверстие (B) и подав воздух в отверстие (A).

      Если происходит утечка воздуха, очистите или замените масляную форсунку № 2.

    4. A01EYO2E02
      Обозначения на рисунке
      *a Штырь

      Нажмите на обратный клапан штифтом, закрывая (A), и подайте воздух в (B). Убедитесь, что воздух проходит через (C). Выполните проверку снова, закрывая (B), нажав на обратный клапан и подав воздух в (A).

      Если воздух не выходит через отверстие (C), очистите или замените масляную форсунку № 2.