PARKING ASSIST MONITOR SYSTEM DIAGNOSIS SYSTEM


  1. PARKING ASSIST MONITOR DIAGNOSIS SYSTEM


    1. For parking assist monitor system diagnosis, signals received by the navigation ECU sub-assembly can be checked and the parking assist monitor system can be calibrated, adjusted and checked using the navigation ECU sub-assembly.

      Note

      Depending on the parts that are replaced or operations that are performed during vehicle inspection or maintenance, calibration of other systems as well as the parking assist monitor system may be needed Click here.

      Tech Tips

      The displayed items may differ depending on vehicle specifications.

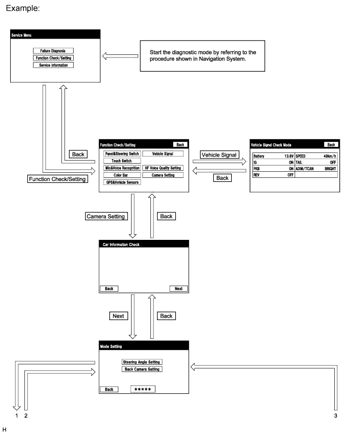
  2. DIAGNOSIS SCREEN TRANSITION (during parking assist monitor system initialization)

    A01ETS5E01
    A01EUI0
  3. DIAGNOSIS SCREEN TRANSITION (after parking assist monitor system initialization)

    A01ESUBE01
    A01EY3I
  4. VEHICLE SIGNAL CHECK


    1. Start diagnostic mode Click here.

    2. A01EUQ1

      Select "Function Check/Setting" on the Service Menu screen to display the Function Check/Setting screen.

    3. A01EY4P

      Select "Vehicle Signal" on the Function Check/Setting screen.

    4. A01EV5Q

      Vehicle Signal Check Mode


      1. When the "Vehicle Signal Check Mode" screen is displayed, check "REV" the vehicle signal conditions.

        Tech Tips


        • Only conditions having inputs are displayed.

        • This screen displays vehicle signals input to the navigation ECU sub-assembly.

        • For details of this function, refer to Diagnosis Display Detailed Description in System Description Click here

    5. Finish diagnostic mode Click here.

  5. CAR SIGNAL CHECK (parking assist monitor system input signals)


    1. Start diagnostic mode Click here.


      1. A01EUQ1

        Select "Function Check/Setting" on the Service Menu screen to display the Function Check/Setting screen.

      2. A01EY4P

        Select "Camera Setting" on the Function Check/Setting screen.

      3. A01EXYY

        Select "Next" on the Car Information Check screen.

        Tech Tips

        After "Next" is selected, the screen transitions differ depending on whether initialization of the parking assist monitor system was performed after the navigation ECU sub-assembly was replaced.

        Parking Assist Monitor System Initialization Screen Transition
        Not performed Car Signal Check screen
        Performed Mode Setting screen
      4. A01EY41

        When the screen changes to the Mode Setting screen, select "Back Camera Setting" to display the Car Signal Check screen.

        Tech Tips

        To select a grayed out item, select and hold the item for 2 seconds or more.

    2. A01EUR8

      Car Signal Check


      1. On the Car Signal Check screen, it is possible to inspect the state of signals and check the settings.

        Item Inspection Detail Note
        BCTY Luggage compartment door courtesy light switch signal input When "CHK" (red) is displayed, selecting "Next" will not change to the next screen.

        Tech Tips


        • When "CHK" (red) is displayed, perform inspections based on the result of the following inspections.

        • If performing the adjustment after proceeding to the next screen, confirm that all items display "OK" (blue) before selecting "Next".

    3. BCTY inspection

      Tech Tips

      If "CHK" (red) is displayed for "BCTY", check for DTCs and perform troubleshooting based on the output DTCs Click here.

    4. Finish diagnostic mode Click here.

  6. CALIBRATION WHEN SERVICING VEHICLE

    Note

    Depending on the parts that are replaced or operations that are performed during vehicle inspection or maintenance, calibration of other systems as well as the parking assist monitor system may be needed Click here.