ПЕРЕДНЯЯ ДВЕРЬ ПОВТОРНАЯ СБОРКА


  1. МЕРЫ ПРЕДОСТОРОЖНОСТИ

    Note

    После выключения двигателя следует подождать некоторое время, прежде чем отсоединять провод от отрицательного (-) вывода аккумуляторной батареи. Поэтому, прежде чем приступать к этой работе, обязательно ознакомьтесь с примечаниями относительно отсоединения провода от отрицательного (-) вывода вспомогательной аккумуляторной батареи (см. стр. Click here).

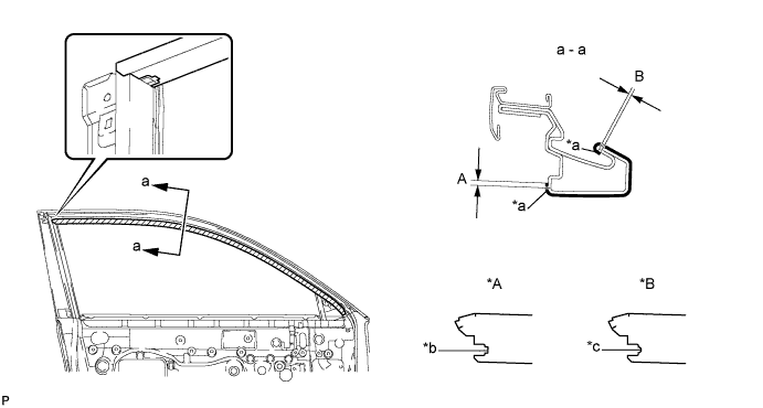
  2. УСТАНОВИТЕ ВЕРХНИЙ МОЛДИНГ РАМЫ ОКНА ПЕРЕДНЕЙ ДВЕРИ


    1. A003WKU

      Вставьте верхний молдинг рамы окна передней двери в раму двери.

    2. С помощью пневматического клепального молотка или ручного клепального молотка с наконечником установите верхний молдинг рамы окна передней двери и закрепите его 8 новыми заклепками.

      Tech Tips

      Если стержень заклепки не был сорван в первом цикле работы клепального молотка, наденьте клепальный молоток на стержень еще больше и снова приведите его в действие.

      Note


      • A003YE3E09

        Не перегибайте клепальным устройством заклепку, поскольку это может повредить устройство и шпиндель.

        Обозначения на рисунке
        *1 Клепальный молоток
        *2 Оправка
        *a Неправильно
      • A003ZTQE10

        Убедитесь, что заклепки надежно закреплены на молдинге. Не наклоняйте клепальное устройство при установке заклепок на молдинг. Убедитесь в отсутствии зазора между головкой заклепки и молдингом.

        Обозначения на рисунке
        *1 Клепальный молоток
        *a Неправильно
      • A003XD6E12

        Убедитесь в отсутствии зазора между молдингом и рамой двери. При установке заклепки сильно прижмите детали друг к другу.

        Обозначения на рисунке
        *1 Клепальный молоток
        *a Неправильно
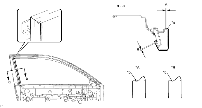
  3. УСТАНОВИТЕ ЗАДНИЙ МОЛДИНГ РАМЫ ОКНА ПЕРЕДНЕЙ ДВЕРИ

    Tech Tips

    Перед установкой нового заднего молдинга рамы окна передней двери разогрейте кузов автомобиля и молдинг с помощью нагревательной лампы.

    Температура нагрева
    Параметр Температура
    Кузов автомобиля 40 - 60°C (104 - 140°F)
    Молдинг 20 - 30°C (68 - 86°F)

    Note

    Не следует слишком сильно прогревать кузов автомобиля и задний молдинг оконной рамы передней двери.


    1. Очистите поверхность кузова автомобиля.


      1. С помощью нагревательной лампы разогрейте поверхность кузова.

      2. Снимите двухстороннюю клейкую ленту с кузова автомобиля.

      3. Удалите остатки клейкой ленты чистящим средством.

    2. A003YIKE01
      Обозначения на рисунке
      *1 Двухсторонняя клейкая лента
      *2 Уплотняющий губчатый материал

      Установите новый задний молдинг оконной рамы передней двери.


      1. С помощью нагревательной лампы прогрейте кузов автомобиля и задний молдинг рамы окна передней двери.

      2. Снимите прокладочную бумагу с поверхности заднего молдинга оконной рамы передней двери.

        Tech Tips

        После удаления отслаивающейся бумаги не допускайте попадания на клейкий слой посторонних частиц.

      3. Установите задний молдинг рамы окна передней двери и закрепите его фиксатором.

  4. УСТАНОВИТЕ МОЛДИНГ РЕМНЯ ПЕРЕДНЕЙ ДВЕРИ В СБОРЕ


    1. A003YRP

      Закрепите 7 скоб для установки молдинга ремня передней двери.

  5. УСТАНОВИТЕ ВЕРХНЮЮ НАКЛАДКУ ПЕРЕДНЕЙ НИЖНЕЙ РАМЫ ПЕРЕДНЕЙ ДВЕРИ

    Tech Tips

    Перед установкой новой верхней накладки передней нижней рамы передней двери разогрейте кузов автомобиля с помощью нагревательной лампы.

    Температура нагрева:
    Параметр / Устройство Температура
    Кузов автомобиля 40 - 60°C (104 - 140°F)

    Note

    Не следует слишком сильно прогревать кузов автомобиля и молдинг.


    1. Очистите поверхность кузова автомобиля.


      1. С помощью нагревательной лампы разогрейте поверхность кузова.

      2. Снимите двухстороннюю клейкую ленту с кузова автомобиля.

      3. Удалите остатки клейкой ленты чистящим средством.

    2. Установите новую верхнюю накладку передней нижней рамы передней двери.


      1. С помощью нагревательной лампы разогрейте кузов автомобиля и новую верхнюю накладку передней нижней рамы передней двери.

      2. Снимите прокладочную бумагу с верхней накладки передней нижней рамы передней двери.

        Tech Tips

        После удаления отслаивающейся бумаги не допускайте попадания на клейкий слой посторонних частиц.

      3. Установите новую верхнюю накладку передней нижней рамы передней двери и закрепите ее 2 фиксаторами.

  6. УКАЗАНИЯ ПО ВЫПОЛНЕНИЮ РЕМОНТА


    1. Очистите поверхность кузова автомобиля.


      1. С помощью нагревательной лампы разогрейте поверхность кузова.

        Температура нагрева
        Параметр / Устройство Температура
        Кузов автомобиля 40-60°C (104-140°F)

        Note

        Не допускайте чрезмерного нагрева кузова автомобиля.

      2. Удалите остатки клейкой ленты чистящим средством.

    2. Температура деталей при установке


      1. Если температура окружающего воздуха ниже 15°C (59°F), перед установкой разогрейте поверхность кузова автомобиля (установочную поверхность рамы двери) и ленту до температуры 20-30°C (68-86°F) с помощью нагревательной лампы . Если температура окружающего воздуха превышает 35°C (95°F), перед установкой следует охладить поверхность кузова (установочную поверхность рамы двери) и ленту до температуры 20-30°C (68-86°F).

        Tech Tips


        • Наиболее подходящая температура для нанесения ленты составляет 25°C (77°F).

        • В случае низкой температуры установочной поверхности лента становится неэластичной и легко отслаивается. При повышении температуры эластичность ленты увеличивается.

    3. Перед установкой


      1. Устраните шероховатость покрытия и удалите всю грязь на и вокруг поверхности кузова в месте крепления ленты (на установочной поверхности рамы двери). Если на поверхности кузова имеются шероховатости и загрязнения, то после нанесения в этих местах лента вздуется, что приведет к ухудшению внешнего вида.

        Tech Tips

        Смочите пол водой, чтобы предотвратить поднимание пыли.

    4. Ключевые моменты при работе со светомаскировочной лентой


      1. Лента легко сгибается и скручивается. Поэтому, чтобы она была ровной, храните ее между листами картона или подобного материала в сухом месте.

        Note

        Не перегибайте ленту и не подвергайте ее воздействию высокой температуры.

    5. Рекомендации по нанесению ленты (порядок использования резинового скребка при нанесении ленты на плоские поверхности)

      Note


      • Чтобы добиться желаемого эстетического вида и избежать отслоения ленты, ленту следует располагать аккуратно и точно.

      • Ленту нельзя использовать повторно, поскольку при снятии она деформируется и становится непригодной для дальнейшего применения.


      1. Во избежание появления воздушных пузырьков при нанесении отрезок ленты, подлежащий приклеиванию, необходимо приподнять над поверхностью кузова автомобиля так, чтобы клейкий слой ленты не соприкасался с ней. Расположите резиновый скребок под углом 40-50° (при прижатии) или 30-45° (при оттягивании) по отношению к поверхности кузова автомобиля и приклейте ленту к поверхности кузова, надавливая на нее с усилием 20-30 Н (2-3 кгс, 4,5-6,7 фунт-силы) и двигая скребок с небольшой постоянной скоростью 3-7 см (1,18-2,76 дюйма) в секунду.

        A003X7RE02
        Обозначения на рисунке
        *A Прижатие движением вперед *B Оттягивание
        *1 Сторона без обивки *2 Сторона с обивкой
        *3 Резиновый скребок *4 Светомаскировочная лента
        *5 Прокладочная бумага - -
        *a Вид сбоку - -
        Результаты измерений для справки
        Область Расстояние
        А 10-20 мм (0,393-0,787 дюйма)
        B 30 - 70 мм (1,18 - 2,76 дюйма)
        C 40-50° (при прижиме вперед)
        D 30-45° (при оттягивании)

        Note

        Во избежание появления складок или воздушных пузырьков необходимо строго соблюдать указанные значения скорости, усилия и угла наклона резинового скребка.

        Tech Tips


        • В зависимости от способа закрепления ленты приемлемым является только один из указанных углов наклона скребка (для прижатия или оттягивания).

        • Во время нанесения ленты необходимо снимать отслаивающуюся бумагу на расстоянии примерно 10-20 мм (0,394-0,787 дюйма) от края скребка.

    6. Рекомендации по закреплению ленты (порядок применения резинового скребка и порядок закрепления для поверхностей окантовки)


      1. A003XUCE09
        Обозначения на рисунке
        *1 Резиновый скребок
        *2 Окантовка
        *a Первый
        *b Второй
        *c Третий

        Если закрепление ленты затруднено, наклеивайте ее в несколько этапов, как показано на рисунке. Пальцем или ручкой резинового скребка медленно нанесите ленту на участок окантовки автомобиля, особенно, в случае маленькой окантовки.

        Tech Tips

        При нанесении ленты к обратной стороне окантовки снимите отслаивающуюся бумагу и приклейте ленту пальцем или ручкой резинового скребка.

    7. Рекомендации по нанесению ленты (порядок использования резинового скребка при нанесении ленты на углах)


      1. Снимите отслаивающуюся бумагу и аккуратно наклейте ленту пальцами.

      2. Чтобы наклеить ленту на угол, сначала нагрейте ее с помощью нагревательной лампы, а затем постепенно наложите на поверхность, избегая сморщивания для придания желаемого эстетического вида.

    8. Убедитесь в надежности приклеивания ленты


      1. После завершения процедуры нанесения ленты убедитесь, что она наклеена аккуратно. В противном случае повторите процедуру еще раз, используя новую ленту.

        Note

        Повторное использование светомаскировочной ленты запрещено.

  7. УСТАНОВИТЕ ЗАДНИЙ НАРУЖНЫЙ УПЛОТНИТЕЛЬ ПЕРЕДНЕЙ ДВЕРИ


    1. Обратитесь к рисунку, чтобы получить представление о расположении заднего наружного уплотнителя передней двери.

      A003X4FE01
      Обозначения на рисунке
      *A Левая сторона *B Правая сторона
      *a Край криволинейной поверхности *b Квадратный вырез
      *c Круглый вырез - -
      Номинальное значение
      Размер Расстояние
      A 1,5 мм (0,0591 дюйма)
      B 1,0 мм (0,0394 дюйма)
    2. Снимите отслаивающуюся бумагу и приложите уплотнитель.

  8. УСТАНОВИТЕ НАРУЖНЫЙ УПЛОТНИТЕЛЬ ПЕРЕДНЕЙ ДВЕРИ


    1. Положение нового наружного уплотнителя передней двери показано на рисунке.

      A003XQ8E01
      Обозначения на рисунке
      *A Левая сторона *B Правая сторона
      *a Край криволинейной поверхности *b Квадратный вырез
      *c Круглый вырез - -
      Номинальное значение
      Размер Расстояние
      A 1,5 мм (0,0591 дюйма)
      B 1,0 мм (0,0394 дюйма)
    2. Снимите отслаивающуюся бумагу и приложите уплотнитель.

  9. УСТАНОВИТЕ ПЫЛЕЗАЩИТНОЕ УПЛОТНЕНИЕ ДВЕРИ


    1. A003VP0

      Установите пылезащитное уплотнение двери.

  10. УСТАНОВИТЕ ПОДУШКУ ПАНЕЛИ ПЕРЕДНЕЙ ДВЕРИ


    1. A003VZ4

      Установите 2 новых подушки панели передней двери и закрепите их 2 захватами.

  11. УСТАНОВИТЕ УПЛОТНИТЕЛЬ ПЕРЕДНЕЙ ДВЕРИ № 2


    1. A003XXY

      Введите в зацепление 8 фиксаторов, чтобы закрепить уплотнитель передней двери № 2.

  12. УСТАНОВИТЕ УПЛОТНИТЕЛЬ ПЕРЕДНЕЙ ДВЕРИ


    1. A003WW1E01
      Обозначения на рисунке
      *1 Двухсторонняя клейкая лента

      Введите в зацепление 20 фиксаторов и установите новый уплотнитель передней двери.

  13. УСТАНОВИТЕ ОГРАНИЧИТЕЛЬ ОТКРЫВАНИЯ ПЕРЕДНЕЙ ДВЕРИ В СБОРЕ


    1. Нанесите на трущиеся поверхности ограничителя открывания передней двери универсальную консистентную смазку.

    2. Нанесите герметик на резьбу болта.

      Герметик-фиксатор
      Фирменный герметик 1324 от компании Toyota, Three Bond 1324 или аналогичный
    3. A003WJO

      Установите ограничитель открывания передней двери в сборе и закрепите его болтом и 2 гайками.

      Torque:
      Болт
      27 Н*м  { 275 кгс*см, 20 фунт-сила-футов }
      Гайка
      8,0 Н*м  { 82 кгс*см, 71 фунт-сила-дюйм }
  14. УСТАНОВИТЕ ЗАПОРНЫЙ СТЕРЖЕНЬ ЗАМКА ПЕРЕДНЕЙ ДВЕРИ


    1. A003YCPE01

      Установите запорный стержень замка передней двери в соответствии со стрелками и в порядке, показанном на рисунке.

  15. УСТАНОВИТЕ РАМУ НАРУЖНОЙ РУЧКИ ПЕРЕДНЕЙ ДВЕРИ


    1. Нанесите на рабочие поверхности трения рамы наружной ручки передней двери в сборе универсальную консистентную смазку.

    2. A003WZR

      Введите в зацепление гайку ручки двери и захват.

    3. Установите раму наружной ручки передней двери в сборе и закрепите ее винтом с помощью торцевого ключа "TORX" (T30).

      Torque:
      4,0 Н*м  { 41 кгс*см, 35 фунт-сила-дюймов }
  16. УСТАНОВИТЕ ЖГУТ ПРОВОДОВ ПЕРЕДНЕЙ ДВЕРИ


    1. A003VW5

      Введите в зацепление 5 зажимов и установите жгут проводов электронного ключа.

    2. Подсоедините разъем.

  17. УСТАНОВИТЕ ВНУТРЕННИЙ ТРОС ЗАМКА ПЕРЕДНЕЙ ДВЕРИ В СБОРЕ


    1. A003ZNR

      Установите внутренний трос замка передней двери в сборе.

    2. A003WQ9

      Введите в зацепление 3 захвата.

  18. УСТАНОВИТЕ ТРОС ДИСТАНЦИОННОГО УПРАВЛЕНИЯ ЗАМКОМ ПЕРЕДНЕЙ ДВЕРИ В СБОРЕ


    1. A003ZJV

      Установите трос дистанционного управления замком передней двери в сборе.

  19. УСТАНОВИТЕ ЗАМОК ПЕРЕДНЕЙ ДВЕРИ В СБОРЕ

    Note


    • При повторном использовании замка передней двери в сборе замените уплотнение на разъеме жгута проводов замка двери новым.

    • Не допускайте попадания консистентной смазки и пыли на поверхность уплотнения разъема жгута проводов замка двери.

    • Повторное использование уплотнения жгута проводов замка двери или использование поврежденного уплотнения жгута проводов замка двери может привести к попаданию воды. Это может вызвать выход замка передней двери из строя.


    1. Нанесите на рабочие поверхности трения замка передней двери универсальную консистентную смазку.

    2. A003ZDU

      Установите новое уплотнение жгута проводов замка двери на замок передней двери в сборе.

    3. A003V8TE01
      Обозначения на рисунке
      *1 Запорный стержень передней двери

      Вставьте запорный стержень замка передней двери в замок передней двери в сборе.

    4. Убедитесь, что запорный стержень замка передней двери надежно закреплен в замке передней двери в сборе.

    5. Установите замок передней двери в сборе и закрепите его 3 винтами с помощью торцевого ключа "TORX" (T30).

      Torque:
      5,0 Н*м  { 51 кгс*см, 44 фунт-сила-дюйма }
    6. Подсоедините разъем.

  20. УСТАНОВИТЕ ЗАДНЮЮ НАКЛАДКУ НАРУЖНОЙ РУЧКИ ПЕРЕДНЕЙ ДВЕРИ


    1. A003X9S

      Введите в зацепление 2 захвата и установите заднюю накладку наружной ручки передней двери.

  21. УСТАНОВИТЕ ПЕРЕДНЮЮ НАКЛАДКУ НАРУЖНОЙ РУЧКИ ПЕРЕДНЕЙ ДВЕРИ


    1. A003XWT

      Введите в зацепление 3 захвата и установите переднюю накладку наружной ручки передней двери.

  22. УСТАНОВИТЕ НАРУЖНУЮ РУЧКУ ПЕРЕДНЕЙ ДВЕРИ В СБОРЕ


    1. A003W4Y

      Вставьте переднюю часть наружной ручки передней двери в сборе в раму наружной ручки передней двери.

    2. Вставьте заднюю часть наружной ручки передней двери в сборе в раму наружной ручки передней двери, затем сдвиньте наружную ручку передней двери в сборе в направлении передней части автомобиля и установите ее.

    3. A003Y8Y

      Переместите рычаг обратно в направлении, указанном на рисунке стрелкой, чтобы зафиксировать наружную ручку двери в сборе.

    4. A003V7H

      Подсоедините разъем.

    5. Введите в зацепление 2 захвата.

  23. УСТАНОВИТЕ КРЫШКУ НАРУЖНОЙ РУЧКИ ПЕРЕДНЕЙ ДВЕРИ (со стороны водителя)


    1. A003YJW

      Установите крышку наружной ручки передней двери на цилиндр замка передней двери и введите в зацепление захват и 2 направляющих, как показано на рисунке.

  24. УСТАНОВИТЕ КРЫШКУ НАРУЖНОЙ РУЧКИ ПЕРЕДНЕЙ ДВЕРИ (со стороны переднего пассажира)


    1. A003Y2T

      Установите крышку наружной ручки передней двери и закрепите ее винтом с помощью торцевого ключа "TORX" (T30).

      Torque:
      4,0 Н*м  { 41 кгс*см, 35 фунт-сила-дюймов }
    2. A003XMC

      Вставьте пробку отверстия.

  25. УСТАНОВИТЕ КРЫШКУ НАРУЖНОЙ РУЧКИ ПЕРЕДНЕЙ ДВЕРИ С ЦИЛИНДРОМ ЗАМКА В СБОРЕ (со стороны водителя)


    1. A003WB6

      Установите крышку наружной ручки передней двери с цилиндром замка в сборе.

      Tech Tips

      Убедитесь, что стержень цилиндра замка передней двери вставлен в замок передней двери в сборе.

    2. A003WI2

      Установите цилиндр замка передней двери и закрепите его винтом с помощью торцевого ключа "TORX" (T30).

      Torque:
      4,0 Н*м  { 41 кгс*см, 35 фунт-сила-дюймов }
    3. A003V51

      Вставьте пробку отверстия.

  26. УСТАНОВИТЕ ЗАДНЮЮ НИЖНЮЮ РАМУ ПЕРЕДНЕЙ ДВЕРИ В СБОРЕ


    1. A003XE1

      Введите в зацепление направляющую.

    2. Установите заднюю нижнюю раму передней двери и закрепите ее болтом, как показано на рисунке.

      Torque:
      8,5 Н*м  { 87 кгс*см, 75 фунт-сила-дюймов }
  27. УСТАНОВИТЕ ЖЕСТКУЮ ПОДКЛАДКУ ПЕРЕДНЕЙ ДВЕРИ № 2


    1. При повторном использовании жесткой подкладки передней двери № 2:


      1. Очистите жесткую подкладку передней двери № 2.

      2. Снимите двухстороннюю клейкую ленту с жесткой подкладки передней двери № 2.

      3. Удалите остатки клейкой ленты чистящим средством.

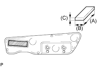
      4. A003WL7E01

        Наложите новую двухстороннюю клейкую ленту на жесткую подкладку передней двери № 2, как показано на рисунке.

        Область Размер
        (A) 80,0 мм (3,150 дюйма)
        (B) 20,0 мм (0,787 дюйма)
        (C) 4,0 мм (0,157 дюйма)
    2. Очистите панель передней двери в сборе.

    3. A003X95E01
      Обозначения на рисунке
      *1 Двухсторонняя клейкая лента

      Введите в зацепление 2 направляющие.

    4. Установите жесткую подкладку передней двери и закрепите 2 болтами.

  28. УСТАНОВИТЕ НАПРАВЛЯЮЩУЮ СТЕКЛА ПЕРЕДНЕЙ ДВЕРИ


    1. A003WDM

      Установите направляющую стекла передней двери.

  29. УСТАНОВИТЕ ЭЛЕКТРОДВИГАТЕЛЬ СТЕКЛОПОДЪЕМНИКА ПЕРЕДНЕЙ ДВЕРИ В СБОРЕ

    Note

    Во время установки электродвигателя стеклоподъемника рычаг стеклоподъемника должен находиться в положении ниже промежуточного.


    1. A003X17

      Установите электродвигатель стеклоподъемника передней двери в сборе и закрепите его 3 винтами с помощью торцевого ключа "TORX" (T25).

      Torque:
      5,4 Н*м  { 55 кгс*см, 48 фунт-сила-дюймов }

      Tech Tips

      В новом механизме стеклоподъемника передней двери применяются самонарезающие винты для нарезания резьбы в новых установочных отверстиях.

  30. УСТАНОВИТЕ СТЕКЛОПОДЪЕМНИК ПЕРЕДНЕЙ ДВЕРИ В СБОРЕ


    1. Нанесите на рабочие поверхности трения стеклоподъемника передней двери в сборе универсальную консистентную смазку.

    2. Заверните болт временного крепления в стеклоподъемник передней двери в сборе.

    3. A003ZJDE02
      Обозначения на рисунке
      *1 Болт временного крепления

      Временно установите стеклоподъемник передней двери в сборе.

    4. Заверните болт временного крепления и 5 болтов, чтобы установить стеклоподъемник передней двери.

      Tech Tips

      Затягивайте болты в порядке, указанном на рисунке.

      Torque:
      8,0 Н*м  { 82 кгс*см, 71 фунт-сила-дюйм }
    5. Подсоедините разъем.

  31. УСТАНОВИТЕ СТЕКЛО ПЕРЕДНЕЙ ДВЕРИ В СБОРЕ


    1. Подсоедините провод к отрицательному (-) выводу аккумуляторной батареи.

    2. Подсоедините главный выключатель электрических стеклоподъемников в сборе и сместите стекло передней двери таким образом, чтобы показались болты стекла двери.

    3. Отсоедините провод от отрицательного вывода (-) аккумуляторной батареи.

      Note

      После подсоединения провода необходимо инициализировать некоторые системы (см. стр. Click here).

    4. Отсоедините главный выключатель электрических стеклоподъемников в сборе.

    5. A003WTFE01

      Вставьте стекло передней двери в панель передней двери вдоль направляющей стекла передней двери в направлении, указанном на рисунке стрелками, и в порядке, показанном на рисунке.

    6. A003ZONE01

      Закрепите стекло передней двери в сборе 2 болтами.

      Torque:
      5,5 Н*м  { 56 кгс*см, 49 фунт-сила-дюймов }

      Tech Tips

      Затягивайте болты в порядке, указанном на рисунке.

    7. A003W2Q

      Установите уплотнительную шайбу.

  32. УСТАНОВИТЕ КРЫШКУ ТЕХНОЛОГИЧЕСКОГО ОТВЕРСТИЯ ПЕРЕДНЕЙ ДВЕРИ


    1. Наложите на панель передней двери бутиловую ленту.

    2. A003VIHE01
      Обозначения на рисунке
      *1 Контрольная точка

      Проденьте трос дистанционного управления замком передней двери в сборе и внутренний трос замка передней двери в сборе через новую крышку технологического отверстия передней двери.

    3. Закрепите крышку технологического отверстия передней двери, используя контрольные точки на панели передней двери.

      Note

      Надежно закрепите крышку технологического отверстия передней двери, не допуская образования складок и пузырьков воздуха.

  33. УСТАНОВИТЕ КРОНШТЕЙН ОБЛИЦОВКИ ПЕРЕДНЕЙ ДВЕРИ (со стороны водителя)


    1. A003XFU

      Закрепите кронштейн облицовки передней двери 2 винтами.

  34. УСТАНОВИТЕ КРОНШТЕЙН ОБЛИЦОВКИ ПЕРЕДНЕЙ ДВЕРИ (со стороны переднего пассажира)


    1. A003XK4

      Закрепите кронштейн облицовки передней двери 2 винтами.

  35. УСТАНОВИТЕ КРОНШТЕЙН ЗАЖИМА ЖГУТА ПРОВОДОВ (для моделей без памяти)


    1. A003X44

      Закрепите кронштейн зажима жгута проводов 2 винтами.

    2. Введите зажим в зацепление.

  36. УСТАНОВИТЕ НАРУЖНОЕ ЗЕРКАЛО ЗАДНЕГО ВИДА В СБОРЕ


    1. Введите в зацепление захват, чтобы предварительно закрепить наружное зеркало заднего вида в сборе.

    2. Установите наружное зеркало заднего вида в сборе и закрепите его 3 гайками.

      Torque:
      5,5 Н*м  { 56 кгс*см, 49 фунт-сила-дюймов }
    3. Для моделей без запоминающего устройства:


      1. Введите зажим в зацепление.

    4. Для моделей с запоминающим устройством:


      1. Введите зажим в зацепление.

        Tech Tips

        Совместив метку на жгуте проводов с зажимом, введите зажим в зацепление.

    5. Подсоедините разъем.

  37. УСТАНОВИТЕ ЗАЩИТУ НАРУЖНОГО ЗЕРКАЛА


    1. A003YB4E01
      Обозначения на рисунке
      *1 Контрольная точка

      Закрепите новую защиту наружного зеркала, используя контрольные точки на панели передней двери.

      Note

      Надежно закрепите защиту наружного зеркала, не допуская образования складок и пузырьков воздуха.

  38. УСТАНОВИТЕ ЗАГЛУШКУ УСТАНОВОЧНОГО ОТВЕРСТИЯ НАРУЖНОГО ЗЕРКАЛА


    1. Введите зажим в зацепление.

      Tech Tips

      Совместив метку на жгуте проводов с зажимом, введите зажим в зацепление.

    2. Введите в зацепление 2 захвата.

    3. Установите заглушку установочного отверстия наружного зеркала и закрепите ее болтом.

  39. УСТАНОВИТЕ ЭБУ ЭЛЕКТРОПРИВОДА НАРУЖНОГО ЗЕРКАЛА В СБОРЕ (для моделей с запоминающим устройством)


    1. Установите ЭБУ электропривода наружного зеркала в сборе и закрепите его 2 винтами.

    2. Подсоедините все разъемы.

  40. УСТАНОВИТЕ ПЕРЕДНИЙ ДИНАМИК № 1 В СБОРЕ


    1. A003X97E01

      Установите передний динамик № 1 и закрепите его 4 болтами.

      Note

      Не прикасайтесь к диффузору динамика.

      Tech Tips

      Затягивайте болты в порядке, указанном на рисунке.

    2. Подсоедините разъем.

  41. УСТАНОВИТЕ ОБЛИЦОВКУ РАМЫ ДВЕРИ


    1. A003VE8

      Установите новую облицовку рамы двери и закрепите ее фиксатором.

  42. УСТАНОВИТЕ УПЛОТНЕНИЕ ОБШИВКИ ПЕРЕДНЕЙ ДВЕРИ


    1. A003Y4H

      Установите уплотнение обшивки передней двери и закрепите 8 фиксаторами.

  43. УСТАНОВИТЕ ЖГУТ ЭЛЕКТРОПРОВОДКИ ПЕРЕДНЕЙ ДВЕРИ В СБОРЕ (для моделей с системой запоминания положений сидений)


    1. A003WUD

      Установите жгут электропроводки передней двери в сборе и закрепите 3 зажимами.

  44. УСТАНОВИТЕ ПЕРЕКЛЮЧАТЕЛЬ ЗАПОМИНАЮЩЕГО УСТРОЙСТВА СИДЕНЬЯ (с системой запоминания положений сидений)


    1. Установите переключатель запоминающего устройства сиденья и закрепите его 4 захватами.

    2. Подсоедините разъем.

  45. УСТАНОВИТЕ ВНУТРЕННИЙ УПЛОТНИТЕЛЬ СТЕКЛА ПЕРЕДНЕЙ ДВЕРИ


    1. A003W69

      Введите в зацепление 8 захватов, чтобы закрепить внутренний уплотнитель стекла передней двери, как показано на рисунке.

  46. УСТАНОВИТЕ ВНУТРЕННЮЮ РУЧКУ ПЕРЕДНЕЙ ДВЕРИ В СБОРЕ


    1. A003X1W

      Установите внутреннюю ручку передней двери в сборе на панель облицовки передней двери в сборе и введите в зацепление захват и 2 направляющих, как показано на рисунке.

  47. УСТАНОВИТЕ ПАНЕЛЬ ОБЛИЦОВКИ ПЕРЕДНЕЙ ДВЕРИ В СБОРЕ (со стороны водителя)


    1. A003VEHE01
      Обозначения на рисунке
      *1 Внутренний трос замка передней двери в сборе
      *2 Трос дистанционного управления замком передней двери в сборе

      Подсоедините трос дистанционного управления замком передней двери в сборе и внутренний трос замка передней двери в сборе.

    2. Для моделей с запоминающими устройствами сидений:


      1. Подсоедините разъем.

    3. A003Z92

      Установите панель облицовки передней двери в сборе и введите в зацепление 11 фиксаторов.

    4. Вверните 2 винта.

    5. Удалите защитную ленту.

  48. УСТАНОВИТЕ КРЫШКУ ПОДЛОКОТНИКА ДВЕРИ (со стороны водителя)


    1. A003W2R

      Установите крышку подлокотника двери.

  49. УСТАНОВИТЕ ГЛАВНЫЙ ВЫКЛЮЧАТЕЛЬ ЭЛЕКТРИЧЕСКИХ СТЕКЛОПОДЪЕМНИКОВ В СБОРЕ С ОПОРНОЙ ПАНЕЛЬЮ ПОДЛОКОТНИКА ПЕРЕДНЕЙ ДВЕРИ (со стороны водителя)


    1. Подсоедините разъем.

    2. A003VBU

      Установите главный выключатель электрических стеклоподъемников в сборе с опорной панелью подлокотника передней двери и закрепите 2 направляющими, 3 фиксаторами и 7 захватами.

  50. УСТАНОВИТЕ ПАНЕЛЬ ОБЛИЦОВКИ ПЕРЕДНЕЙ ДВЕРИ В СБОРЕ (со стороны переднего пассажира)


    1. A003VRFE01
      Обозначения на рисунке
      *1 Внутренний трос замка передней двери в сборе
      *2 Трос дистанционного управления замком передней двери в сборе

      Подсоедините трос дистанционного управления замком передней двери в сборе и внутренний трос замка передней двери в сборе.

    2. A003WPQ

      Установите панель облицовки передней двери в сборе и введите в зацепление 11 фиксаторов.

    3. Вверните 3 винта.

    4. Удалите защитную ленту.

  51. УСТАНОВИТЕ ВЕРХНИЙ ПОРУЧЕНЬ ДВЕРИ В СБОРЕ (со стороны переднего пассажира)


    1. A003VKE

      Установите верхний поручень двери в сборе и введите в зацепление 3 направляющих.

    2. Вверните 2 винта.

  52. УСТАНОВИТЕ НАКЛАДКУ ВЕРХНЕГО ПОРУЧНЯ ДВЕРИ (со стороны переднего пассажира)


    1. A003WHG

      Установите новую накладку верхнего поручня двери и введите в зацепление направляющую и 4 захвата.

  53. УСТАНОВИТЕ ПЕРЕКЛЮЧАТЕЛЬ ЭЛЕКТРИЧЕСКОГО СТЕКЛОПОДЪЕМНИКА В СБОРЕ С ОПОРНОЙ ПАНЕЛЬЮ ПОДЛОКОТНИКА ПЕРЕДНЕЙ ДВЕРИ (со стороны переднего пассажира)


    1. Подсоедините разъем.

    2. A003ZG0

      Установите переключатель электрического стеклоподъемника в сборе с опорной панелью подлокотника передней двери и закрепите 4 направляющими, 3 фиксаторами и 8 захватами.

  54. УСТАНОВИТЕ ОБЛИЦОВКУ КРОНШТЕЙНА НИЖНЕЙ РАМЫ ПЕРЕДНЕЙ ДВЕРИ


    1. A003XX5

      Введите в зацепление зажим и захваты и установите облицовку кронштейна нижней рамы передней двери.

  55. УСТАНОВИТЕ ОПРАВУ ВНУТРЕННЕЙ РУЧКИ ПЕРЕДНЕЙ ДВЕРИ


    1. A003Y8Q

      Введите в зацепление 3 захвата, чтобы установить оправу внутренней ручки передней двери.

  56. ПОДСОЕДИНИТЕ ПРОВОД К ОТРИЦАТЕЛЬНОМУ ВЫВОДУ АККУМУЛЯТОРНОЙ БАТАРЕИ

    Note

    После подсоединения провода необходимо инициализировать некоторые системы (см. стр. Click here).

  57. УСТАНОВИТЕ ВЕРХНЮЮ ПЛАСТИНУ ПАНЕЛИ ЗАДНЕГО ПОЛА № 3


    1. Установите верхнюю пластину панели заднего пола № 3 и введите в зацепление 4 захвата и 2 направляющих.

  58. УСТАНОВИТЕ ПРАВУЮ НАПОЛЬНУЮ КОРОБКУ ПОЛКИ БАГАЖНОГО ОТДЕЛЕНИЯ


    1. Введите в зацепление 6 направляющих.

    2. Установите правую напольную коробку полки багажного отделения и закрепите ее фиксатором.

  59. УСТАНОВИТЕ ПАНЕЛЬ ЗАДНЕГО ПОЛА № 3


    1. Установите панель заднего пола № 3.

  60. УСТАНОВИТЕ НАПОЛЬНУЮ КОРОБКУ ПОЛКИ БАГАЖНОГО ОТДЕЛЕНИЯ


    1. Установите заднюю напольную коробку полки багажного отделения.

  61. УСТАНОВИТЕ ПАНЕЛЬ ЗАДНЕГО ПОЛА № 2


    1. Установите панель заднего пола № 2.

  62. ИНИЦИАЛИЗИРУЙТЕ СИСТЕМУ УПРАВЛЕНИЯ ЭЛЕКТРИЧЕСКИМИ СТЕКЛОПОДЪЕМНИКАМИ

    (см. стр. Click here)