Информация добавлена 08-08-2017
ИЛЛЮСТРАЦИЯ
| *A | для моделей с задними противотуманными фонарями | - | - |
| *1 | ВЫКЛЮЧАТЕЛЬ ОСВЕЩЕНИЯ ПРОЕМА ПЕРЕДНЕЙ ДВЕРИ В СБОРЕ | *2 | ДАТЧИК ПОЛОЖЕНИЯ ПАРКИНГА/НЕЙТРАЛИ В СБОРЕ |
| *3 | ПОВТОРИТЕЛЬ УКАЗАТЕЛЯ ПОВОРОТА В СБОРЕ | *4 | ПРАВАЯ ФАРА В СБОРЕ |
| *5 | ПРАВАЯ ФАРА В СБОРЕ | *6 | ЭЛЕКТРОДВИГАТЕЛЬ УСТРОЙСТВА ПОВОРОТА ФАР |
| *7 | ЭЛЕКТРОДВИГАТЕЛЬ СИСТЕМЫ УПРАВЛЕНИЯ УРОВНЕМ ФАР | *8 | ЭБУ УПРАВЛЕНИЯ ОСВЕЩЕНИЕМ |
| *9 | БЛОК РЕЛЕ МОТОРНОГО ОТСЕКА В СБОРЕ | *10 | РЕЛЕ H-LP LO |
| *11 | РЕЛЕ H-LP HI | *12 | РЕЛЕ FOG RR |
| *13 | РЕЛЕ BKUP LP № 2 | *14 | ПРЕДОХРАНИТЕЛЬ H-LP LH-LO |
| *15 | ПРЕДОХРАНИТЕЛЬ H-LP RH-LO | *16 | ПРЕДОХРАНИТЕЛЬ H-LP HI |
| *17 | ПРЕДОХРАНИТЕЛЬ H-LP LH-HI | *18 | ПРЕДОХРАНИТЕЛЬ H-LP RH-HI |
| *19 | ПРЕДОХРАНИТЕЛЬ FOG RR | *20 | ПРЕДОХРАНИТЕЛЬ STOP |
| *21 | ПРЕДОХРАНИТЕЛЬ TURN&HAZ | *22 | ПРАВАЯ ПРОТИВОТУМАННАЯ ФАРА В СБОРЕ |
| *23 | ECM | *24 | ЛЕВАЯ ПРОТИВОТУМАННАЯ ФАРА В СБОРЕ |
| *25 | ЛЕВАЯ ФАРА В СБОРЕ | *26 | ЛЕВАЯ ФАРА В СБОРЕ |
| *27 | ЭБУ УПРАВЛЕНИЯ ОСВЕЩЕНИЕМ | *28 | ГИДРАВЛИЧЕСКИЙ УСИЛИТЕЛЬ ТОРМОЗНОЙ СИСТЕМЫ В СБОРЕ |
| *29 | ЭБУ СИСТЕМЫ ПРОТИВОСКОЛЬЖЕНИЯ | *30 | Правая сторона |
| *31 | Левая сторона | *32 | БЛОК РЕЛЕ МОТОРНОГО ОТСЕКА № 4 В СБОРЕ |
| *33 | РЕЛЕ DAL | *34 | ЛЕВЫЙ УКАЗАТЕЛЬ ПОВОРОТА В СБОРЕ |
| *35 | ПРАВЫЙ УКАЗАТЕЛЬ ПОВОРОТА В СБОРЕ | *36 | ПРЕДОХРАНИТЕЛЬ DRL |
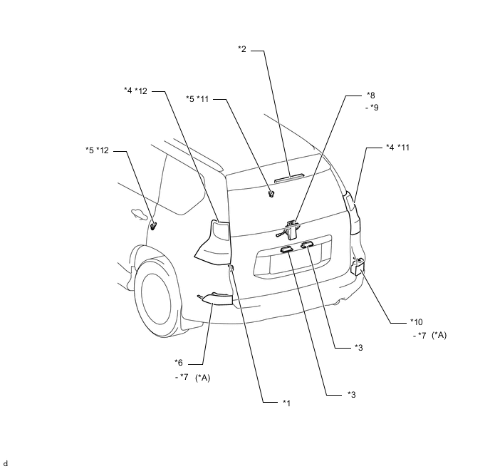
ИЛЛЮСТРАЦИЯ
| *A | для моделей с задними противотуманными фонарями | - | - |
| *1 | ВЫКЛЮЧАТЕЛЬ ОСВЕЩЕНИЯ ПРОЕМА БАГАЖНОЙ ДВЕРИ В СБОРЕ | *2 | ВЕРХНИЙ СТОП-СИГНАЛ В СБОРЕ |
| *3 | ЛАМПА ОСВЕЩЕНИЯ НОМЕРНОГО ЗНАКА В СБОРЕ | *4 | ЗАДНИЕ БЛОКИ ФОНАРЕЙ В СБОРЕ |
| *5 | ВЫКЛЮЧАТЕЛЬ ОСВЕЩЕНИЯ ПРОЕМА ЗАДНЕЙ ДВЕРИ В СБОРЕ | *6 | ЛЕВЫЙ ФОНАРЬ ЗАДНЕГО ХОДА В СБОРЕ |
| *7 | ЗАДНИЕ ПРОТИВОТУМАННЫЕ ФОНАРИ | *8 | ЗАМОК ЗАДНЕГО ОКНА В СБОРЕ |
| *9 | ВЫКЛЮЧАТЕЛЬ ОСВЕЩЕНИЯ ПРОЕМА ЗАДНЕГО СТЕКЛА | *10 | ПРАВЫЙ ФОНАРЬ ЗАДНЕГО ХОДА В СБОРЕ |
| *11 | Правая сторона | *12 | Левая сторона |
ИЛЛЮСТРАЦИЯ
| *1 | ВЫКЛЮЧАТЕЛЬ АВАРИЙНОЙ СИГНАЛИЗАЦИИ В СБОРЕ | *2 | ПЕРЕКЛЮЧАТЕЛЬ СВЕТА ФАР В СБОРЕ |
| *3 | ЭБУ УПРАВЛЕНИЯ СТОП-СИГНАЛАМИ В СБОРЕ | *4 | ВЫКЛЮЧАТЕЛЬ СТОП-СИГНАЛОВ В СБОРЕ |
| *5 | ВЫКЛЮЧАТЕЛЬ ПРОБЛЕСКОВОГО РЕЖИМА УКАЗАТЕЛЯ ПОВОРОТА В СБОРЕ | *6 | ВИТОЙ КАБЕЛЬ С ДАТЧИКОМ В СБОРЕ |
| *7 | ДАТЧИК УГЛА ПОВОРОТА РУЛЕВОГО КОЛЕСА | *8 | ПЕРЕКЛЮЧАТЕЛИ НА РУЛЕВОМ КОЛЕСЕ |
| *9 | ДАТЧИК СИСТЕМЫ АВТОМАТИЧЕСКОГО УПРАВЛЕНИЯ ОСВЕЩЕНИЕМ | *10 | ЩИТОК ПРИБОРОВ В СБОРЕ |
| *11 | ЭБУ УСТРОЙСТВА ПОВОРОТА ФАР | *12 | ЭБУ УПРАВЛЕНИЯ ПОДВЕСКОЙ |
| *13 | ЭБУ ДАТЧИКА СИСТЕМЫ ПОМОЩИ ПРИ ДВИЖЕНИИ | *14 | РАСПРЕДЕЛИТЕЛЬНЫЙ БЛОК СО СТОРОНЫ ВОДИТЕЛЯ В СБОРЕ |
| *15 | РЕЛЕ TAIL | *16 | ПРЕДОХРАНИТЕЛЬ ECU-IG № 1 |
| *17 | РЕЛЕ FR FOG | *18 | ПРЕДОХРАНИТЕЛЬ FR FOG |
| *19 | РЕЛЕ BK/UP | *20 | ПРЕДОХРАНИТЕЛЬ TAIL |
| *21 | ПРЕДОХРАНИТЕЛЬ IG1 | *22 | ПРЕДОХРАНИТЕЛЬ BKUP LP |
| *23 | ГЛАВНЫЙ ЭБУ КУЗОВА (БОРТОВОЙ ЭБУ СЕТИ МУЛЬТИПЛЕКСНОЙ СВЯЗИ) | *24 | DLC3 |