ХЛАДАГЕНТ ЗАМЕНА

Информация добавлена 08-08-2017

ПОРЯДОК ВЫПОЛНЕНИЯ


  1. СОБЕРИТЕ ХЛАДАГЕНТ ИЗ СИСТЕМЫ ОХЛАЖДЕНИЯ


    1. Запустите двигатель.

    2. Установите выключатель системы кондиционирования в положение ON (ВКЛ).

    3. Включите компрессор системы кондиционирования при частоте вращения коленчатого вала двигателя около 1000 об/мин на 5-6 мин, чтобы прокачать хладагент и собрать оставшееся в узлах компрессорное масло в компрессоре.

    4. Выключите двигатель.

    5. Соберите хладагент из системы кондиционирования с помощью установки регенерации хладагента.

  2. ЗАПРАВЬТЕ ХЛАДАГЕНТ

    SST
    09985-20010   ( 09985-02130, 09985-02150, 09985-02090, 09985-02110, 09985-02010, 09985-02050, 09985-02060, 09985-02070 )

    1. Используя вакуумный насос, выполните вакуумную очистку.

    2. Заправьте хладагент HFC-134a (R134a).

      Номинальное значение/Номинальный режим
      Тип системы кондиционирования Блок охлаждения Заправочный объем хладагента
      Для моделей без заднего кондиционера Для моделей без холодильной камеры 550 +/-30 г (19,39 +/-1,05 унции)
      Для моделей с задним кондиционером Для моделей без холодильной камеры 800 +/-30 г (28,21 +/-1,05 унции)
      Для моделей с холодильной камерой 870 +/-30 г (30,68 +/-1,05 унции)*1
      800 +/-30 г (28,21 +/-1,05 унции)*2

      *1: для моделей с 1UR-FE

      *2: для моделей с 1GR-FE

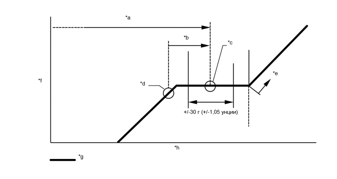
      B001P3JC02
      *a Требуемое количество заправки *b Заправьте 100 г (3,53 унции)
      *c Среднее значение в допустимом диапазоне *d Точка исчезновения пузырьков
      *e Чрезмерное количество *f Высокое давление
      *g Система вспомогательного охлаждения *h Количество хладагента

      Note


      • Не включайте компрессор системы кондиционирования, пока не заправите ее хладагентом, иначе компрессор перегреется, поскольку без хладагента он не может функционировать правильно.

      • Приблизительно 100 г (3,53 унции) После исчезновения пузырьков может потребоваться заправить ... хладагента. В процессе заправки необходимо контролировать количество хладагента, не обращая внимания на смотровое окошко.

  3. ПРОГРЕЙТЕ ДВИГАТЕЛЬ


    1. После заправки хладагента в течение, по крайней мере, 2 мин. прогрейте двигатель при частоте вращения коленчатого вала 1850 об/мин.

      Note

      Во избежание повреждения компрессора при включении системы кондиционирования после снятия и установки трубопроводов хладагента кондиционера (включая компрессор) обязательно прогревайте компрессор.

  4. ПРОВЕРЬТЕ, НЕТ ЛИ УТЕЧЕК ГАЗООБРАЗНОГО ХЛАДАГЕНТА


    1. После заправки газообразного хладагента с помощью галогенного течеискателя проверьте, нет ли утечек хладагента.

    2. Перед проверкой обеспечьте выполнение следующих условий:


      • Выключите двигатель.

      • Обеспечьте хорошую вентиляцию (галогенный течеискатель может реагировать на летучие газы, не являющиеся хладагентом - такие, как пары бензина и отработавшие газы).

      • Испытание необходимо выполнить 2 или 3 раза.

      • Убедитесь в том, что в системе охлаждения осталось некоторое количество хладагента. Показания при выключенном компрессоре: приблизительно 392-588 кПа (4,0-6,0 кгс/см2, 57-85 фунтов на кв. дюйм).

    3. A01A6D2C01
      *1 Галогенный течеискатель
      *a Проверка на наличие утечек

      С помощью галогенного течеискателя проверьте, нет ли утечки из трубопровода хладагента.

    4. Если в сливном шланге утечка газа не обнаруживается, снимите блок управления электродвигателем вентилятора (сопротивление вентилятора) с блока охлаждения. Вставьте датчик галогенного течеискателя в блок и выполните испытание.

    5. Отсоедините разъем и подождите примерно 20 мин. Поднесите галогенный течеискатель к контактному датчику давления и выполните испытание.