СИСТЕМА КОНДИЦИОНИРОВАНИЯ Цепь электромагнитной муфты компрессора системы кондиционирования

Информация добавлена 08-08-2017

ОПИСАНИЕ

Когда блок управления системой кондиционирования включается, через контакт MGC блока управления передается сигнал включения электромагнитной муфты. Затем включается реле A/C COMP системы кондиционирования, управляющее работой электромагнитной муфты.

СХЕМА ЭЛЕКТРИЧЕСКИХ СОЕДИНЕНИЙ


  1. для моделей без системы обогрева ветрового стекла

    A01NC5EE01
  2. для моделей с системой обогрева ветрового стекла

    A01NAM9E01

ПРЕДОСТЕРЕЖЕНИЕ / ПРИМЕЧАНИЕ / УКАЗАНИЕ

Note

Перед выполнением следующей процедуры проверки проверьте предохранители цепей, относящихся к данной системе.

ПОРЯДОК ВЫПОЛНЕНИЯ


  1. ПРОВЕРЬТЕ ТИП АВТОМОБИЛЯ

    Результат
    Результат Перейти к
    для моделей без системы обогрева ветрового стекла А
    для моделей с системой обогрева ветрового стекла B

    B
    А
  2. ПРОВЕРЬТЕ РЕЛЕ ЭЛЕКТРОМАГНИТНОЙ МУФТЫ (A/C COMP)


    1. B001QTQ

      Извлеките реле A/C COMP из блока реле № 1 моторного отсека, распределительного блока.

    2. Измерьте сопротивление в соответствии со значениями, приведенными в таблице ниже.

      Номинальное сопротивление
      Подключение диагностического прибора Условие Заданные условия
      3 - 5 Напряжение аккумуляторной батареи не подается на контакты 1 и 2 10 кОм или более
      Напряжение аккумуляторной батареи подается на контакты 1 и 2 Менее 1 Ом
      Результат
      Результат
      OK
      NG

    NG
    OK
  3. ПРОВЕРЬТЕ КОМПРЕССОР СИСТЕМЫ КОНДИЦИОНИРОВАНИЯ В СБОРЕ


    1. A01NCGCN03

      Снимите компрессор системы кондиционирования в сборе.

      Нажмите здесь Click here

    2. Отсоедините разъем A электромагнитной муфты.

    3. Измерьте сопротивление в соответствии со значениями, приведенными в таблице ниже.

      Номинальное сопротивление
      Подключение диагностического прибора Значение Заданные условия
      3 (MG+) - A-1 Всегда Менее 1 Ом
      3 (MG+) - масса Всегда 10 кОм или более
      Результат
      Результат
      OK
      NG

    NG
    OK
  4. ПРОВЕРЬТЕ ЭЛЕКТРОМАГНИТНУЮ МУФТУ


    1. A01NC6QN04

      Подсоедините разъем A электромагнитной муфты.

    2. Подайте напряжение аккумуляторной батареи на электромагнитную муфту и проверьте ее работу.

      OK
      Условия измерений Заданные условия

      Положительный (+) вывод аккумуляторной батареи → контакт 3 (MG+)

      Отрицательный (-) вывод аккумуляторной батареи → масса кузова

      Раздается звук срабатывания электромагнитной муфты, и происходит блокировка ступицы и ротора.
      Результат
      Результат
      OK
      NG

    NG
    OK
  5. ПРОВЕРЬТЕ ЖГУТ ПРОВОДОВ И РАЗЪЕМ (БЛОК РЕЛЕ № 1 МОТОРНОГО ОТСЕКА, РАСПРЕДЕЛИТЕЛЬНЫЙ БЛОК - АККУМУЛЯТОРНАЯ БАТАРЕЯ)


    1. A01NCJ9C02
      *1 Реле A/C COMP
      *a

      Устройство с извлеченным реле

      (блок реле № 1 моторного отсека, распределительный блок)

      Извлеките реле A/C COMP из блока реле № 1 моторного отсека, распределительного блока.

    2. Измерьте напряжение в соответствии со значениями, приведенными в таблице.

      Номинальное напряжение
      Подключение диагностического прибора Положение переключателя Заданные условия
      Контакт 1 реле A/C COMP - масса Выключатель зажигания в состоянии ON (ВКЛ) (IG) 11-14 В
      Контакт 5 реле A/C COMP - масса Всегда 11-14 В
      Результат
      Результат
      OK
      NG

    NG
    OK
  6. ПРОВЕРЬТЕ ЖГУТ ПРОВОДОВ И РАЗЪЕМ (БЛОК УПРАВЛЕНИЯ СИСТЕМОЙ КОНДИЦИОНИРОВАНИЯ – АККУМУЛЯТОРНАЯ БАТАРЕЯ)


    1. A01NBMWC01
      *a

      Вид спереди разъема со стороны жгута проводов:

      (к блоку управления системой кондиционирования)

      Отсоедините разъем блока управления системой кондиционирования.

    2. Измерьте напряжение в соответствии со значениями, приведенными в таблице.

      Номинальное напряжение
      Контакты для подключения диагностического прибора Положение переключателя Заданные условия
      G13-20 (MGC) - масса Зажигание выключено Менее 1 В
      G13-20 (MGC) - масса Выключатель зажигания в состоянии ON (ВКЛ) (IG) 11-14 В
      Результат
      Результат
      OK
      NG

    NG
    OK
  7. ПРОВЕРЬТЕ ЖГУТ ПРОВОДОВ И РАЗЪЕМ (БЛОК РЕЛЕ № 1 МОТОРНОГО ОТСЕКА, РАСПРЕДЕЛИТЕЛЬНЫЙ БЛОК - КОМПРЕССОР СИСТЕМЫ КОНДИЦИОНИРОВАНИЯ)


    1. Извлеките реле A/C COMP из блока реле № 1 моторного отсека, распределительного блока.

    2. Отсоедините разъем C32 компрессора системы кондиционирования в сборе.

    3. Измерьте сопротивление в соответствии со значениями, приведенными в таблице ниже.

      Номинальное сопротивление
      Подключение диагностического прибора Условие Заданные условия
      Контакт 3 реле A/C COMP - C32-3 (MG+) Всегда Менее 1 Ом
      C32-3 (MG+) - масса Всегда 10 кОм или более
      Результат
      Результат
      OK
      NG

    OK
    NG
  8. ПРОВЕРЬТЕ РЕЛЕ ЭЛЕКТРОМАГНИТНОЙ МУФТЫ


    1. A01NALZE01

      Снимите блок реле моторного отсека № 1.

    2. Измерьте сопротивление в соответствии со значениями, приведенными в таблице ниже.

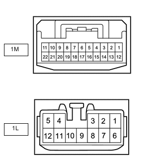
      Номинальное сопротивление
      Контакты для подключения диагностического прибора Условие Заданные условия
      1L-2 - 1L-7 Напряжение аккумуляторной батареи не подается на контакты 1M-15 и 1M-18 10 кОм или более
      Напряжение аккумуляторной батареи подается на контакты 1M-15 и 1M18 Менее 1 Ом
      Результат
      Результат
      OK
      NG

    NG
    OK
  9. ПРОВЕРЬТЕ КОМПРЕССОР СИСТЕМЫ КОНДИЦИОНИРОВАНИЯ В СБОРЕ


    1. A01NCGCN03

      Снимите компрессор системы кондиционирования в сборе.

      Нажмите здесь Click here

    2. Отсоедините разъем A электромагнитной муфты.

    3. Измерьте сопротивление в соответствии со значениями, приведенными в таблице ниже.

      Номинальное сопротивление
      Подключение диагностического прибора Условие Заданные условия
      3 (MG+) - A-1 Всегда Менее 1 Ом
      3 (MG+) - масса Всегда 10 кОм или более
      Результат
      Результат
      OK
      NG

    NG
    OK
  10. ПРОВЕРЬТЕ ЭЛЕКТРОМАГНИТНУЮ МУФТУ


    1. A01NC6QN04

      Подсоедините разъем A электромагнитной муфты.

    2. Подайте напряжение аккумуляторной батареи на электромагнитную муфту и проверьте ее работу.

      OK
      Условия измерений Заданные условия

      Положительный (+) вывод аккумуляторной батареи → контакт 3 (MG+)

      Отрицательный (-) вывод аккумуляторной батареи → масса кузова

      Раздается звук срабатывания электромагнитной муфты, и происходит блокировка ступицы и ротора.
      Результат
      Результат
      OK
      NG

    NG
    OK
  11. ПРОВЕРЬТЕ ЖГУТ ПРОВОДОВ И РАЗЪЕМ (БЛОК РЕЛЕ № 1 МОТОРНОГО ОТСЕКА – АККУМУЛЯТОРНАЯ БАТАРЕЯ)


    1. A01NAYQC02
      *a

      Вид спереди разъема со стороны жгута проводов:

      (к блоку реле № 1 моторного отсека)

      Отсоедините разъем блока реле № 1 моторного отсека.

    2. Измерьте напряжение в соответствии со значениями, приведенными в таблице.

      Номинальное напряжение
      Подключение диагностического прибора Положение переключателя Заданные условия
      1L-7 - масса Зажигание включено (IG) 11-14 В
      Всегда 11-14 В
      Результат
      Результат
      OK
      NG

    NG
    OK
  12. ПРОВЕРЬТЕ ЖГУТ ПРОВОДОВ И РАЗЪЕМ (БЛОК УПРАВЛЕНИЯ СИСТЕМОЙ КОНДИЦИОНИРОВАНИЯ – АККУМУЛЯТОРНАЯ БАТАРЕЯ)


    1. A01NBMWC01
      *a

      Вид спереди разъема со стороны жгута проводов:

      (к блоку управления системой кондиционирования)

      Отсоедините разъем блока управления системой кондиционирования.

    2. Измерьте напряжение в соответствии со значениями, приведенными в таблице.

      Номинальное напряжение
      Подключение диагностического прибора Положение переключателя Заданные условия
      G13-20 (MGC) - масса Зажигание выключено Менее 1 В
      G13-20 (MGC) - масса Зажигание включено (IG) 11 - 14 В
      Результат
      Результат
      OK
      NG

    NG
    OK
  13. ПРОВЕРЬТЕ ЖГУТ ПРОВОДОВ И РАЗЪЕМ (БЛОК РЕЛЕ МОТОРНОГО ОТСЕКА № 1 - КОМПРЕССОР СИСТЕМЫ КОНДИЦИОНИРОВАНИЯ)


    1. Отсоедините разъем 1L блока реле моторного отсека № 1, распределительного блока.

    2. Отсоедините разъем C32 компрессора системы кондиционирования в сборе.

    3. Измерьте сопротивление в соответствии со значениями, приведенными в таблице ниже.

      Номинальное сопротивление
      Подключение диагностического прибора Условие Заданные условия
      1L-2 - C32-3 (MG+) Всегда Менее 1 Ом
      C32-3 (MG+) - масса Всегда 10 кОм или более
      Результат
      Результат
      OK
      NG

    OK
    NG