ЗАМОК ЦЕНТРАЛЬНОГО РЕМНЯ БЕЗОПАСНОСТИ ЗАДНЕГО СИДЕНЬЯ В СБОРЕ (выдвижное сиденье раздельного типа 60/40 с функцией облегчения посадки "Walk-in" с правой стороны) СНЯТИЕ

Информация добавлена 08-08-2017

ПРЕДОСТЕРЕЖЕНИЕ / ПРИМЕЧАНИЕ / УКАЗАНИЕ

CAUTION:

Работайте в защитных перчатках. Острые края деталей могут травмировать руки.

ПОРЯДОК ВЫПОЛНЕНИЯ


  1. СНИМИТЕ ПРАВОЕ ЗАДНЕЕ СИДЕНЬЕ В СБОРЕ


    1. Снимите правое заднее сиденье в сборе (см. стр. Click here).

  2. СНИМИТЕ ЗАМОК РЕМНЯ БЕЗОПАСНОСТИ ЗАДНЕГО СИДЕНЬЯ В СБОРЕ

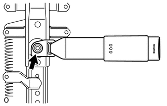
    B001R7V

    1. Отверните гайку и снимите замок ремня.