Click here

ПЕРЕДНИЙ ТОРМОЗ ПОВТОРНАЯ СБОРКА

Click here
Click here

ПРЕДОСТЕРЕЖЕНИЕ / ПРИМЕЧАНИЕ / УКАЗАНИЕ

Tip:
  • Порядок выполнения работ для левой и правой стороны одинаков.

  • Ниже рассмотрен порядок выполнения работ для левой стороны.

Click here

ПОРЯДОК ВЫПОЛНЕНИЯ


  1. Click here

    ВРЕМЕННО УСТАНОВИТЕ ПРОКАЧНОЙ ШТУЦЕР ПЕРЕДНЕГО ДИСКОВОГО ТОРМОЗА


    1. Предварительно установите прокачной штуцер переднего дискового тормоза на колесный тормозной цилиндр дискового тормоза в сборе.

      Tip:

      Прокачной штуцер переднего дискового тормоза затягивается с номинальным моментом затяжки при выполнении операции "Прокачайте трубопровод тормозной системы".

    2. Установите колпачок прокачного штуцера переднего дискового тормоза на прокачной штуцер.

  2. Click here

    УСТАНОВИТЕ УПЛОТНЕНИЕ ПОРШНЯ


    1. A01A56BC01
      *a Гликолевая консистентная смазка на основе литиевого мыла

      Нанесите тонкий слой гликолевой смазки на основе литиевого мыла на всю внутреннюю и всю наружную окружности каждого из 4 новых уплотнений поршней.

    2. Установите 4 уплотнения поршней на цилиндр дискового тормоза.

  3. Click here

    УСТАНОВИТЕ ПОРШЕНЬ ПЕРЕДНЕГО ДИСКОВОГО ТОРМОЗА


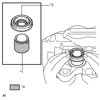
    1. B001UNYC01
      *1 Поршень тормозного цилиндра переднего дискового тормоза
      *2 Защитный колпачок цилиндра
      *a Гликолевая консистентная смазка на основе литиевого мыла

      Нанесите тонкий слой гликолевой консистентной смазки на основе литиевого мыла на всю внутреннюю окружность каждого из 4 новых защитных колпачков тормозного цилиндра.

    2. Нанесите тонкий слой гликолевой консистентной смазки на основе литиевого мыла на всю наружную окружность каждого из 4 поршней тормозного цилиндра переднего дискового тормоза в зонах контакта с защитными колпачками тормозного цилиндра и колесным тормозным цилиндром переднего дискового тормоза.

    3. Установите 4 защитных колпачка цилиндра на 4 поршня переднего дискового тормоза.

    4. Установите 4 поршня тормозного цилиндра переднего дискового тормоза в колесный тормозной цилиндр переднего дискового тормоза.

      Note:

      Не прикладывайте чрезмерных усилий при установке поршня в цилиндр дискового тормоза.

  4. Click here

    УСТАНОВИТЕ ЗАЩИТНЫЙ КОЛПАЧОК ЦИЛИНДРА


    1. A01A2ESC01
      *1 Защитный колпачок цилиндра
      *2 Установочное кольцо переднего дискового тормоза

      Установите одну сторону каждого из 4 защитных колпачков тормозного цилиндра на колесный тормозной цилиндр переднего дискового тормоза.

      Note:
      • Плотно установите защитный колпачок в канавки колесного тормозного цилиндра дискового тормоза и поршня тормозного цилиндра переднего дискового тормоза.

      • Старайтесь не повредить защитный колпачок цилиндра.

  5. Click here

    УСТАНОВИТЕ УСТАНОВОЧНОЕ КОЛЬЦО ПЕРЕДНЕГО ДИСКОВОГО ТОРМОЗА


    1. Установите 4 установочных кольца переднего дискового тормоза.