СИСТЕМА ПОДУШЕК БЕЗОПАСНОСТИ ОПИСАНИЕ СИСТЕМЫ

Информация добавлена 08-08-2017


  1. ОБЩИЕ СВЕДЕНИЯ


    1. В сочетании с ударопоглощающей конструкцией кузова в случае фронтального столкновения, система SRS (дополнительная система (пассивной) безопасности), включающая накладку рулевого колеса, переднюю подушку безопасности пассажира, подушку безопасности для защиты ног № 1 и подушку безопасности для защиты ног № 2, была разработана для дополнения ремней безопасности в случае фронтального столкновения в целях уменьшения травм головы, грудной клетки и ног водителя и переднего пассажира. Система SRS оценивает силу удара во время фронтального столкновения посредством трех датчиков: центрального блока управления системы SRS и двух передних датчиков системы SRS. Она также управляет подушками безопасности и преднатяжителями ремней безопасности.

    2. В целях определения силы удара на начальных стадиях столкновения автомобиль оснащен электрическими датчиками замедления для передних подушек безопасности. В связи с этим, подушка безопасности водителя и передняя подушка безопасности пассажира развертываются в две ступени в зависимости от силы удара.

    3. На случай бокового столкновения предусмотрены боковые подушки безопасности и подушки безопасности занавесочного типа, дополняющие ударопоглощающую конструкцию для защиты от бокового столкновения и помогающие уменьшить энергию удара, передаваемую водителю, переднему пассажиру и задним пассажирам, находящимся возле дверей.

    4. Подушки безопасности занавесочного типа уменьшают силу удара для передних и задних пассажиров. В систему подушек безопасности занавесочного типа входят боковые датчики системы SRS, которые устанавливаются в нижней части передних дверей, и задние датчики системы SRS, которые устанавливаются в нижней части задних стоек кузова.

    5. В данной системе при обнаружении переднего бокового столкновения боковым датчиком системы SRS одновременно разворачиваются боковые подушки безопасности передних сидений и подушки безопасности занавесочного типа. При обнаружении заднего столкновения задним датчиком и центральным блоком управления системы SRS разворачиваются подушки безопасности занавесочного типа.

    6. Центральный блок управления системы SRS передает сигнал развертывания подушек безопасности в ЕСМ через шину CAN (локальная сеть контроллеров), чтобы повлиять на управление топливным насосом.

    7. Центральный блок управления системы SRS передает сигнал развертывания подушек безопасности в главный ЭБУ кузова через цифровую линию, чтобы повлиять на управление разблокировкой дверей при столкновении.

  2. КОНСТРУКЦИЯ И ПРИНЦИП РАБОТЫ


    1. ПЕРЕДНИЙ ДАТЧИК СИСТЕМЫ SRS


      1. Правый и левый датчики системы SRS устанавливаются на правой и левой опорах радиатора.

      2. Передний датчик системы SRS включает датчик замедления.

      3. Датчик замедления встроен в передний датчик системы SRS, и замедление автомобиля при фронтальном столкновении вызывает деформацию датчика, которая преобразуется в электрический сигнал. По этому сигналу можно точно определить силу первоначального столкновения.

    2. БОКОВОЙ ДАТЧИК СИСТЕМЫ SRS


      1. Боковые датчики системы SRS устанавливаются в нижней части соответственно правой и левой передней двери.

      2. Боковой датчик системы SRS включает в себя датчик замедления.

      3. Датчик замедления встроен в боковой датчик системы SRS, и замедление автомобиля при переднем боковом столкновении вызывает деформацию датчика, которая преобразуется в электрический сигнал. По этому сигналу можно точно определить силу первоначального столкновения.

    3. ЗАДНИЙ ДАТЧИК СИСТЕМЫ SRS


      1. Задние датчики системы SRS устанавливаются на правой и левой задних стойках кузова.

      2. Задний датчик системы SRS включает в себя датчик замедления.

      3. Датчик замедления встроен в задний датчик системы SRS, и замедление автомобиля при заднем боковом столкновении вызывает деформацию датчика, которая преобразуется в электрический сигнал. По этому сигналу можно точно определить силу первоначального столкновения.

    4. БОКОВОЙ ДАТЧИК СИСТЕМЫ SRS В ЗАДНЕМ ПОЛУ


      1. Боковой датчик системы SRS в заднем полу установлен в центральной части пола между задними стойками.

      2. Боковой датчик системы SRS в заднем полу включает в себя датчик замедления.

      3. Датчик замедления встроен в боковой датчик системы SRS в заднем полу, и замедление автомобиля при боковом столкновении вызывает деформацию датчика, которая преобразуется в электрический сигнал. По этому сигналу можно точно определить силу первоначального столкновения.

    5. ЦЕНТРАЛЬНЫЙ БЛОК УПРАВЛЕНИЯ СИСТЕМЫ SRS


      1. Общие сведения


        • Центральный блок управления системы SRS установлен в центральной части пола под панелью приборов.

        • Центральный блок управления системы SRS включает датчик замедления, датчик системы безопасности, электронный датчик системы безопасности, цепь управления зажиганием и цепь диагностики.

        • Центральный блок управления системы SRS получает сигналы от датчика замедления и датчика системы безопасности, встроенных в центральный блок управления системы SRS и передние датчики системы SRS. Таким образом, центральный блок управления системы SRS определяет необходимость развертывания накладки рулевого колеса, передней подушки безопасности пассажира, подушки безопасности для защиты ног № 1, подушки безопасности для защиты ног № 2 и преднатяжителей ремней безопасности, а также выполняет диагностику неисправностей системы.

        • При получении сигналов от боковых датчиков системы SRS центральный блок управления системы SRS заставляет развертываться боковые подушки безопасности и подушки безопасности занавесочного типа.

        • Центральный блок управления системы SRS получает сигналы от датчика замедления, электронного датчика системы безопасности, встроенного в центральный блок управления системы SRS, и заднего датчика системы SRS, и определяет необходимость развертывания боковых подушек безопасности задних сидений и подушек безопасности занавесочного типа, а также выполняет диагностику неисправностей системы.

        • Центральный блок управления системы SRS передает сигнал развертывания подушек безопасности в ЕСМ через шину CAN, чтобы повлиять на управление топливным насосом.

        • Центральный блок управления системы SRS передает сигнал развертывания подушек безопасности в главный ЭБУ кузова через цифровую линию, чтобы повлиять на управление разблокировкой дверей при столкновении.

      2. Датчик замедления и цепь управления зажиганием


        • Датчик замедления встроен в центральный блок управления системы SRS.

        • Цепь управления зажиганием выполняет вычисления на основании сигналов, полученных от датчиков замедления центрального блока управления системы SRS и передних датчиков системы SRS. Если вычисленное значение превышает заданное, она задействует зажигание.

      3. Датчик системы безопасности


        • Датчик системы безопасности встроен в центральный блок управления системы SRS. При фронтальном столкновении данный датчик включается и посылает сигнал включения центральному блоку управления системы SRS, если значение замедления, передаваемого к датчику системы безопасности, превышает заданное.

      4. Электронный датчик системы безопасности


        • Электронный датчик системы безопасности встроен в центральный блок управления системы SRS. При боковом столкновении данный датчик включается и посылает сигнал включения центральному блоку управления системы SRS, если значение замедления, передаваемого к электронному датчику системы безопасности, превышает заданное.

      5. Вспомогательный источник питания


        • Вспомогательный источник питания включает конденсатор и преобразователь постоянного тока в постоянный. Если во время столкновения система питания не работает, конденсатор разряжается и подает питание к системам. Преобразователь постоянного тока в постоянный действует как повышающий трансформатор, когда напряжение аккумуляторной батареи падает ниже допустимого уровня.

      6. Цепь диагностики


        • Данная цепь выполняет непрерывную диагностики неисправностей системы. При обнаружении неисправности она включает контрольную лампу аварийного состояния SRS на щитке приборов для информирования водителя.

      7. Цепь памяти


        • При обнаружении неисправности в цепи диагностики она кодируется и сохраняется в цепи памяти.

    6. КОНТРОЛЬНАЯ ЛАМПА АВАРИЙНОГО СОСТОЯНИЯ SRS


      1. Контрольная лампа аварийного состояния SRS находится на щитке приборов. Она предназначена для информирования водителя о наличии неисправности в системе, если в ходе самодиагностики центрального блока управления системы SRS обнаружена неисправность. В нормальных рабочих условиях при включении зажигания (IG), лампа горит в течение примерно 6 секунд, после чего гаснет.

  3. УСЛОВИЯ СРАБАТЫВАНИЯ СИСТЕМЫ SRS

    Если при столкновении автомобиля усилие удара превышает определенную величину, автоматически срабатывает система SRS. Датчик системы безопасности и датчик замедления входят в состав центрального блока управления системы SRS. Датчик системы безопасности рассчитан на срабатывание при меньшей величине замедления по сравнению с датчиком системы SRS.


    1. Центральный блок управления системы SRS определяет необходимость зажигания на основании сигналов от датчика замедления и переднего датчика системы SRS. При одновременном включении датчика системы безопасности на пиропатрон подается ток для активации системы SRS, как показано на рисунке ниже.

      B001QPOE01

      Tech Tips

      В случае фронтального столкновения сигнал зажигания может выдаваться при наличии сигнала включения датчика замедления, даже если сигнал от переднего датчика системы SRS отсутствует.

    2. Центральный блок управления системы SRS определяет необходимость зажигания на основании сигналов от бокового датчика системы SRS. При одновременном включении датчика системы безопасности на пиропатроны подается ток для активации системы SRS, как показано на рисунке ниже.

      A01A5KVE01
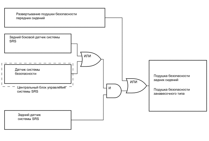
    3. Центральный блок управления системы SRS определяет необходимость зажигания на основании сигналов от бокового и заднего датчиков системы SRS. При одновременном включении датчика системы безопасности на пиропатроны подается ток для активации системы SRS, как показано на рисунке ниже.

      A01A6A4E01
    4. Центральный блок управления системы SRS определяет необходимость зажигания на основании сигналов от заднего датчика системы SRS. При одновременном включении датчика системы безопасности на пиропатроны подается ток для активации системы SRS, как показано на рисунке ниже.

      A01A5XNE01

      Tech Tips

      Если подушка безопасности передних сидений сработает, подушка безопасности занавесочного типа также сработает независимо от того, был ли выдан сигнал заднего датчика системы SRS.