Информация добавлена 08-08-2017
ИЛЛЮСТРАЦИЯ
| *1 | ГЕНЕРАТОР | *2 | ДАТЧИК ПОЛОЖЕНИЯ ПАРКИНГА/НЕЙТРАЛИ В СБОРЕ |
| *3 | ДАТЧИК УРОВНЯ В СБОРЕ | *4 | ЭЛЕКТРОМАГНИТНЫЙ КЛАПАН ГЛАВНОГО ЦИЛИНДРА (ЭБУ СИСТЕМЫ ПРОТИВОСКОЛЬЖЕНИЯ) |
| *5 | БАЧОК ГЛАВНОГО ЦИЛИНДРА В СБОРЕ | *6 | ДАТЧИК УРОВНЯ ТОРМОЗНОЙ ЖИДКОСТИ |
| *7 | ECM | *8 | РАСПРЕДЕЛИТЕЛЬНЫЙ БЛОК, БЛОК РЕЛЕ № 1 МОТОРНОГО ОТСЕКА |
| *9 | ПРЕДОХРАНИТЕЛЬ ECU-B | - | - |
ИЛЛЮСТРАЦИЯ
| *A | для моделей с системой контроля слепых зон | *B | для моделей с 17 динамиками |
| *1 | ВЫКЛЮЧАТЕЛЬ ОСВЕЩЕНИЯ ПРОЕМА БАГАЖНОЙ ДВЕРИ В СБОРЕ | *2 | ЗАМОК ДВЕРИ БАГАЖНОГО ОТДЕЛЕНИЯ В СБОРЕ |
| *3 | ВЫКЛЮЧАТЕЛЬ ОСВЕЩЕНИЯ ПРОЕМА ПЕРЕДНЕЙ ДВЕРИ В СБОРЕ | *4 | ДАТЧИК УРОВНЯ ТОПЛИВА В СБОРЕ |
| *5 | ВЫКЛЮЧАТЕЛЬ ОСВЕЩЕНИЯ ПРОЕМА ЗАДНЕЙ ДВЕРИ В СБОРЕ | *6 | ЗАМОК ЗАДНЕГО ОКНА В СБОРЕ |
| *7 | Правая сторона | *8 | Левая сторона |
| *9 | ПРИЕМНИК И ЭБУ СИСТЕМЫ ПРЕДУПРЕЖДЕНИЯ О НЕНАДЛЕЖАЩЕМ ДАВЛЕНИИ В ШИНАХ | *10 | ЛЕВЫЙ ДАТЧИК СИСТЕМЫ КОНТРОЛЯ СЛЕПЫХ ЗОН |
| *11 | КОМПОНЕНТНЫЙ СТЕРЕОУСИЛИТЕЛЬ В СБОРЕ | - | - |
ИЛЛЮСТРАЦИЯ
| *1 | ВЫКЛЮЧАТЕЛЬ ЗАЖИГАНИЯ | *2 | ВЫКЛЮЧАТЕЛЬ СТОЯНОЧНОГО ТОРМОЗА В СБОРЕ |
| *3 | ВЫКЛЮЧАТЕЛЬ СТОП-СИГНАЛОВ В СБОРЕ | *4 | ЭБУ ПЕРЕДНЕГО СТАБИЛИЗАТОРА |
| *5 | ЭБУ РАСПРЕДЕЛЕНИЯ ПИТАНИЯ | *6 | БЛОК УПРАВЛЕНИЯ СИСТЕМОЙ КОНДИЦИОНИРОВАНИЯ |
| *7 | ДАТЧИК СИСТЕМЫ АВТОМАТИЧЕСКОГО УПРАВЛЕНИЯ ОСВЕЩЕНИЕМ | *8 | ЦЕНТРАЛЬНЫЙ БЛОК УПРАВЛЕНИЯ СИСТЕМЫ SRS |
| *9 | ЭБУ СЕРТИФИКАЦИИ | - | - |
| *a | Установочное положение указано в бюллетене технического обслуживания | - | - |
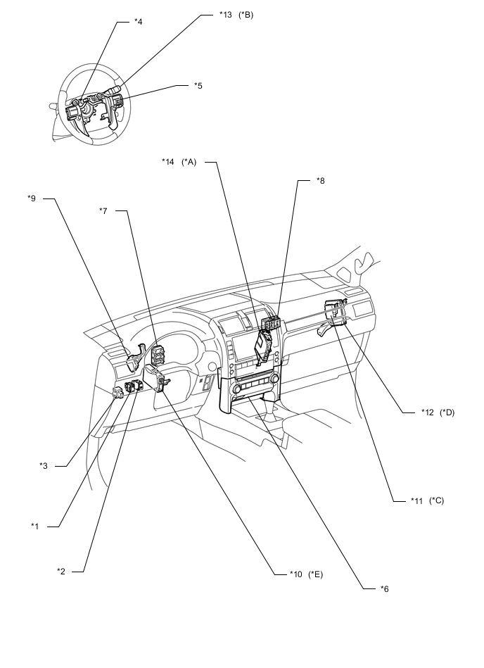
ИЛЛЮСТРАЦИЯ
| *A | для моделей с приемопередатчиком системы обработки и передачи информации | *B | Для моделей с датчиком дождя |
| *C | для моделей с сенсорной системой помощи при парковке LEXUS | *D | для моделей с системой монитора бокового обзора |
| *E | для моделей с предаварийной системой безопасности | - | - |
| *1 | РЕОСТАТ РЕГУЛИРОВКИ ОСВЕЩЕНИЯ | *2 | ПЕРЕКЛЮЧАТЕЛЬ TRIP |
| *3 | ВЫКЛЮЧАТЕЛЬ ПРОБЛЕСКОВОГО РЕЖИМА УКАЗАТЕЛЯ ПОВОРОТА В СБОРЕ | *4 | ВИТОЙ КАБЕЛЬ В СБОРЕ |
| *5 | ПЕРЕКЛЮЧАТЕЛИ НА РУЛЕВОМ КОЛЕСЕ | *6 | ПРИЕМНИК МУЛЬТИМЕДИЙНОГО МОДУЛЯ В СБОРЕ |
| *7 | РАСПРЕДЕЛИТЕЛЬНЫЙ БЛОК № 3 | *8 | РАСПРЕДЕЛИТЕЛЬНЫЙ БЛОК № 4 |
| *9 | ЭБУ УСТРОЙСТВА ПОВОРОТА ФАР | *10 | ЭБУ РЕМНЕЙ БЕЗОПАСНОСТИ |
| *11 | ЭБУ ПРЕДУПРЕЖДЕНИЯ О НЕДОПУСТИМОЙ ДИСТАНЦИИ | *12 | ЭБУ СИСТЕМЫ ПОМОЩИ ПРИ ПАРКОВКЕ |
| *13 | ПЕРЕКЛЮЧАТЕЛЬ СТЕКЛООЧИСТИТЕЛЯ ВЕТРОВОГО СТЕКЛА В СБОРЕ | *14 | ПРИЕМОПЕРЕДАТЧИК СИСТЕМЫ ОБРАБОТКИ И ПЕРЕДАЧИ ИНФОРМАЦИИ |
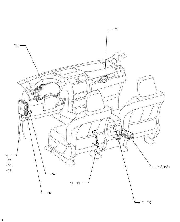
ИЛЛЮСТРАЦИЯ
| *A | Для моделей с 9 динамиками | - | - |
| *1 | ЗАМОК РЕМНЯ БЕЗОПАСНОСТИ ПЕРЕДНЕГО СИДЕНЬЯ В СБОРЕ | *2 | ЩИТОК ПРИБОРОВ В СБОРЕ |
| *3 | ЭБУ ПОЛНОГО ПРИВОДА | *4 | DLC3 |
| *5 | ГЛАВНЫЙ ЭБУ КУЗОВА | *6 | РАСПРЕДЕЛИТЕЛЬНЫЙ БЛОК СО СТОРОНЫ ВОДИТЕЛЯ В СБОРЕ |
| *7 | ПРЕДОХРАНИТЕЛЬ ECU-IG № 2 | *8 | ПРЕДОХРАНИТЕЛЬ GAUGE |
| *9 | ПРЕДОХРАНИТЕЛЬ ACC | *10 | Правая сторона |
| *11 | Левая сторона | *12 | КОМПОНЕНТНЫЙ СТЕРЕОУСИЛИТЕЛЬ В СБОРЕ |
ИЛЛЮСТРАЦИЯ
| *1 | ДАТЧИК ТЕМПЕРАТУРЫ ОХЛАЖДАЮЩЕЙ ЖИДКОСТИ | *2 | КОНТАКТНЫЙ ДАТЧИК ДАВЛЕНИЯ МАСЛА |
| *3 | ДАТЧИК УРОВНЯ МОТОРНОГО МАСЛА | - | - |