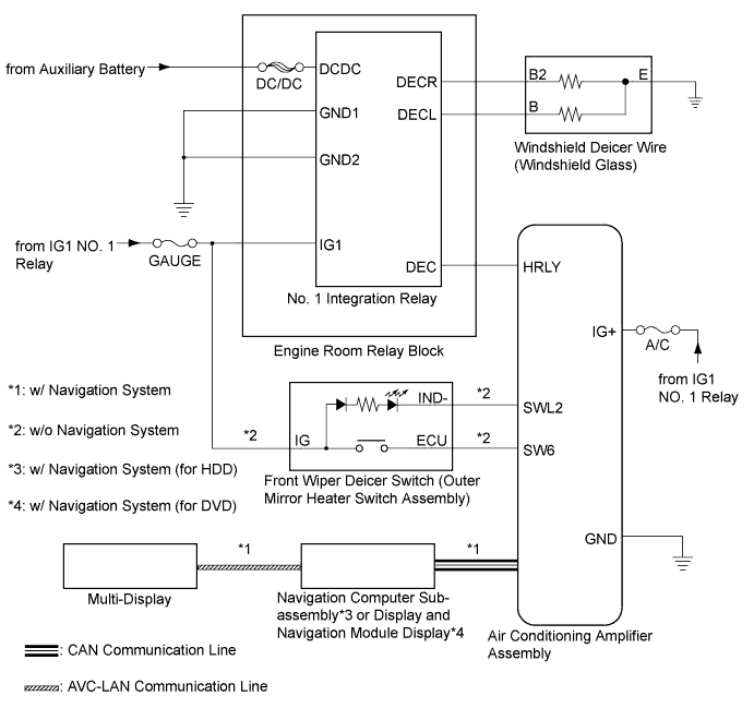
WINDSHIELD DEICER SYSTEM SYSTEM DIAGRAM

A003WR7E02
Communication Table (w/ Navigation System)
Transmitting ECU Receiving ECU Signal Communication Method
Multi-Display

Navigation computer sub-assembly*1

Display and navigation module display*2

Windshield deicer switch signal AVC-LAN

Navigation computer sub-assembly*1

Display and navigation module display*2

Air conditioning amplifier assembly Windshield deicer switch signal CAN