NAVIGATION SYSTEM (for HDD), Diagnostic DTC:B15D8

DTC Code DTC Name
B15D8 Monitor Disconnected

DESCRIPTION

The navigation computer sub-assembly and parking assist ECU are connected by the AVC-LAN communication line.

When an AVC-LAN communication error occurs between the navigation computer sub-assembly and parking assist ECU, this DTC will be stored.

DTC No. DTC Detection Condition Trouble Area
B15D8 A device that is listed in the AVC-LAN connected device record of the master unit is missing.
  • Parking assist ECU power source circuit

  • AVC-LAN circuit between navigation computer sub-assembly and parking assist ECU

  • Parking assist ECU

  • Navigation computer sub-assembly

Tech Tips

The navigation computer sub-assembly is the master unit.

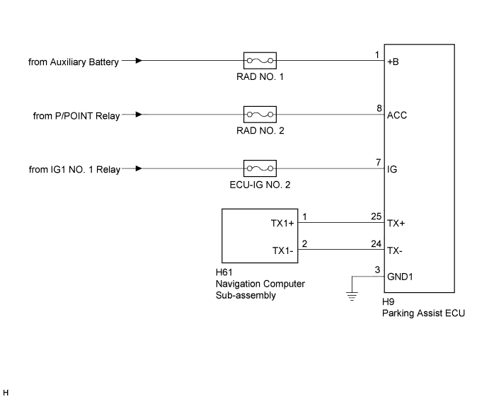
WIRING DIAGRAM

A003XXME23

INSPECTION PROCEDURE

Note


  • When replacing the navigation computer sub-assembly, perform vehicle contract setting (w/ G-BOOK System) Click here.

  • Inspect the fuses for circuits related to this system before performing the following inspection procedure.

PROCEDURE


  1. CHECK OPTIONAL COMPONENTS (INCLUDING ASSOCIATED WIRING)


    1. Check for optional components.


      1. Check that optional components (including associated wiring) which generate radio waves are not installed.

        Result
        Result Proceed to
        Optional components (including associated wiring) are installed. A
        Optional components (including associated wiring) are not installed. B

        Tech Tips


        • Electrical noise from radio waves generated by optional components or the wiring for those components may affect AVC-LAN communication.

        • This DTC may be stored when an AVC-LAN communication error occurs due to electrical noise.


    B
    A
  2. REMOVE OPTIONAL COMPONENTS (INCLUDING ASSOCIATED WIRING)


    1. Remove optional components (including associated wiring).

      Note

      Do not remove optional components or associated wiring without the permission of the customer.


    NEXT
  3. CHECK DTC


    1. Clear the DTCs Click here.

    2. Recheck for DTCs and check if the same DTCs are output again.

      OK
      No DTCs are output.

    NG
    OK
  4. CHECK HARNESS AND CONNECTOR (PARKING ASSIST ECU POWER SOURCE)


    1. Disconnect the H9 parking assist ECU connector.

    2. Measure the resistance according to the value(s) in the table below.

      Standard Resistance
      Tester Connection Condition Specified Condition
      H9-3 (GND1) - Body ground Always Below 1 Ω
    3. Measure the voltage according to the value(s) in the table below.

      Standard Voltage
      Tester Connection Condition Specified Condition
      H9-1 (+B) - H9-3 (GND1) Power switch off 11 to 14 V
      H9-7 (IG) - H9-3 (GND1) Power switch on (IG) 11 to 14 V
      H9-8 (ACC) - H9-3 (GND1) Power switch on (ACC) 11 to 14 V

    NG
    OK
  5. CHECK HARNESS AND CONNECTOR


    1. Disconnect the H9 parking assist ECU connector.

    2. Disconnect the H61 navigation computer sub-assembly connector.

    3. Measure the resistance according to the value(s) in the table below.

      Standard Resistance
      Tester Connection Condition Specified Condition
      H9-25 (TX+) - H61-1 (TX1+) Always Below 1 Ω
      H9-24 (TX-) - H61-2 (TX1-) Always Below 1 Ω
      H9-25 (TX+) - Body ground Always 10 kΩ or higher
      H9-24 (TX-) - Body ground Always 10 kΩ or higher

    NG
    OK
  6. REPLACE PARKING ASSIST ECU


    1. Replace the parking assist ECU Click here.

    2. Clear the DTCs Click here.

    3. Recheck for DTCs and check if the same DTCs are output again.

      OK
      No DTCs are output.

    NG
    OK