ПЕРЕДНИЙ СТАБИЛИЗАТОР ПОПЕРЕЧНОЙ УСТОЙЧИВОСТИ УСТАНОВКА


  1. УСТАНОВИТЕ ЛЕВУЮ ВТУЛКУ ПЕРЕДНЕГО СТАБИЛИЗАТОРА


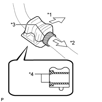
    1. A01J8Y7E01
      Обозначения на рисунке
      *1 Передняя сторона автомобиля
      *2 Внутрь автомобиля
      *3 Стопор
      *4 Кромка пылезащитного уплотнения

      Установите втулку переднего стабилизатора на штангу переднего стабилизатора, как показано на рисунке.

      Note


      • Устанавливайте втулку переднего стабилизатора так, чтобы пылезащитные кромки были обращены наружу автомобиля.

      • Устанавливайте втулку переднего стабилизатора так, чтобы вырезы были обращены к задней части автомобиля.

  2. УСТАНОВИТЕ ПРАВУЮ ВТУЛКУ ПЕРЕДНЕГО СТАБИЛИЗАТОРА

    Tech Tips

    Выполните такую же процедуру, что и для левой стороны.

  3. УСТАНОВИТЕ ПЕРЕДНИЙ СТАБИЛИЗАТОР ПОПЕРЕЧНОЙ УСТОЙЧИВОСТИ


    1. Установите штангу переднего стабилизатора на подрамник передней подвески в сборе так, чтобы идентификационная метка располагалась с правой стороны автомобиля.

      A01JD5ZE01
      Обозначения на рисунке
      *1 Идентификационная метка *2 Передняя сторона автомобиля
      *3 Верхняя часть автомобиля - -
  4. УСТАНОВИТЕ ЛЕВУЮ ПЕРЕДНЮЮ СКОБУ ЭЛЕМЕНТА ПЕРЕДНЕЙ ПОДВЕСКИ


    1. A01J9SEE01
      Обозначения на рисунке
      *1 Выступание

      Установите левую переднюю скобу элемента передней подвески и закрепите ее 4 болтами.

      Torque:
      92 Н*м  { 938 кгс*см, 68 фунт-сила-футов }

      Note


      • Предварительно затяните болт A, а затем полностью затяните 4 болта в следующем порядке: B, C, D и A.

      • После установки левой передней скобы элемента передней подвески убедитесь, что выступ на втулке переднего стабилизатора № 1 выдается наружу.

  5. УСТАНОВИТЕ ПРАВУЮ ПЕРЕДНЮЮ СКОБУ ПЕРЕДНЕЙ ЭЛЕМЕНТА ПОДВЕСКИ


    1. A01JBX3E01
      Обозначения на рисунке
      *1 Выступание

      Установите правую переднюю скобу элемента передней подвески и закрепите ее 4 болтами.

      Torque:
      92 Н*м  { 938 кгс*см, 68 фунт-сила-футов }

      Note


      • Предварительно затяните болт A, а затем полностью затяните 4 болта в следующем порядке: B, C, D и A.

      • После установки правой передней скобы элемента передней подвески убедитесь, что выступ на втулке переднего стабилизатора № 1 выдается наружу.

  6. ВРЕМЕННО ЗАКРЕПИТЕ ЛЕВЫЙ НИЖНИЙ РЫЧАГ ПЕРЕДНЕЙ ПОДВЕСКИ № 1 В СБОРЕ


    1. A01JD4W

      Установите левый нижний рычаг передней подвески № 1 на подрамник передней подвески и предварительно закрепите его 2 болтами и гайкой.

      Note

      Поскольку гайка снабжена фиксатором, не поворачивайте ее. При затягивании болта гайка должна оставаться неподвижной.

  7. ПОДСОЕДИНИТЕ ЛЕВЫЙ НИЖНИЙ РЫЧАГ ПЕРЕДНЕЙ ПОДВЕСКИ № 1 В СБОРЕ


    1. A01JA8N

      Закрепите нижний рычаг передней подвески № 1 в сборе на переднем нижнем шаровом шарнире с помощью болта и 2 гаек.

      Torque:
      89 Н*м  { 908 кгс*см, 66 фунт-сила-футов }
  8. УСТАНОВИТЕ ЛЕВУЮ СТОЙКУ ПЕРЕДНЕГО СТАБИЛИЗАТОРА В СБОРЕ


    1. A01JCDIE01
      Обозначения на рисунке
      *1 Верхняя сторона
      *2 Нижняя сторона

      Установите левую стойку переднего стабилизатора в сборе и закрепите ее 2 гайками.

      Torque:
      74 Н*м  { 755 кгс*см, 55 фунт-сила-футов }

      Tech Tips

      Если шаровой шарнир поворачивается вместе с гайкой, зафиксируйте болт пальца с помощью шестигранного ключа (на 6 мм).

  9. УСТАНОВИТЕ ПРАВУЮ СТОЙКУ ПЕРЕДНЕГО СТАБИЛИЗАТОРА В СБОРЕ

    Tech Tips

    Порядок выполнения работ такой же, как для левой стороны.

  10. УСТАНОВИТЕ ПЕРЕДНИЕ КОЛЕСА

    Torque:
    103 Н*м  { 1050 кгс*см, 76 фунт-сила-футов }
  11. СТАБИЛИЗИРУЙТЕ ПОДВЕСКУ


    1. Опустите автомобиль.

    2. Надавите несколько раз на автомобиль, чтобы стабилизировать подвеску.

  12. ОКОНЧАТЕЛЬНО ЗАКРЕПИТЕ ЛЕВЫЙ НИЖНИЙ РЫЧАГ ПЕРЕДНЕЙ ПОДВЕСКИ № 1 В СБОРЕ


    1. A01JD5WE02

      Полностью затяните болты A и B.

      Torque:
      Болт A
      233 Н*м  { 2376 кгс*см, 172 фунт-сила-фута }
      Болт B
      214 Н*м  { 2182 кгс*см, 158 фунт-сила-футов }

      Note

      Поскольку гайка снабжена фиксатором, не поворачивайте ее. При затягивании болта гайка должна оставаться неподвижной.

  13. УСТАНОВИТЕ ЗАЩИТУ КАРТЕРА ДВИГАТЕЛЯ № 2

  14. УСТАНОВИТЕ ЗАЩИТУ КАРТЕРА ДВИГАТЕЛЯ № 1

  15. ПРОВЕРЬТЕ И ОТРЕГУЛИРУЙТЕ УГЛЫ УСТАНОВКИ ПЕРЕДНИХ КОЛЕС

    Tech Tips

    Проверьте и отрегулируйте углы установки передних колес (см. стр. Click here).