БЛОК ДВИГАТЕЛЯ ПОВТОРНАЯ СБОРКА


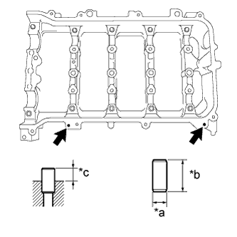
  1. УСТАНОВИТЕ СОЕДИНИТЕЛЬНОЕ КОЛЬЦО КАРТЕРА С РЕБРАМИ ЖЕСТКОСТИ

    A01J8XME06
    Обозначения на рисунке
    *a Ширина
    *b Высота
    *c Высота выступания

    Note

    Снимать соединительное кольцо нужно только в случае его замены.


    1. С помощью пластмассового молотка запрессуйте до упора 2 новых соединительных кольца.

      Стандартное соединительное кольцо
      Параметр / Устройство Высота выступания Высота Ширина
      Соединительное кольцо 3,0 мм (0,118 дюйма) 8 мм (0,315 дюйма) 11 мм (0,433 дюйма)
  2. ВВЕРНИТЕ РЕЗЬБОВУЮ ШПИЛЬКУ КАРТЕРА С РЕБРАМИ ЖЕСТКОСТИ

    A01JARWE09

    Note

    Если шпилька деформирована, или повреждена резьба, замените шпильку.


    1. С помощью торцевого ключа с головкой TORX E6 заверните резьбовые шпильки, как показано на рисунке.

      Torque:
      5,0 Н*м  { 51 кгс*см, 44 фунт-сила-дюйма }
  3. УСТАНОВИТЕ КАРТЕР С РЕБРАМИ ЖЕСТКОСТИ В СБОРЕ


    1. A01J9T4E02

      Нанесите герметик в виде сплошного валика, как показано на рисунке.

      Герметик
      Фирменный герметик Seal Packing Black от компании Toyota, Three bond 1207B или аналогичный
      Номинальный диаметр уплотнения
      Область Заданные условия
      Зона, отмеченная непрерывной линией 2,0 - 3,0 мм (0,0787 - 0,118 дюйма)
      А 4,5 - 5,5 мм (0,177 - 0,217 дюйма)
      Длина A участка нанесения
      56 мм (2,20 дюйма)

      Note


      • Удалите все масло с контактной поверхности.

      • После нанесения герметика в течение 3 мин установите картер и в течение 15 мин затяните болты.

      • Не запускайте двигатель в течение, по крайней мере, 2 часов после установки картера с ребрами жесткости.

    2. A01JBB7E02

      Закрепите картер с ребрами жесткости 11 болтами в последовательности, показанной на рисунке.

      Torque:
      21 Н*м  { 214 кгс*см, 15 фунт-сила-футов }
      Длина болта
      Параметр / Устройство Заданные условия
      Болт A 138 мм (5,43 дюйма)
      Болт B 35 мм (1,38 дюйма)
      Болт C 70 мм (2,76 дюйма)
    3. Повторно проверьте моменты затяжки болтов 1 и 2.

      Torque:
      21 Н*м  { 214 кгс*см, 15 фунт-сила-футов }
    4. Удалите весь лишний герметик куском чистой ткани.

  4. УСТАНОВИТЕ МАСЛЯНЫЙ НАСОС В СБОРЕ


    1. A01JBDL

      Закрепите масляный насос 3 болтами.

      Torque:
      21 Н*м  { 214 кгс*см, 16 фунт-сила-футов }
  5. УСТАНОВИТЕ ПОДДОН КАРТЕРА № 2 В СБОРЕ


    1. Аккуратно удалите остатки старого герметика, следя за тем, чтобы масло не попало на контактные поверхности блока цилиндров и поддона картера.

    2. A01J8NRE06

      Нанесите герметик в виде сплошного валика (диаметр 4,0 мм (0,157 дюйма)), как показано на рисунке.

      Герметик
      Фирменный герметик Seal Packing Black от компании Toyota, Three bond 1207B или аналогичный

      Note


      • Удалите все масло с контактной поверхности.

      • Установите масляный поддон в течение 3 минут после нанесения герметика.

      • Не запускайте двигатель в течение, по крайней мере, 2 часов после установки поддона картера.

    3. A01JC11

      Установите масляной поддон № 2 и закрепите его 10 болтами и 2 гайками.

      Torque:
      10 Н*м  { 102 кгс*см, 7 фунт-сила-футов }
  6. УСТАНОВИТЕ ПРОБКУ СЛИВНОГО ОТВЕРСТИЯ ПОДДОНА КАРТЕРА


    1. A01J8IQ

      Установите новую прокладку и пробку сливного отверстия.

      Torque:
      37 Н*м  { 377 кгс*см, 27 фунт-сила-футов }
  7. УСТАНОВИТЕ ЗАДНИЙ САЛЬНИК КОЛЕНЧАТОГО ВАЛА


    1. Нанесите универсальную консистентную смазку на кромку нового сальника.

      Note

      Не допускайте попадания на кромку посторонних материалов.

    2. A01J8KIE01

      С помощью SST и молотка запрессуйте новый сальник так, чтобы его поверхность была заподлицо с краем стопора заднего сальника.

      SST
      09223-15030
      09950-70010   ( 09951-07100 )

      Note


      • Сотрите с коленчатого вала всю лишнюю консистентную смазку.

      • Не стучите по сальнику, направляя удары под углом.

  8. УСТАНОВИТЕ КОНИЧЕСКУЮ РЕЗЬБОВУЮ ЗАГЛУШКУ № 1


    1. A01JB78E01

      Нанесите герметик-фиксатор на 2 или 3 витка резьбы конической резьбовой заглушки № 1 и установите коническую резьбовую заглушку № 1 (A).

      Torque:
      25 Н*м  { 255 кгс*см, 18 фунт-сила-футов }
      Герметик
      Фирменный герметик 1344 от компании Toyota, Three Bond 1344 или аналогичный

      Note


      • Установите пробку в течение трех минут после нанесения клея.

      • Ни в коем случае не запускайте двигатель в течение 1 часа после установки заглушки.

    2. Нанесите герметик-фиксатор на 2 или 3 витка резьбы конической резьбовой заглушки № 1 и установите коническую резьбовую заглушку № 1 (B).

      Torque:
      43 Н*м  { 439 кгс*см, 32 фунт-сила-фута }
      Герметик
      Фирменный герметик 1324 от компании Toyota, Three Bond 1324 или аналогичный

      Note


      • Установите пробку в течение трех минут после нанесения клея.

      • Ни в коем случае не запускайте двигатель в течение 1 часа после установки заглушки.

  9. УСТАНОВИТЕ САПУН В СБОРЕ


    1. A01J9QJE08
      Обозначения на рисунке
      *1 Герметик

      Нанесите на резьбу сапуна герметик (фиксатор резьбы).

      Герметик-фиксатор
      Фирменный герметик 1324 от компании Toyota, Three Bond 1324 или аналогичный

      Note


      • Сапун в сборе следует установить в течение 3 мин после нанесения герметика.

      • После установки сапуна в сборе не запускайте двигатель, по крайней мере, в течение 2 часов.

    2. A01JB3H

      Установите сапун в сборе.

      Torque:
      20 Н*м  { 204 кгс*см, 15 фунт-сила-футов }
  10. УСТАНОВИТЕ ПРОКЛАДКУ ГОЛОВКИ БЛОКА ЦИЛИНДРОВ


    1. A01JCVVE05
      Текст на рисунке
      *1 Блок цилиндров
      A01JB7D Передняя сторона двигателя

      Нанесите герметик (диаметром 4,0 мм (0,157 дюйма)) на блок цилиндров, как показано на рисунке.

      Герметик
      Фирменный герметик Seal Packing Black от компании Toyota, Three bond 1207B или аналогичный

      Note

      Удалите все масло с блока цилиндров.

    2. A01J8E6E03
      Текст на рисунке
      *a Номер партии
      A01JB7D Передняя сторона двигателя

      Установите новую прокладку головки блока цилиндров на блок цилиндров таким образом, чтобы штамп Lot No. (№ партии) был направлен вверх.

      Note

      Установите прокладку головки блока цилиндров в течение 3 мин после нанесения герметика.

    3. A01J8GQE04
      Текст на рисунке
      *1 Прокладка головки блока цилиндров
      A01JB7D Передняя сторона двигателя

      Нанесите герметик (диаметром 4,0 мм (0,157 дюйма)) на новую прокладку головки блока цилиндров, как показано на рисунке.

      Герметик
      Фирменный герметик Seal Packing Black от компании Toyota, Three bond 1207B или аналогичный

      Note


      • Удалите все масло с прокладки головки блока цилиндров и головки блока цилиндров.

      • После нанесения герметика в течение 3 мин установите прокладку головки блока цилиндров и в течение 15 мин затяните болты.

    4. A01JCGZE02
      Текст на рисунке
      *a Перед вытиранием:
      *b После вытирания:

      После затяжки болтов головки блока цилиндров удалите герметик, который выступил из контакта между головкой блока цилиндров и блоком цилиндров.

  11. УСТАНОВИТЕ ГОЛОВКУ БЛОКА ЦИЛИНДРОВ В СБОРЕ

    Tech Tips

    Болты крепления головки блока цилиндров затягиваются в 3 последовательных этапа.


    1. Установите головку блока цилиндров на блок цилиндров.

      Note


      • Убедитесь в отсутствии масла на установочной поверхности головки блока цилиндров.

      • Устанавливайте головку блока цилиндров осторожно, чтобы не повредить прокладку нижней частью головки.

    2. Поместите под болты головки блока цилиндров плоские шайбы.

    3. Нанесите тонкий слой моторного масла на резьбы и под головки болтов головки блока цилиндров.

    4. A01J93UE02

      Шаг 1:


      1. С помощью 12-гранного гаечного ключа на 10 мм заверните и в несколько приемов равномерно затяните 10 болтов головки блока цилиндров в последовательности, показанной на рисунке.

        Torque:
        49 Н*м  { 500 кгс*см, 36 фунт-сила-футов }

        Note

        Будьте осторожны, чтобы не уронить плоские шайбы в головку блока цилиндров.

    5. A01J8J3E06
      Текст на рисунке
      *a Метка, нанесенная краской
      A01JCQN Передняя сторона двигателя

      Шаг 2:


      1. Краской отметьте все головки болтов головки блока цилиндров, как показано на рисунке.

      2. Затяните болты головок блока цилиндров с поворотом на 90° в той же последовательности, что и в шаге 1.

    6. Шаг 3:


      1. Затяните болты головки блока цилиндров с поворотом на 45° в той же последовательности, что и на шаге 1.

    7. Убедитесь, что все метки, нанесенные краской, располагаются под углом 135° к внешней стороне.

  12. УСТАНОВИТЕ КОЛПАК ШТОКА КЛАПАНА


    1. Нанесите тонкий слой моторного масла на торцы штока клапана.

    2. Установите 16 колпаков штоков клапанов на головку блока цилиндров.

      Note

      Будьте осторожны, чтобы не уронить колпаки штоков клапанов в головку блока цилиндров.

  13. УСТАНОВИТЕ МЕХАНИЗМ РЕГУЛИРОВКИ ЗАЗОРА В ПРИВОДЕ КЛАПАНА В СБОРЕ


    1. Перед установкой каждого механизма регулировки зазора в приводе клапана обязательно проверяйте его (см. стр. Click here).

    2. Установите 16 механизмов регулировки зазора в приводе клапана на головку блока цилиндров.

      Note

      Устанавливайте механизм регулировки зазора в приводе клапана на то же место, откуда он снимался.

  14. УСТАНОВИТЕ РЫЧАГ ПРИВОДА КЛАПАНА № 1 В СБОРЕ


    1. A01JB7BE06
      Обозначения на рисунке
      *1 Рычаг привода клапана
      *2 Механизм регулировки зазора в приводе клапана
      *3 Шток клапана
      *4 Колпак штока клапана

      Нанесите слой моторного масла на выступы механизма регулировки зазора в приводе клапана и торцы колпака штока клапана.

    2. Проверьте, чтобы рычаги приводов клапанов № 1 были установлены, как показано на рисунке.

  15. УСТАНОВИТЕ СТОПОРНЫЙ ШТИФТ КОЖУХА РАСПРЕДВАЛА В СБОРЕ

    A01JA8BE02
    Обозначения на рисунке
    *a Ширина
    *b Высота
    *c Высота выступания

    Note

    Снимать стопорный штифт нужно только в случае его замены.


    1. При помощи пластмассового молотка запрессуйте новый стопорный штифт до указанной величины выступания.

      Стандартный стопорный штифт
      Параметр / Устройство Высота выступания Высота Ширина
      Стопорный штифт 6,5 - 7,5 мм (0,256 - 0,295 дюйма) 14 мм (0,551 дюйма) 6,0 мм (0,236 дюйма)
  16. УСТАНОВИТЕ ПОДШИПНИК РАСПРЕДВАЛА № 1


    1. Очистите обе поверхности подшипников.

    2. Установите 2 подшипника распредвала № 1.

    3. A01J9F5E01
      Обозначения на рисунке
      *1 Штангенциркуль

      С помощью штангенциркуля измерьте расстояние между кромкой крышки подшипника и кромкой подшипника распредвала.

      Номинальный размер (A - B)
      0,7 мм (0,0276 дюйма) или менее

      Note

      Установите подшипники в центре крышки подшипника, измерив размеры A и B.

  17. УСТАНОВИТЕ ФИЛЬТР ГИДРАВЛИЧЕСКОГО КЛАПАНА ИЗМЕНЕНИЯ ФАЗ


    1. A01JCKY

      Убедитесь в отсутствии посторонних материалов на сетке фильтра гидравлического клапана изменения фаз.

    2. Установите фильтр гидравлического клапана изменения фаз.

      Note

      Не касайтесь сетки во время установки фильтра гидравлического клапана изменения фаз.

  18. УСТАНОВИТЕ ПОДШИПНИК РАСПРЕДВАЛА № 2


    1. Очистите обе поверхности подшипников.

    2. Установите 2 подшипника распредвала № 2.

    3. A01JAY3E01
      Обозначения на рисунке
      *1 Штангенциркуль

      С помощью штангенциркуля измерьте расстояние между кромкой крышки подшипника и кромкой подшипника распредвала.

      Номинальный размер (A)
      1,05 - 1,75 мм (0,0413 - 0,0689 дюйма)

      Note

      Установите подшипники в центре крышки подшипника, измерив размер A.

  19. УСТАНОВИТЕ РАСПРЕДВАЛ № 2


    1. Почистите шейки распредвала.

    2. Нанесите тонкий слой моторного масла на шейки распредвала, крышки подшипника и кожуха распредвала.

    3. A01J9P7

      Установите распредвал № 2 в кожух распредвала.

  20. УСТАНОВИТЕ РАСПРЕДВАЛ


    1. Почистите шейки распредвала.

    2. Нанесите тонкий слой моторного масла на шейки распредвала, крышки подшипника и кожуха распредвала.

    3. A01JD4H

      Установите распредвал в кожух распредвала.

  21. УСТАНОВИТЕ КРЫШКУ ПОДШИПНИКА РАСПРЕДВАЛА


    1. Нанесите слой моторного масла на шейки распредвала, крышки подшипника и корпуса распредвала.

    2. A01J8SDE01
      Обозначения на рисунке
      *1 Штифт
      *2 Распредвал

      Проверьте метки и номера на крышках подшипников распредвала и установите их в правильное положение и в нужном направлении.

    3. A01JBLIE01

      Затяните 10 болтов в порядке, указанном на рисунке.

      Torque:
      16 Н*м  { 163 кгс*см, 12 фунт-сила-дюймов }
  22. УСТАНОВИТЕ КОЖУХ РАСПРЕДВАЛА В СБОРЕ


    1. A01JAC8E01
      Обозначения на рисунке
      *1 Колпак штока клапана
      *2 Рычаг привода клапана
      *3 Механизм регулировки зазора в приводе клапана

      Проверьте, чтобы рычаги приводов клапанов были установлены, как показано на рисунке.

    2. A01JAABE01

      Нанесите герметик в виде сплошного валика, как показано на рисунке.

      Герметик
      Фирменный герметик Seal Packing Black от компании Toyota, Three bond 1207B или аналогичный
      Номинальный диаметр уплотнения
      Область Номинальное значение
      Зона, отмеченная непрерывной линией 3,5 - 4,5 мм (0,138 - 0,177 дюйма)
      А 8,0 мм (0,315 дюйма)
      B 7,0 мм (0,276 дюйма)
      Длина A и B нанесения
      15 мм (0,591 дюйма)

      Note


      • Удалите все масло с контактной поверхности.

      • После нанесения герметика в течение 3 мин установите кожух распредвала и в течение 10 мин затяните болты.

      • Не запускайте двигатель в течение 2 часов после установки.

    3. A01J94KE01

      Установите распредвал и распредвал № 2, как показано на рисунке.

    4. Установите кожух распредвала и закрепите его 17 болтами, затянув их в порядке, указанном на рисунке.

      Torque:
      27 Н*м  { 275 кгс*см, 20 фунт-сила-футов }

      Note


      • После установки кожуха распредвала убедитесь, что кулачки клапанов цилиндра расположены, как показано на рисунке.

      • Если во время установки какой-либо из болтов оказался ослабленным, снимите кожух распредвала, очистите установочные поверхности и снова нанесите герметик.

      • Если кожух распредвала был снят из-за того, что во время установки один из болтов оказался ослабленным, убедитесь, что ранее нанесенный герметик не попал в какой-либо из масляных каналов.

      • После установки кожуха распредвала сотрите весь герметик, выступивший между кожухом и головкой блока цилиндров.

  23. УСТАНОВИТЕ ЗВЕЗДОЧКУ РАСПРЕДВАЛА


    1. A01JBBD

      Затяните болт фланца, зафиксировав на месте ведущую звездочку распредвала.

      Torque:
      54 Н*м  { 551 кгс*см, 40 фунт-сила-футов }
  24. УСТАНОВИТЕ ЗУБЧАТОЕ КОЛЕСО РАСПРЕДВАЛА В СБОРЕ


    1. A01JAO8E04
      Обозначения на рисунке
      *1 Стопорный штифт
      *2 Шпоночная канавка

      Состыкуйте зубчатое колесо распредвала и распредвал, не совмещая стопорный штифт со шпоночной канавкой, как показано на рисунке.

      Note

      Не прилагайте чрезмерное усилие при установке зубчатого колеса распредвала. Это может привести к повреждению установочной поверхности зубчатого колеса распредвала концом стопорного штифта распредвала.

    2. A01JA0FE03
      Обозначения на рисунке
      *1 Стопорный штифт
      *2 Шпоночная канавка

      Осторожно прижимая зубчатое колесо распредвала к распредвалу, поворачивайте его, как показано на рисунке. Продвиньте зубчатое колесо дальше так, чтобы штифт вошел в канавку.

      Note

      Будьте осторожны, не поворачивайте зубчатое колесо распредвала в сторону угла запаздывания (по часовой стрелке).

    3. A01JAISE03
      Обозначения на рисунке
      *1 Зубчатое колесо распредвала
      *2 Фланец
      *a Зазор
      *b Отсутствие зазора

      Убедитесь в отсутствии зазора между зубчатым колесом распредвала и фланцем распредвала.

    4. A01J9LC

      Затяните фланцевый болт, зафиксировав на месте зубчатое колесо распредвала.

      Torque:
      54 Н*м  { 551 кгс*см, 40 фунт-сила-футов }
    5. A01J9SVE02
      Обозначения на рисунке
      *a Зафиксируйте

      Убедитесь, что зубчатое колесо распредвала может вращаться в сторону запаздывания (по часовой стрелке) и фиксируется в положении максимального запаздывания.

  25. УСТАНОВИТЕ ШПОНКИ ВЕДУЩЕГО ЗУБЧАТОГО КОЛЕСА КОЛЕНЧАТОГО ВАЛА


    1. A01J905

      Пластмассовым молотком запрессуйте 2 шпонки ведущего зубчатого колеса коленчатого вала.

      Tech Tips

      Запрессуйте шпонки ведущего зубчатого колеса коленчатого вала так, чтобы они касались коленчатого вала, как показано на рисунке.

  26. УСТАНОВИТЕ ЗУБЧАТЫЙ ДИСК ДАТЧИКА ПОЛОЖЕНИЯ КОЛЕНЧАТОГО ВАЛА № 1


    1. A01JA4Z

      Установите зубчатый диск датчика положения коленчатого вала так, чтобы метка "F" была обращена вперед.

  27. УСТАНОВИТЕ ЦЕПЬ № 2 В СБОРЕ


    1. Временно установите болт ведущего колеса привода газораспределения.

    2. A01J8F2

      Проверните коленчатый вал против часовой стрелки так, чтобы шпонка ведущего зубчатого колеса оказалась в положении 9 часов.

    3. Поверните приводной вал так, что вырез был расположен в положении 12 часов.

    4. A01JBYHE02
      Обозначения на рисунке
      *1 Передняя сторона
      *2 Пластина с меткой (желтая)
      *3 Установочная метка
      *4 Ведущая шестерня масляного насоса
      *5 Шестерня приводного вала масляного насоса

      Совместите желтые маркированные звенья с установочными метками на зубчатых колесах, как показано на рисунке.

      Tech Tips

      Проверьте, чтобы пластина с меткой была повернута к передней стороне двигателя.

    5. Установите звездочки на коленчатый вал и вал масляного насоса, надев цепь на зубчатые колеса.

    6. Временно закрепите шестерню приводного вала масляного насоса гайкой.

    7. A01JAN2

      Вставьте пружину успокоителя в регулировочное отверстие, а затем установите пластину натяжителя цепи и закрепите ее болтом.

      Torque:
      10 Н*м  { 102 кгс*см, 7 фунт-сила-футов }
    8. Временно затяните болт шкива коленчатого вала.

    9. A01J9XHE01

      С помощью SST затяните гайку шестерни приводного вала масляного насоса, удерживая шкив коленчатого вала.

      SST
      09213-58014   ( 91551-80840 )
      09330-00021
      Torque:
      28 Н*м  { 286 кгс*см, 21 фунт-сила-фут }
    10. Снимите шкив коленчатого вала и болт.

  28. УСТАНОВИТЕ ВЕДУЩУЮ ЗВЕЗДОЧКУ ЦЕПИ ГРМ НА КОЛЕНЧАТОМ ВАЛУ


    1. A01J9UO

      Установите ведущую звездочку цепи ГРМ на коленчатом валу.

  29. УСТАНОВИТЕ УСПОКОИТЕЛЬ ЦЕПИ № 1


    1. A01J9AT

      Установите успокоитель цепи и закрепите его 2 болтами.

      Torque:
      21 Н*м  { 214 кгс*см, 15 фунт-сила-футов }
  30. УСТАНОВИТЕ ПОРШЕНЬ ЦИЛИНДРА №1 В ВМТ ТАКТА СЖАТИЯ


    1. A01JASCE01
      Обозначения на рисунке
      *1 Шпонка ведущей звездочки

      Временно установите болт ведущего колеса привода газораспределения.

    2. Проверните коленчатый вал так, чтобы шпонка ведущего зубчатого колеса оказалась сверху.

    3. A01J8JQE01
      Обозначения на рисунке
      *1 Синхронизирующая метка (прямоугольник)
      *2 Установочная метка
      *3 Метка (круг)

      Убедитесь, что синхронизирующие метки на зубчатом колесе и ведущей звездочке распредвала совмещены, как показано на рисунке.

      Tech Tips

      На звездочку распределительного вала нанесены 3 метки. Установите синхронизирующую метку (прямоугольник) сверху.

    4. Снимите болт ведущего колеса привода газораспределения.

  31. УСТАНОВИТЕ ЦЕПЬ В СБОРЕ


    1. A01JCY8E01
      Обозначения на рисунке
      *1 Пластина с меткой (оранжевая)
      *2 Синхронизирующая метка (прямоугольник)
      *3 Метка (круг)
      *a Наденьте цепь на звездочку
      *b Пропустите цепь через демпфер

      Совместите пластину с меткой (оранжевую), с установочной меткой как показано на рисунке, и установите цепь.

      Tech Tips


      • На звездочку распределительного вала нанесены 3 метки. Пластина с меткой должна быть совмещена с синхронизирующей меткой (прямоугольником).

      • Проверьте, чтобы пластина с меткой была повернута к передней стороне двигателя.

      • Пластина с меткой со стороны распредвала окрашена в оранжевый цвет.

      • Не пропускайте цепь через зубчатое колесо распредвала. Просто положите ее на звездочку.

      • Пропустите цепь через успокоитель цепи №1.

    2. A01JBCL

      Поместите цепь на коленчатый вал, не пропуская ее вокруг вала.

    3. A01JD0QE04
      Обозначения на рисунке
      *1 Пластина с меткой (оранжевая)
      *2 Установочная метка
      *a Натяните цепь

      Удерживая шестигранный участок распредвала ключом, проверните зубчатое колесо распредвала против часовой стрелки, чтобы совместить пластину с меткой (оранжевую) с установочной меткой, и установите цепь.

    4. Удерживая шестигранную часть распредвала ключом, проверните зубчатое колесо распредвала по часовой стрелке.

      Tech Tips

      Натягивая цепь, медленно вращайте зубчатое колесо распредвала по часовой стрелке, следя за точностью установки цепи.

    5. A01JBMJE06
      Обозначения на рисунке
      *1 Пластина с отметкой (желтая или розовая)
      *2 Установочная метка

      Совместите пластину с отметкой (желтую или розовую) с синхронизирующей меткой и установите цепь на ведущее зубчатое колесо коленчатого вала.

  32. ПРОВЕРЬТЕ ПОРШЕНЬ ЦИЛИНДРА № 1 В ВМТ ТАКТА СЖАТИЯ


    1. Проверьте каждую установочную метку в ВМТ такта сжатия.

      A01J8GRE01
      Обозначения на рисунке
      *1 Установочная метка *2 Пластина с меткой (оранжевая)
      *3 Пластина с отметкой (желтая или розовая) *4 Синхронизирующая метка (прямоугольник)
      *5 Метка (круг) - -

      Tech Tips

      На звездочку распределительного вала нанесены 3 метки. Установите синхронизирующую метку (прямоугольник) сверху.

  33. УСТАНОВИТЕ БАШМАК НАТЯЖИТЕЛЯ ЦЕПИ


    1. A01J99D

      Установите башмак натяжителя цепи на блок цилиндров.

  34. УСТАНОВИТЕ УСПОКОИТЕЛЬ ЦЕПИ № 2


    1. A01JD5M

      Установите успокоитель цепи № 2 и закрепите его 2 болтами.

      Torque:
      10 Н*м  { 102 кгс*см, 7 фунт-сила-футов }
  35. ВВЕРНИТЕ ШПИЛЬКУ ВПУСКНОГО ПАТРУБКА ОХЛАЖДАЮЩЕЙ ЖИДКОСТИ В СБОРЕ

    Note

    Если шпилька деформирована, или повреждена резьба, замените шпильку.


    1. A01J9W3E01

      С помощью торцевого ключа с головкой "TORX" E5 вверните резьбовые шпильки, как показано на рисунке.

      Torque:
      5,0 Н*м  { 51 кгс*см, 44 фунт-сила-дюйма }
  36. УСТАНОВИТЕ ВПУСКНОЙ ПАТРУБОК ОХЛАЖДАЮЩЕЙ ЖИДКОСТИ В СБОРЕ


    1. A01J8ZQ

      Установите новую прокладку и впускной патрубок охлаждающей жидкости в сборе и закрепите их 2 гайками.

      Torque:
      10 Н*м  { 102 кгс*см, 7 фунт-сила-футов }
  37. УСТАНОВИТЕ КРЫШКУ ЦЕПНОГО ПРИВОДА ГАЗОРАСПРЕДЕЛИТЕЛЬНОГО МЕХАНИЗМА В СБОРЕ


    1. Удалите остатки старого герметика (FIPG). Следите за тем, чтобы масло не попало на сопрягающиеся поверхности крышки цепного привода газораспределительного механизма и блока цилиндров.

      A01J9UYE01
    2. A01J8XB

      Установите 3 новых уплотнительных кольца.

    3. Нанесите герметик, как показано на рисунке.

      A01JAP0E01
      Герметик
      Фирменный герметик Seal Packing Black от компании Toyota, Three bond 1207B или аналогичный
      Диаметр уплотнения
      5,0 мм (0,197 дюйма)

      Note


      • Удалите все масло с контактной поверхности.

      • Крышку цепного привода следует установить в течение 3 минут после нанесения герметика.

      • После установки крышки цепного привода газораспределительного механизма не запускайте двигатель, по крайней мере, в течение 2 часов.

    4. Нанесите герметик в виде сплошного валика на крышку цепного привода газораспределительного механизма, как показано на рисунке.

      Note


      • Если контактные поверхности влажные, перед нанесением герметика протрите их тканью, не содержащей масла.

      • После нанесения герметика в течение 3 минут установите крышку цепного привода и в течение 15 минут затяните болты.

      • Не запускайте двигатель в течение 2 часов после установки.

      A01J8LXE01
      Герметик
      Параметр / Устройство Герметик
      Зона, отмеченная пунктирной линией Фирменный герметик Seal Packing Black от компании Toyota, Three bond 1207B или аналогичный
      Зона, отмеченная непрерывной линией
      Зона, отмеченная штрих-пунктирной линией Фирменный герметик Seal Packing 1282B от компании Toyota, Three bond 1282B или аналогичный
      Технические требования по нанесению герметика
      Область Диаметр валика герметика Расстояние от края крышки до: Длина участка нанесения герметика Расстояние от верхнего края крышки до верхней кромки герметика
      Зона, отмеченная пунктирной линией 2,5 - 3,0 мм (0,0984 - 0,118 дюйма)

      Центр участка, покрытого герметиком

      2,5 мм (0,0984 дюйма)

      - -
      Зона, отмеченная непрерывной линией 4,5 - 5,5 мм (0,177 - 0,217 дюйма) или 7,0 - 8,0 мм (0,276 - 0,315 дюйма) - - -
      Зона, отмеченная штрих-пунктирной линией 4,0 мм (0,157 дюйма)

      Центр участка, покрытого герметиком

      3,0 мм (0,118 дюйма)

      - -
      A-A 2,5 - 3,0 мм (0,0984 - 0,118 дюйма)

      Центр участка, покрытого герметиком

      2,5 мм (0,0984 дюйма)

      - -
      B-B 4,5 - 5,5 мм (0,177 - 0,217 дюйма)

      Обратная сторона герметика

      5,0 мм (0,197 дюйма)

      - -
      C-C 7,0 - 8,0 мм (0,276 - 0,315 дюйма)

      Обратная сторона герметика

      7,5 мм (0,295 дюйма)

      - -
      F 4,5 - 5,5 мм (0,177 - 0,217 дюйма) - 15,5 мм (0,610 дюйма) 50,4 мм (1,98 дюйма)
      G 4,5 - 5,5 мм (0,177 - 0,217 дюйма) - 10,3 мм (0,406 дюйма) 143,1 мм (5,63 дюйма)
      H 7,0 - 8,0 мм (0,276 - 0,315 дюйма) - 19,5 мм (0,768 дюйма) 153,4 мм (6,04 дюйма)
      I 4,5 - 5,5 мм (0,177 - 0,217 дюйма) - 16,0 мм (0,630 дюйма) 385,8 мм (1,27 фута)
      J 4,5 - 5,5 мм (0,177 - 0,217 дюйма) - 18,6 мм (0,732 дюйма) 51,4 мм (2,02 дюйма)
      K 4,5 - 5,5 мм (0,177 - 0,217 дюйма) - 25,3 мм (0,996 дюйма) 121,9 мм (4,80 дюйма)
      L 7,0 - 8,0 мм (0,276 - 0,315 дюйма) - 25,8 мм (1,02 дюйма) 147,2 мм (5,80 дюйма)
      M 4,5 - 5,5 мм (0,177 - 0,217 дюйма) - 5,1 мм (0,201 дюйма) 173,0 мм (6,81 дюйма)
      N 4,5 - 5,5 мм (0,177 - 0,217 дюйма) - 14,6 мм (0,575 дюйма) 385,8 мм (1,27 фута)
      O 4,0 мм (0,157 дюйма)

      Центр участка, покрытого герметиком

      3,0 мм (0,118 дюйма)

      - -

      Note


      • Если контактные поверхности влажные, перед нанесением герметика протрите их тканью, не содержащей масла.

      • После нанесения герметика в течение 3 минут установите крышку цепного привода ГРМ и в течение 10 минут затяните болты.

      • После нанесения герметика на крышку цепного привода ГРМ установите в течение 10 минут кронштейн опоры двигателя и кронштейн масляного фильтра.

      • Не добавляйте моторное масло в течение, как минимум, 2 часов после установки.

    5. Очистите болт и отверстие под болт.

    6. Установите крышку цепного привода газораспределительного механизма.

    7. A01J9BG

      Временно закрепите кронштейн правой опоры двигателя 3 болтами.

      Note


      • Установите кронштейн опоры в течение 10 минут после установки крышки цепного привода.

      • Не запускайте двигатель в течение 2 часов после установки.

      Длина болта
      Параметр / Устройство Длина
      Болт 80 мм (3,15 дюйма)
    8. A01JBUV

      Установите 2 новых уплотнительных кольца.

    9. A01JBTN

      Временно установите кронштейн масляного фильтра и наживите 4 болта.

      Note


      • Установите кронштейн масляного фильтра в течение 10 минут после установки крышки цепного привода.

      • Не запускайте двигатель в течение 2 часов после установки.

      Длина болта
      Параметр / Устройство Длина
      Болт 35 мм (1,38 дюйма)
    10. Установите крышку цепного привода ГРМ и уплотнительную шайбу, закрепив их 25 болтами, как показано на рисунке.

      A01JASTE02
      Обозначения на рисунке
      *1 Уплотнительная шайба - -
      Torque:
      Болты A, E, F
      26 Н*м  { 260 кгс*см, 19 фунт-сила-футов }
      Болт B, C
      51 Н*м  { 520 кгс*см, 38 фунт-сила-футов }
      Болт D
      10 Н*м  { 102 кгс*см, 7 фунт-сила-футов }

      Note


      • Нанесите герметик 1324 на резьбовую часть болта F.

      • Если контактные поверхности влажные, перед нанесением герметика протрите их тканью, не содержащей масла.

      • После нанесения герметика в течение 3 минут установите крышку цепного привода и в течение 15 минут затяните болты.

      • Не добавляйте моторное масло, как минимум, в течение 2 часов после установки крышки цепного привода.

      • Не запускайте двигатель в течение, по крайней мере, 2 часов после установки крышки цепного привода.

      Длина болта
      Параметр / Устройство Длина
      Болты A, F 35 мм (1,38 дюйма)
      Болт B 55 мм (2,16 дюйма)
      Болт C 80 мм (3,15 дюйма)
      Болт D 40 мм (1,57 дюйма)
      Болт E 55 мм (2,16 дюйма)
  38. УСТАНОВИТЕ САЛЬНИК КРЫШКИ ЦЕПНОГО ПРИВОДА ГАЗОРАСПРЕДЕЛИТЕЛЬНОГО МЕХАНИЗМА


    1. Нанесите универсальную консистентную смазку на кромку нового сальника.

      Note

      Не допускайте попадания на кромку посторонних материалов.

    2. A01JANZE01

      С помощью специального инструмента и молотка запрессуйте сальник так, чтобы его поверхность оказалась заподлицо с краем стопора переднего сальника.

      SST
      09223-22010

      Note


      • Удалите с коленчатого вала всю лишнюю смазку.

      • Не стучите по сальнику, направляя удары под углом.

  39. УСТАНОВИТЕ ШКИВ КОЛЕНЧАТОГО ВАЛА


    1. Совместите шпонку шкива со шпоночной канавкой шкива.

    2. A01JATRE02
      Обозначения на рисунке
      *a Удерживайте
      *b Поверните

      С помощью SST зафиксируйте шкив на месте и затяните болт.

      SST
      09213-58014   ( 91551-80840 )
      09330-00021
      Torque:
      190 Н*м  { 1937 кгс*см, 140 фунт-сила-футов }
  40. УСТАНОВИТЕ НАТЯЖИТЕЛЬ ЦЕПИ № 1 В СБОРЕ


    1. A01JCWNE02
      Обозначения на рисунке
      *1 Кулачок
      *2 Колпачок
      *3 Крюк
      *a Нажмите
      *b Поднимите
      *c ПРАВИЛЬНО
      *d НЕПРАВИЛЬНО

      Отпустите кулачок, а затем до упора вставьте плунжер и зацепите крюк за штифт с тем, чтобы плунжер оказался в положении, показанном на рисунке.

      Note

      Убедитесь, что кулачок находится в зацеплении с первым зубом плунжера, что позволит крюку пройти через штифт.

    2. A01J8W2

      Установите новую прокладку, кронштейн и натяжитель цепи, закрепив их 2 гайками.

      Torque:
      12 Н*м  { 122 кгс*см, 9 фунт-сила-футов }

      Note

      Если в процессе установки натяжителя цепи произошло освобождение плунжера от крюка, установите крюк повторно.

    3. A01JD28E02
      Обозначения на рисунке
      *1 Колпачок
      *2 Крюк
      *a Нажмите
      *b Поверните
      *c Отсоедините

      Слегка проверните коленчатый вал против часовой стрелки и убедитесь, что крюк отцепился.

    4. A01JA9AE02
      Обозначения на рисунке
      *1 Плунжер
      *a Поверните
      *b Плунжер выдвинут

      Проворачивая коленчатый вал по часовой стрелке, убедитесь, что плунжер выдвигается.

  41. УСТАНОВИТЕ КРЫШКУ МАСЛЯНОГО ФИЛЬТРА В СБОРЕ


    1. Очистите резьбу крышки масляного фильтра и канавку для кольцевого уплотнения.

    2. Нанесите небольшое количество моторного масла на новое уплотнительное кольцо и установите его на крышку масляного фильтра.

    3. Установите новый фильтрующий элемент на крышку масляного фильтра.

    4. Удалите грязь и посторонние материалы с установочных и внутренних поверхностей двигателя.

    5. A01JB9A

      Повторно нанесите небольшое количество моторного масла на кольцевое уплотнение крышки масляного фильтра. Расположите вырез в резьбе крышки масляного фильтра под углом 90° к канавкам в кронштейне масляного фильтра и временно затяните крышку.

      Note

      Соблюдайте осторожность, чтобы не зажать уплотнительное кольцо между деталями.

    6. A01JBOTE02
      Обозначения на рисунке
      *1 Отсутствие зазора
      *2 Фиксатор кронштейна масляного фильтра

      Затяните крышку масляного фильтра с помощью SST.

      Torque:
      25 Н*м  { 255 кгс*см, 18 фунт-сила-футов }
      SST
      09228-06501

      Note


      • Затянув крышку масляного фильтра, проверьте зазор между установочными поверхностями.

      • При установке крышки масляного фильтра не снимайте фиксатор кронштейна масляного фильтра.

      • Снимите крышку масляного фильтра с помощью специального инструмента.

  42. УСТАНОВИТЕ ПРОКЛАДКУ ТРУБКИ СВЕЧНОГО КОЛОДЦА


    1. A01JAUXE04

      Резцом срежьте уплотнительную часть снятой прокладки.

      Обозначения на рисунке
      A01JB8Y Срезная часть
    2. A01JAGQE02
      Обозначения на рисунке
      *1 Прокладка трубки свечного колодца без уплотнения
      *2 Новая прокладка трубки свечного колодца

      С помощью молотка и прокладки трубки свечного колодца со срезанным уплотнением равномерно запрессуйте новую прокладку трубки свечного колодца.

      Note


      • Не допускайте попадания на кромку посторонних частиц.

      • Не следует запрессовывать прокладку трубки свечного колодца.

      Tech Tips

      Если прокладка трубки свечного колодца, которая используется для установки новой прокладки, деформирована и ее не удается поместить на новую прокладку, устраните деформацию плоскогубцами.

    3. Установите захваты отражающей вентиляционной заслонки в исходные положения.

  43. УСТАНОВИТЕ ПРОКЛАДКУ КРЫШКИ ГОЛОВКИ БЛОКА ЦИЛИНДРОВ


    1. A01JAXDE01
      Обозначения на рисунке
      *1 Крышка головки блока цилиндров
      *2 Прокладка крышки головки блока цилиндров

      Установите новую прокладку крышки головки блока цилиндров.

      Note


      • Удалите все масло с контактной поверхности.

      • Отклонение центра ребра крышки головки блока цилиндров от центра выступа прокладки головки блока цилиндров составляет не более 4 мм (0,157 дюйма).

  44. УСТАНОВИТЕ КРЫШКУ ГОЛОВКИ БЛОКА ЦИЛИНДРОВ В СБОРЕ


    1. A01J9WJ

      Установите 2 новых прокладки на крышки подшипников распредвала.

    2. A01JCD7

      Нанесите герметик, как показано на рисунке.

      Герметик
      Фирменный герметик Seal Packing Black от компании Toyota, Three bond 1207B или аналогичный
      Номинальный диаметр
      4,0 мм (0,157 дюйма)

      Note


      • Удалите все масло с контактной поверхности.

      • После нанесения герметика в течение 3 мин установите крышку головки блока цилиндров в сборе и в течение 15 мин затяните болты.

      • Не запускайте двигатель в течение 2 часов после установки.

    3. A01JAM6
      Обозначения на рисунке
      *1 Крышка цепного привода газораспределительного механизма
      *2 Кожух распредвала
      *3 Прокладка крышки головки блока цилиндров

      Установите крышку головки блока цилиндров с новой уплотнительной прокладкой и закрепите 13 болтами.

      Torque:
      10 Н*м  { 102 кгс*см, 7 фунт-сила-футов }

      Note

      Отклонение контактных поверхностей крышки цепного привода газораспределительного механизма и кожуха распредвала и центра выступа прокладки головки блока цилиндров составляет не более 4 мм (0,157 дюйма).

      A01JD13E01
  45. УСТАНОВИТЕ КОНТАКТНЫЙ ДАТЧИК ДАВЛЕНИЯ МОТОРНОГО МАСЛА


    1. A01JAMUE07
      Обозначения на рисунке
      *1 Герметик

      Нанесите герметик на 2-3 витка резьбы контактного датчика давления моторного масла.

      Герметик
      Фирменный герметик 1344 от компании Toyota, Three Bond 1344 или аналогичный

      Note


      • Установите контактный датчик давления масла в течение 3 минут после нанесения герметика.

      • Не запускайте двигатель в течение одного часа после установки.

    2. A01J8HL

      С помощью удлиненной торцевой головки на 24 мм установите контактный датчик давления моторного масла.

      Torque:
      15 Н*м  { 153 кгс*см, 11 фунт-сила-футов }
  46. УСТАНОВИТЕ ДАТЧИК ТЕМПЕРАТУРЫ ОХЛАЖДАЮЩЕЙ ЖИДКОСТИ


    1. A01JA6U

      Установите датчик температуры охлаждающей жидкости с новой прокладкой.

      Torque:
      20 Н*м  { 204 кгс*см, 15 фунт-сила-футов }
  47. УСТАНОВИТЕ ДАТЧИК ДЕТОНАЦИИ


    1. A01J9WCE01

      Закрепите датчик детонации болтом.

      Torque:
      21 Н*м  { 214 кгс*см, 15 фунт-сила-футов }

      Note

      Убедитесь, что датчик детонации установлен в правильном положении.

  48. УСТАНОВИТЕ ДАТЧИК ПОЛОЖЕНИЯ КОЛЕНЧАТОГО ВАЛА


    1. A01JCTC

      Нанесите на кольцевое уплотнение датчика тонкий слой моторного масла.

    2. A01J9HR

      Закрепите датчик положения коленчатого вала болтом.

      Torque:
      10 Н*м  { 102 кгс*см, 7 фунт-сила-футов }
  49. УСТАНОВИТЕ ГИДРАВЛИЧЕСКИЙ КЛАПАН ИЗМЕНЕНИЯ ФАЗ В СБОРЕ


    1. A01JC55

      Нанесите тонкий слой моторного масла на новое кольцевое уплотнение и установите его на гидравлический клапан изменения фаз.

    2. A01JCFI

      Установите гидравлический клапан изменения фаз и закрепите его болтом.

      Torque:
      10 Н*м  { 102 кгс*см, 7 фунт-сила-футов }

      Note


      • Соблюдайте осторожность, чтобы на уплотнительную поверхность гидравлического клапана изменения фаз не попали посторонние частицы (поверхность соприкосновения с крышкой головки блока цилиндров).

      • При установке гидравлического клапана изменения фаз убедитесь, что на кольцевом уплотнении отсутствуют трещины, и следите за тем, чтобы оно не сместилось.

  50. УСТАНОВИТЕ ДАТЧИК ПОЛОЖЕНИЯ РАСПРЕДВАЛА


    1. A01J9DEE06

      Нанесите на кольцевое уплотнение датчика тонкий слой моторного масла.

    2. A01J91O

      Установите датчик положения распредвала и закрепите его болтом.

      Torque:
      10 Н*м  { 102 кгс*см, 7 фунт-сила-футов }

      Note

      При установке датчика проследите, чтобы кольцевое уплотнение не треснуло и не оказалось смятым.

  51. УСТАНОВИТЕ СВЕЧУ ЗАЖИГАНИЯ


    1. A01JA1V

      Установите 4 свечи зажигания с помощью свечного ключа на 14 мм.

      Torque:
      20 Н*м  { 204 кгс*см, 15 фунт-сила-футов }
  52. ВВЕРНИТЕ БОЛТ ШАРНИРА КРЫШКИ ДВИГАТЕЛЯ


    1. A01J8FM

      Вверните 3 болта шарнира крышки двигателя.

      Torque:
      10 Н*м  { 102 кгс*см, 7 фунт-сила-футов }
  53. УСТАНОВИТЕ КРОНШТЕЙН ЗАЖИМА ЖГУТА ПРОВОДОВ


    1. A01JA73

      Установите кронштейн зажима жгута проводов и закрепите его болтом.

      Torque:
      10 Н*м  { 102 кгс*см, 7 фунт-сила-футов }
  54. УСТАНОВИТЕ ПРОКЛАДКУ КРЫШКИ МАСЛОНАЛИВНОЙ ГОРЛОВИНЫ


    1. A01JAQ3

      Установите прокладку на крышку маслоналивной горловины.

  55. УСТАНОВИТЕ КРЫШКУ МАСЛОНАЛИВНОЙ ГОРЛОВИНЫ В СБОРЕ


    1. A01J8UQ

      Установите крышку маслоналивной горловины.