FUEL TANK INSTALLATION


  1. INSTALL FUEL TANK COVER VENT CASE SUB-ASSEMBLY


    1. A003SOB

      Install 2 new fuel tank cover vent case sub-assembly as shown in the illustration.

  2. INSTALL NO. 1 FUEL TANK CUSHION


    1. A003TUPE01
      Text in Illustration
      *1 No. 1 Fuel Tank Cushion

      Install 3 new No. 1 fuel tank cushions as shown in the illustration.

  3. INSTALL NO. 1 CHARCOAL CANISTER OUTLET HOSE


    1. Install the hose clamp and the No. 1 charcoal canister outlet hose to the fuel tank.

  4. INSTALL FUEL TANK ASSEMBLY


    1. Support the fuel tank using an engine lifter.

    2. Raise the engine lifter, then install the fuel tank to the vehicle.

      Note


      • Do not drop the fuel tank.

      • When installing the fuel tank, tilt it slightly to prevent it from interfering with the suspension arm or other surrounding parts.

    3. Tighten the 4 set bolts of the 2 fuel tank bands.

      Torque:
      39 N*m  { 400 kgf*cm, 29 ft.*lbf }
    4. Connect the parking brake cable assembly with the 2 bolts.

      Torque:
      6.0 N*m  { 61 kgf*cm, 53 in.*lbf }
  5. CONNECT FUEL TANK MAIN TUBE SUB-ASSEMBLY


    1. A003SZ3E07
      Text in Illustration
      *1 Lock Cover
      *2 Retainer
      *3 Nylon Tube
      *4 Fuel Tube Connector
      *5 Fuel Pipe
      *6 O-ring
      *a Push

      Align the fuel tube connector with the pipe, push the fuel tube connector in until the retainer makes a "click" sound, then lock the cover of the connector.

      Note


      • Check that there are no scratches or foreign objects around the connected parts of the fuel tube connector and pipe before starting this step.

      • After connecting the fuel tank main tube sub-assembly, check that the fuel tank main tube sub-assembly is securely connected by pulling on the fuel tube connector.

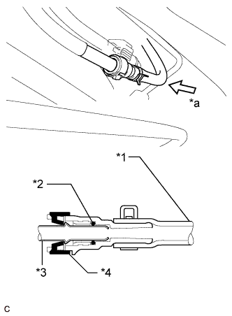
  6. CONNECT NO. 1 FUEL EVAPORATION TUBE SUB-ASSEMBLY


    1. A003T83E06
      Text in Illustration
      *1 Rubber Hose
      *2 O-ring
      *3 Fuel Pipe
      *4 Retainer
      *a Push

      Push in the tube connector to the fuel pipe and install the retainer.

      Note


      • Check if there is any damage or foreign objects on the connected parts of the fuel pipe.

      • After connecting the fuel tube connector and pipe, check if they are securely connected by pulling on them.

  7. CONNECT FUEL TANK TO FILLER PIPE HOSE


    1. A003SE4E02
      Text in Illustration
      *a 120°
      *b Upper Side

      Connect the fuel tank to filler pipe hose to the fuel tank as shown in the illustration, then fit it with the clamp.

  8. CONNECT FUEL TANK BREATHER TUBE


    1. Connect the fuel tank breather tube to the fuel tank.

    2. Connect the No. 1 charcoal canister outlet hose.

      Note

      After connecting the breather tube and No. 1 charcoal canister outlet hose, check that the evaporation vent tube clamp is securely connected to the fuel tank.

  9. INSTALL NO. 1 FUEL TANK PROTECTOR


    1. Install the fuel tank protector sub-assembly with the 3 bolts.

      Torque:
      5.5 N*m  { 56 kgf*cm, 49 in.*lbf }
  10. INSTALL REAR FLOOR SIDE MEMBER BRACE SUB-ASSEMBLY


    1. Install the rear floor side member brace sub-assembly with the 4 bolts and a new clip.

      Torque:
      54 N*m  { 551 kgf*cm, 40 ft.*lbf }
  11. INSTALL REAR FLOOR SIDE MEMBER COVER LH


    1. Install the rear floor side member cover LH with the nut and 2 bolts.

      Torque:
      5.4 N*m  { 55 kgf*cm, 48 in.*lbf }
  12. INSTALL REAR FLOOR SIDE MEMBER COVER RH

    Tech Tips

    Perform the same procedure as for the LH side.

  13. INSTALL FRONT EXHAUST PIPE ASSEMBLY

    Click here

  14. ADD FUEL

  15. INSTALL FUEL SUCTION TUBE ASSEMBLY WITH PUMP AND GAUGE

    Click here