BRAKE BOOSTER PUMP DISPOSAL


  1. DISPOSE OF BRAKE BOOSTER PUMP ASSEMBLY


    1. Remove the accumulator from the brake booster pump assembly.

    2. Secure the accumulator in a vise.

    3. A003RWEE01

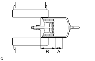
      Using a hacksaw, make a cut in the side of the accumulator at location [A] to release the high-pressure gas.

      Point Area
      A 25 mm (0.984 in.)
      B 60 mm (2.362 in.)

      CAUTION:

      Small pieces of metal may fly out when cutting into the accumulator. Put a piece of cloth over the hacksaw when cutting the accumulator. Cut the accumulator slowly so that the gas will be released gradually.

      Tech Tips

      The gas is colorless, odorless and non-poisonous.