FRONT SIDE FIX WINDOW GLASS REMOVAL


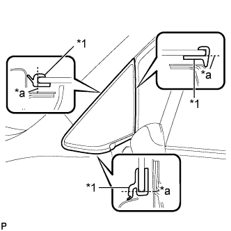
  1. REMOVE FRONT PILLAR GARNISH CORNER PIECE LH


    1. A003UQOE01
      Text in Illustration
      *1 Protective Tape
      *a Guide (A)
      *b Guide (B)

      Apply protective tape to the areas shown in the illustration.

    2. Using a screwdriver, disengage the 5 claws and 2 guides (A).

      Tech Tips

      Tape the screwdriver tip before use.

    3. Disengage the 2 guides (B) and remove the front pillar garnish corner piece LH.

  2. REMOVE FRONT PILLAR GARNISH LH


    1. A003UJZE02
      Text in Illustration
      *1 Front Pillar Garnish Clip

      Pull the upper part of the garnish toward the inside of the cabin and disengage the garnish from the base of the 2 clips.

      Tech Tips

      Make the front pillar garnish LH hang down from the front pillar garnish clip.

    2. A003T7FE01
      Text in Illustration
      *1 Protective Tape

      Turn the end of the front pillar garnish clip 90° with needle-nosed pliers and remove it from the front pillar garnish LH.

      Note


      • Front pillar garnish clips are reusable if they are not removed from the vehicle and have no damage.

      • Replace the front pillar garnish clips with new ones if they are removed from the vehicle.

      Tech Tips

      Tape the tips of the needle-nosed pliers before use.

    3. Disengage the guide at the front end of the front pillar garnish LH and remove it.

    4. A003TFYE02
      Text in Illustration
      *1 Protective Cover
      *2 Curtain Shield Airbag Assembly
      *3 Adhesive Tape

      Protect the curtain shield airbag assembly.

      Protective Cover Size
      X 700 mm (27.56 in.)
      Y 120 mm (4.72 in.)

      1. Cover the airbag with a 700 mm (27.56 in.) x 120 mm (4.72 in.) cloth or piece of nylon and fix the ends of the cover with tape as shown in the illustration.

        Note

        Cover the curtain shield airbag with a protective cover as soon as the front pillar garnish is removed.

  3. REMOVE FRONT SIDE FIX WINDOW ASSEMBLY LH


    1. A003TM8E02
      Text in Illustration
      *1 Protective Tape

      Apply protective tape to the outer surface of the vehicle body to prevent scratches.

      Note

      When separating the quarter window glass from the vehicle, be careful not to damage the vehicle's paint or interior/exterior ornaments.

    2. A003UA6E02
      Text in Illustration
      *1 Moulding
      *a Cut

      Using a knife, cut off the moulding as shown in the illustration.

      Note

      Be careful not to damage the vehicle body with the knife.

    3. Remove the remaining moulding.

      Tech Tips

      Make a partial cut in the moulding. Then pull and remove it by hand.

    4. A003V0ZE03
      Text in Illustration
      *1 Piano Wire

      From the interior, insert a piano wire between the vehicle body and glass as shown in the illustration.

    5. Tie objects that can serve as handles (for example, wooden blocks) to both wire ends.

      Note


      • When separating the glass from the vehicle, be careful not to damage the vehicle's paint or interior/exterior ornaments.

      • To prevent the instrument panel from being scratched when removing the glass, place a plastic sheet between the piano wire and instrument panel.

    6. Cut through the adhesive by pulling the piano wire around the glass.

      Note

      Leave as much adhesive on the vehicle body as possible when cutting through the adhesive.

    7. Disengage the spacer.

    8. Using suction cups, remove the glass.

  4. CLEAN VEHICLE BODY

    A003TDJE07
    Text in Illustration
    *1 Adhesive
    *2 Body

    1. Clean and shape the contact surface of the vehicle body.


      1. On the contact surface of the vehicle body, use a knife to cut away excess adhesive as shown in the illustration.

        Tech Tips

        Leave as much adhesive on the vehicle body as possible.

        Note

        Be careful not to damage the vehicle body.

    2. Clean the contact surface of the vehicle body with cleaner.

      Tech Tips

      Even if all the adhesive has been removed, clean the vehicle body.