CAN COMMUNICATION SYSTEM Check CAN Bus Lines for Short Circuit (RHD Models)

DESCRIPTION

There may be a short circuit in the CAN bus main wire and/or CAN branch wire when the resistance between terminals 6 (CANH) and 14 (CANL) of the DLC3 is below 54 Ω.

Symptom Trouble Area
Resistance between terminals 6 (CANH) and 14 (CANL) of DLC3 is below 54 Ω.
  • Short in CAN bus main wire

  • Short in CAN bus branch wire

  • Power management control ECU

  • ECM

  • Main body ECU

  • Combination meter assembly

  • Skid control ECU (Brake booster with master cylinder assembly)

  • Steering angle sensor

  • Yaw rate and acceleration sensor

  • Power steering ECU

  • Center airbag sensor assembly

  • Transmission control ECU assembly

  • Certification ECU

  • CAN No. 1 junction connector

  • CAN No. 2 junction connector

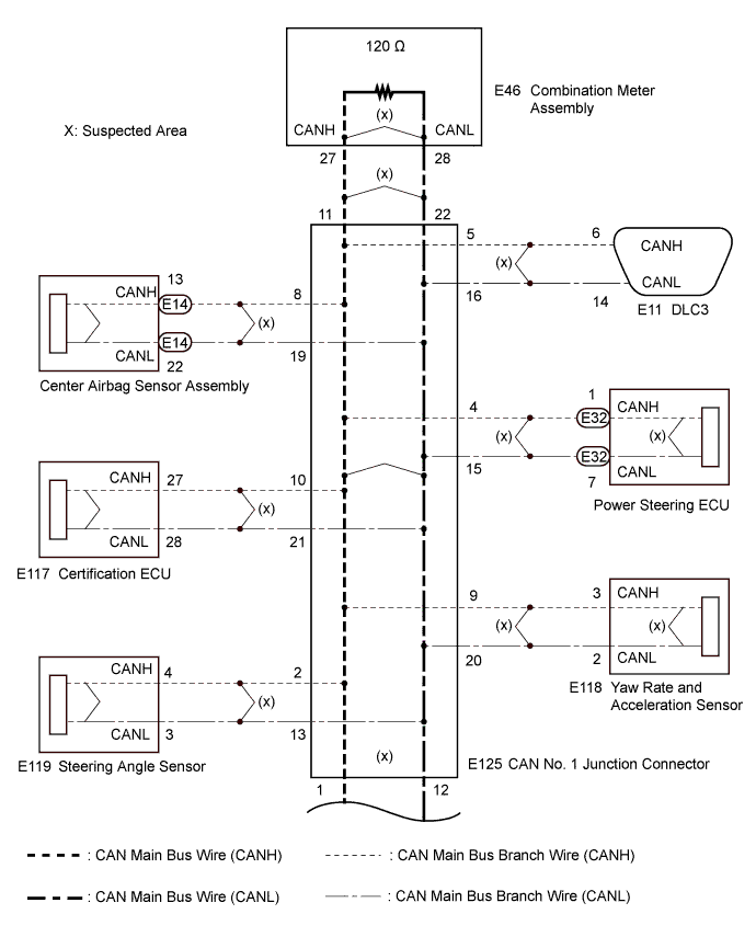
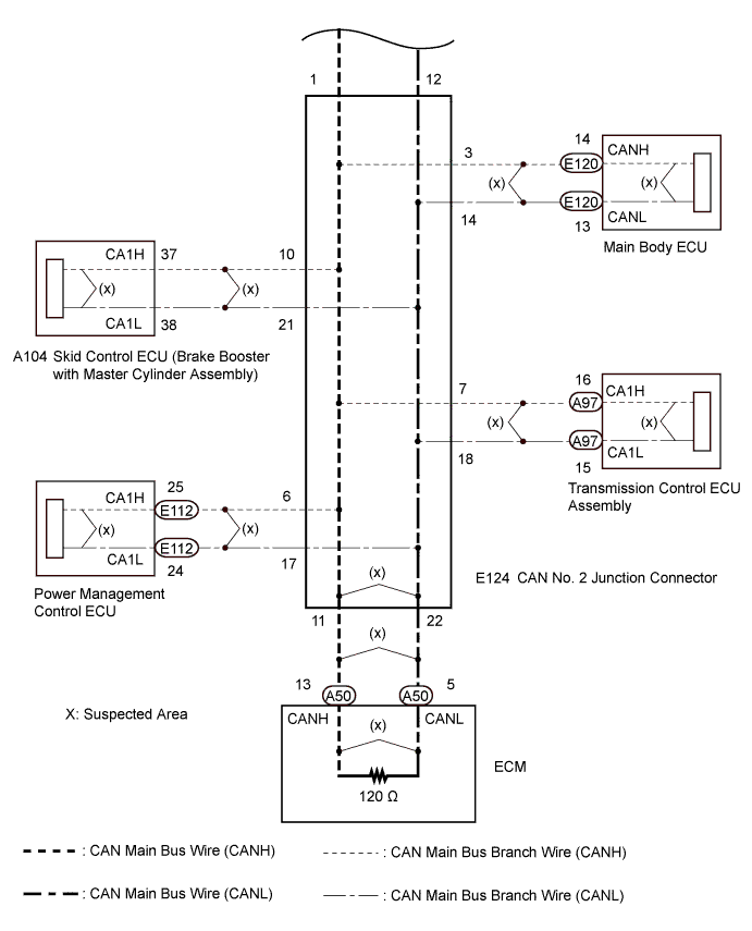
WIRING DIAGRAM

A003UV5E01
A003UU3E01

INSPECTION PROCEDURE

Note


  • Turn the power switch off before measuring the resistances between CAN main bus wires and between CAN main bus branch wires.

  • Turn the power switch off before inspecting CAN bus wires for a ground short.

  • After the power switch is turned off, check that the key reminder warning system and light reminder warning system are not operating.

  • Before measuring the resistance, leave the vehicle as is for at least 1 minute and do not operate the power switch, any other switches or the doors. If any doors need to be opened in order to check connectors, open the doors and leave them open.

Tech Tips


  • Operating the power switch, any other switches or a door triggers related ECU and sensor communication on the CAN. This communication will cause the resistance value to change.

  • Even after DTCs are cleared, if a DTC is stored again after driving the vehicle for a while, the malfunction may be occurring due to vibration of the vehicle. In such a case, wiggling the ECUs or wire harness while performing the inspection below may help determine the cause of the malfunction.

PROCEDURE


  1. CHECK FOR SHORT IN CAN BUS WIRES (CAN NO. 1 J/C - CAN NO. 2 J/C)


    1. Turn the power switch off.

    2. A003RMAE04
      Text in Illustration
      *a

      Front view of wire harness connector

      (to CAN No.1 Junction Connector)

      *b to CAN No. 2 Junction Connector

      Disconnect the CAN No. 1 junction connector.

    3. Measure the resistance according to the value(s) in the table below.

      Standard Resistance
      Tester Connection Switch Condition Specified Condition
      E125-1 (CANH) - E125-12 (CANL) Power switch off 108 to 132 Ω

    NG
    OK
  2. CHECK FOR SHORT IN CAN BUS WIRES (CAN NO. 1 J/C - COMBINATION METER ASSEMBLY)


    1. A003RMAE03
      Text in Illustration
      *a

      Front view of wire harness connector

      (to CAN No. 1 Junction Connector)

      *b to Combination Meter Assembly

      Measure the resistance according to the value(s) in the table below.

      Standard Resistance
      Tester Connection Switch Condition Specified Condition
      E125-11 (CANH) - E125-22 (CANL) Power switch off 108 to 132 Ω

    NG
    OK
  3. CHECK FOR SHORT IN CAN BUS WIRES (CAN NO. 1 J/C - DLC3)


    1. A003RMAE19
      Text in Illustration
      *a

      Front view of wire harness connector

      (to CAN No. 1 Junction Connector)

      *b to DLC3

      Measure the resistance according to the value(s) in the table below.

      Standard Resistance
      Tester Connection Switch Condition Specified Condition
      E125-5 (CANH) - E125-16 (CANL) Power switch off 1 MΩ or higher

    NG
    OK
  4. CHECK FOR SHORT IN CAN BUS WIRES (CAN NO. 1 J/C - STEERING ANGLE SENSOR)


    1. A003RNVE65
      Text in Illustration
      *a

      Front view of wire harness connector

      (to Steering Angle Sensor)

      Disconnect the steering angle sensor connector.

    2. A003RMAE20
      Text in Illustration
      *a

      Front view of wire harness connector

      (to CAN No. 1 Junction Connector)

      *b to Steering Angle Sensor

      Measure the resistance according to the value(s) in the table below.

      Standard Resistance
      Tester Connection Switch Condition Specified Condition
      E125-2 (CANH) - E125-13 (CANL) Power switch off 1 MΩ or higher

    NG
    OK
  5. CHECK FOR SHORT IN CAN BUS WIRES (CAN NO. 1 J/C - POWER STEERING ECU)


    1. A003T2BE28
      Text in Illustration
      *a

      Front view of wire harness connector

      (to Power Steering ECU)

      Disconnect the power steering ECU connector.

    2. A003RMAE21
      Text in Illustration
      *a

      Front view of wire harness connector

      (to CAN No. 1 Junction Connector)

      *b to Power Steering ECU

      Measure the resistance according to the value(s) in the table below.

      Standard Resistance
      Tester Connection Switch Condition Specified Condition
      E125-4 (CANH) - E125-15 (CANL) Power switch off 1 MΩ or higher

    NG
    OK
  6. CHECK FOR SHORT IN CAN BUS WIRES (CAN NO. 1 J/C - YAW RATE AND ACCELERATION SENSOR)


    1. A003U5YE55
      Text in Illustration
      *a

      Front view of wire harness connector

      (to Yaw Rate and Acceleration Sensor)

      Disconnect the yaw rate and acceleration sensor connector.

    2. A003RMAE17
      Text in Illustration
      *a

      Front view of wire harness connector

      (to CAN No. 1 Junction Connector)

      *b to Yaw Rate and Acceleration Sensor

      Measure the resistance according to the value(s) in the table below.

      Standard Resistance
      Tester Connection Switch Condition Specified Condition
      E125-9 (CANH) - E125-20 (CANL) Power switch off 1 MΩ or higher

    NG
    OK
  7. CHECK FOR SHORT IN CAN BUS WIRES (CAN NO. 1 J/C - CERTIFICATION ECU)


    1. A003RI9E08
      Text in Illustration
      *a

      Front view of wire harness connector

      (to Certification ECU)

      Disconnect the certification ECU connector.

    2. A003RMAE18
      Text in Illustration
      *a

      Front view of wire harness connector

      (to CAN No. 1 Junction Connector)

      *b to Certification ECU

      Measure the resistance according to the value(s) in the table below.

      Standard Resistance
      Tester Connection Switch Condition Specified Condition
      E125-10 (CANH) - E125-21 (CANL) Power switch off 1 MΩ or higher

    NG
    OK
  8. CHECK FOR SHORT IN CAN BUS WIRES (CAN NO. 1 J/C - CENTER AIRBAG SENSOR ASSEMBLY)


    1. A003UEME31
      Text in Illustration
      *a

      Front view of wire harness connector

      (to Center Airbag Sensor Assembly)

      Disconnect the center airbag sensor assembly connector.

    2. A003RMAE26
      Text in Illustration
      *a

      Front view of wire harness connector

      (to CAN No. 1 Junction Connector)

      *b to Center Airbag Sensor Assembly

      Measure the resistance according to the value(s) in the table below.

      Standard Resistance
      Tester Connection Switch Condition Specified Condition
      E125-8 (CANH) - E125-19 (CANL) Power switch off 1 MΩ or higher

    NG
    OK
  9. CHECK FOR SHORT IN CAN BUS WIRES (CAN NO. 1 J/C)


    1. Reconnect the CAN No. 1 junction connector.

    2. A003UFPE19
      Text in Illustration
      *1 DLC3

      Measure the resistance according to the value(s) in the table below.

      Standard Resistance
      Tester Connection Switch Condition Specified Condition
      E11-6 (CANH) - E11-14 (CANL) Power switch off 54 to 69 Ω

      Note


      • The resistance must be measured after the main wire connected ECUs (ECM and combination meter assembly), CAN No. 1 junction connector and No. 2 junction connector are reconnected.

      • The resistance must be measured after the CAN No. 1 junction connector branch wire connected ECU and sensor connectors are disconnected.


    NG
    OK
  10. CHECK FOR SHORT IN CAN BUS WIRES (ECU, SENSOR)


    1. A003UFPE19
      Text in Illustration
      *1 DLC3

      Connect the probes of an ohmmeter to terminals 6 (CANH) and 14 (CANL) of the DLC3.

    2. While observing the resistance value shown on the ohmmeter, reconnect each ECU and sensor connector until the resistance becomes abnormal (below 54 Ω).

      Tech Tips

      If the resistance becomes abnormal when an ECU connector is reconnected, there may be a short in the ECU.


    NEXT
  11. CHECK FOR SHORT IN CAN BUS WIRES (CAN NO. 2 J/C - CAN NO. 1 J/C)


    1. Reconnect the CAN No. 1 junction connector.

    2. A003RMAE06
      Text in Illustration
      *a

      Front view of wire harness connector

      (to CAN No. 2 Junction Connector)

      *b to CAN No. 1 Junction Connector

      Disconnect the CAN No. 2 junction connector.

    3. Measure the resistance according to the value(s) in the table below.

      Standard Resistance
      Tester Connection Switch Condition Specified Condition
      E124-1 (CANH) - E124-12 (CANL) Power switch off 108 to 132 Ω

    NG
    OK
  12. CHECK FOR SHORT IN CAN BUS WIRES (CAN NO. 2 J/C - ECM)


    1. A003RMAE07
      Text in Illustration
      *a

      Front view of wire harness connector

      (to CAN No. 2 Junction Connector)

      *b to ECM

      Measure the resistance according to the value(s) in the table below.

      Standard Resistance
      Tester Connection Switch Condition Specified Condition
      E124-11 (CANH) - E124-22 (CANL) Power switch off 108 to 132 Ω

    NG
    OK
  13. CHECK FOR SHORT IN CAN BUS WIRES (CAN NO. 2 J/C - SKID CONTROL ECU)


    1. A003UTKE51
      Text in Illustration
      *a

      Front view of wire harness connector

      (to Skid Control ECU)

      Disconnect the skid control ECU (brake booster with master cylinder assembly) connector.

    2. A003RMAE22
      Text in Illustration
      *a

      Front view of wire harness connector

      (to CAN No. 2 Junction Connector)

      *b to Skid Control ECU

      Measure the resistance according to the value(s) in the table below.

      Standard Resistance
      Tester Connection Switch Condition Specified Condition
      E124-10 (CANH) - E124-21 (CANL) Power switch off 1 MΩ or higher

    NG
    OK
  14. CHECK FOR SHORT IN CAN BUS WIRES (CAN NO. 2 J/C - POWER MANAGEMENT CONTROL ECU)


    1. A003UKVE19
      Text in Illustration
      *a

      Rear view of wire harness connector

      (to Power Management Control ECU)

      Disconnect the power management control ECU connector.

    2. A003RMAE23
      Text in Illustration
      *a

      Front view of wire harness connector

      (to CAN No. 2 Junction Connector)

      *b to Power Management Control ECU

      Measure the resistance according to the value(s) in the table below.

      Standard Resistance
      Tester Connection Switch Condition Specified Condition
      E124-6 (CANH) - E124-17 (CANL) Power switch off 1 MΩ or higher

    NG
    OK
  15. CHECK FOR SHORT IN CAN BUS WIRES (CAN NO. 2 J/C - TRANSMISSION CONTROL ECU ASSEMBLY)


    1. A003U7QE09
      Text in Illustration
      *a

      Front view of wire harness connector

      (to Transmission Control ECU Assembly)

      Disconnect the transmission control ECU assembly connector.

    2. A003RMAE24
      Text in Illustration
      *a

      Front view of wire harness connector

      (to CAN No. 2 Junction Connector)

      *b to Transmission Control ECU Assembly

      Measure the resistance according to the value(s) in the table below.

      Standard Resistance
      Tester Connection Switch Condition Specified Condition
      E124-7 (CANH) - E124-18 (CANL) Power switch off 1 MΩ or higher

    NG
    OK
  16. CHECK FOR SHORT IN CAN BUS WIRES (CAN NO. 2 J/C - MAIN BODY ECU)


    1. A003UT0E08
      Text in Illustration
      *a

      Front view of wire harness connector

      (to Main Body ECU)

      Disconnect the main body ECU connector.

    2. A003RMAE12
      Text in Illustration
      *a

      Front view of wire harness connector

      (to CAN No. 2 Junction Connector)

      *b to Main Body ECU

      Measure the resistance according to the value(s) in the table below.

      Standard Resistance
      Tester Connection Switch Condition Specified Condition
      E124-3 (CANH) - E124-14 (CANL) Power switch off 1 MΩ or higher

    NG
    OK
  17. CHECK FOR SHORT IN CAN BUS WIRES (CAN NO. 2 J/C)


    1. Reconnect the CAN No. 2 junction connector.

    2. A003UFPE19
      Text in Illustration
      *1 DLC3

      Measure the resistance according to the value(s) in the table below.

      Standard Resistance
      Tester Connection Switch Condition Specified Condition
      E11-6 (CANH) - E11-14 (CANL) Power switch off 54 to 69 Ω

      Note


      • The resistance must be measured after the main wire connected ECUs (ECM and combination meter assembly), CAN No. 1 junction connector and No. 2 junction connector are reconnected.

      • The resistance must be measured after the CAN No. 2 junction connector branch wire connected ECU and sensor connectors are disconnected.


    NG
    OK
  18. CHECK FOR SHORT IN CAN BUS WIRES (ECU, SENSOR)


    1. A003UFPE19
      Text in Illustration
      *1 DLC3

      Connect the probes of an ohmmeter to terminals 6 (CANH) and 14 (CANL) of the DLC3.

    2. While observing the resistance value shown on the ohmmeter, reconnect each ECU and sensor connector until the resistance becomes abnormal (below 54 Ω).

      Tech Tips

      If the resistance becomes abnormal when an ECU connector is reconnected, there may be a short in the ECU.


    NEXT
  19. CHECK FOR SHORT IN CAN BUS WIRES (COMBINATION METER ASSEMBLY)


    1. A003RT3E63
      Text in Illustration
      *a

      Front view of wire harness connector

      (to Combination Meter Assembly)

      Disconnect the combination meter assembly connector.

    2. A003RMAE03
      *a

      Front view of wire harness connector

      (to CAN No. 1 Junction Connector)

      *b to Combination Meter Assembly

      Measure the resistance according to the value(s) in the table below.

      Standard Resistance
      Tester Connection Switch Condition Specified Condition
      E125-11 (CANH) - E125-22 (CANL) Power switch off 1 MΩ or higher

    NG
    OK
  20. CHECK FOR SHORT IN CAN BUS WIRES (ECM)


    1. A003UJ4E44
      Text in Illustration
      *a

      Front view of wire harness connector

      (to ECM)

      Disconnect the ECM connector.

    2. A003RMAE07
      *a

      Front view of wire harness connector

      (to CAN No. 2 Junction Connector)

      *b to ECM

      Measure the resistance according to the value(s) in the table below.

      Standard Resistance
      Tester Connection Switch Condition Specified Condition
      E124-11 (CANH) - E124-22 (CANL) Power switch off 1 MΩ or higher

    NG
    OK