CAN COMMUNICATION SYSTEM Steering Angle Sensor Communication Stop Mode

DESCRIPTION

Detection Item Symptom Trouble Area
Steering Angle Sensor Communication Stop Mode
  • "Steering Angle Sensor" is not displayed on the "Communication Bus Check" screen of the intelligent tester.

  • Applies to Steering Angle Sensor Communication Stop Mode in DTC Combination Table.


  • Steering angle sensor branch wire or connector

  • Power source circuit of steering angle sensor

  • Steering angle sensor

WIRING DIAGRAM

A003UTTE01
A003UZ2E01

INSPECTION PROCEDURE

Note


  • Turn the power switch off before measuring the resistances between CAN main bus wires and between CAN main bus branch wires.

  • Turn the power switch off before inspecting CAN bus wires for a ground short.

  • After the power switch is turned off, check that the key reminder warning system and light reminder warning system are not operating.

  • Before measuring the resistance, leave the vehicle as is for at least 1 minute and do not operate the power switch, any other switches or the doors. If any doors need to be opened in order to check connectors, open the doors and leave them open.

Tech Tips


  • Operating the power switch, any other switches or a door triggers related ECU and sensor communication on the CAN. This communication will cause the resistance value to change.

  • Even after DTCs are cleared, if a DTC is stored again after driving the vehicle for a while, the malfunction may be occurring due to vibration of the vehicle. In such a case, wiggling the ECUs or wire harness while performing the inspection below may help determine the cause of the malfunction.

PROCEDURE


  1. CHECK CAN BUS WIRE FOR DISCONNECTION (STEERING ANGLE SENSOR BRANCH WIRE)


    1. Turn the power switch off.

    2. A003RNVE65
      Text in Illustration
      *a

      Front view of wire harness connector

      (to Steering Angle Sensor)

      Disconnect the steering angle sensor connector.

    3. Measure the resistance according to the value(s) in the table below.

      Standard Resistance
      Tester Connection Switch Condition Specified Condition
      E119-4 (CANH) - E119-3 (CANL) Power switch off 54 to 69 Ω

    NG
    OK
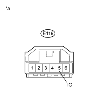
  2. CHECK HARNESS AND CONNECTOR (POWER SOURCE TERMINAL)


    1. Turn the power switch on (IG).

    2. A003RNVE66
      Text in Illustration
      *a

      Front view of wire harness connector

      (to Steering Angle Sensor)

      Measure the voltage according to the value(s) in the table below.

      Standard Voltage
      Tester Connection Switch Condition Specified Condition
      E119-5 (IG) - Body ground Power switch on (IG) 11 to 14 V

    NG
    OK
  3. CHECK HARNESS AND CONNECTOR (GROUND TERMINAL)


    1. Turn the power switch off.

    2. A003RNVE67
      Text in Illustration
      *a

      Front view of wire harness connector

      (to Steering Angle Sensor)

      Measure the resistance according to the value(s) in the table below.

      Standard Resistance
      Tester Connection Condition Specified Condition
      E119-2 (ESS) - Body ground Always Below 1 Ω

    NG
    OK