БЛОК УПРАВЛЕНИЯ МОТОР-ГЕНЕРАТОРА УСТАНОВКА

Note

При вворачивании винтов не допускайте перекоса из резьбы.


  1. ПРЕДОТВРАЩЕНИЕ ОБРАЗОВАНИЯ СТАТИЧЕСКОГО ЭЛЕКТРИЧЕСТВА

    Note


    • При снятии/установке преобразователя-инвертора в сборе необходимо исключить образование статического электричества.

    • Не прикасайтесь к электронным компонентам печатной платы.

    • Не прикасайтесь одеждой к электронным компонентам.

    • Помещайте детали, снятые с преобразователя-инвертора в сборе, на SST (антистатический коврик).


    1. A01NEB2E03

      Надевайте SST (антистатический браслет).

      SST
      09890-47010
    2. Надежно подсоедините заземляющий зажим SST (антистатического коврика) к точке заземления, предусмотренной в мастерской или на рабочем месте (к анкерному болту).

      SST
      09890-47010

      Tech Tips

      Если кабель заземляющего зажима слишком короток, используйте удлинительный кабель.

    3. Надежно подсоедините заземляющий зажим антистатического браслета к указанной точке антистатического коврика.

    4. После снятия крышки преобразователя выполняйте работы голыми руками, чтобы предотвратить повреждение от статического электричества и попадание посторонних веществ.

  2. УСТАНОВИТЕ БЛОК УПРАВЛЕНИЯ МОТОР-ГЕНЕРАТОРА

    Note


    • Не прикасайтесь к электронным компонентам печатной платы.

    • Не допускайте попадания в преобразователь-инвертор инородных частиц или капель воды.


    1. Для моделей с приводом на одну ось:


      1. A01ND0R

        Держа блок управления мотор-генератора за углы, установите его на преобразователь-инвертор в сборе.

      2. A01NERB

        Вверните 6 новых винтов.

        Torque:
        1,9 Н*м  { 19 кгс*см, 17 фунт-сила-дюймов }
      3. A01NDXO

        Подсоедините 6 разъемов блока управления мотор-генератора.

    2. Для моделей с постоянным полным приводом:


      1. A01NF8H

        Держа блок управления мотор-генератора за углы, установите его на преобразователь-инвертор в сборе.

      2. A01NCVK

        Вверните 6 новых винтов.

        Torque:
        1,9 Н*м  { 19 кгс*см, 17 фунт-сила-дюймов }
      3. A01ND5N

        Подсоедините 7 разъемов блока управления мотор-генератора.

    3. Убедитесь, что на блоке управления мотор-генератора нет посторонних частиц.

  3. УСТАНОВИТЕ КРЫШКУ ПРЕОБРАЗОВАТЕЛЯ

    Note


    • Не прикасайтесь к электронным компонентам печатной платы.

    • Не допускайте попадания в преобразователь-инвертор в сборе посторонних частиц и воды.

    • Не допускайте попадания посторонних веществ, например консистентной смазки, на поверхности соприкосновения крышки преобразователя и преобразователя-инвертора в сборе и не прикасайтесь к этим поверхностям.


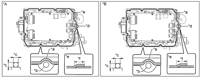
    1. Нанесите герметик (диаметр: 2,0 - 4,0 мм (0,0787 - 0,157 дюйма)) в виде сплошного валика в местах, показанных на рисунке.

      A01NEK8E01
      Обозначения на рисунке
      *A для моделей с приводом на одну ось *B для моделей с постоянным полным приводом
      *a Герметик *b Отверстие под болт
      *c 2,0 - 4,0 мм (0,0787 - 0,157 дюйма) *d Начальная точка нанесения герметика
      *e Зона перекрывания слоев герметика (вид сбоку) *f Менее 10 мм (0,394 дюйма)
      Герметик Seal Packing
      Фирменный герметик Seal Packing 1282B от компании Toyota, Three bond 1282B или аналогичный

      Note


      • Начните нанесение герметика с зоны (*d), показанной на рисунке.

      • Установите крышку преобразователя в течение 3 минут после нанесения герметика.

      • Затяните болты в течение 15 мин после нанесения герметика.

    2. A01NI05

      Установите новую крышку преобразователя на преобразователь-инвертор в сборе и закрепите ее 12 новыми болтами.

      Torque:
      4,2 Н*м  { 43 кгс*см, 37 фунт-сила-дюймов }
    3. A01NEB2E07

      Снимите SST (антистатический браслет).

  4. УСТАНОВИТЕ КРОНШТЕЙН ИНВЕРТОРА № 1


    1. A01NF5YE01
      Обозначения на рисунке
      *a Ткань

      Установите преобразователь-инвертор в сборе на чистую ткань или подобный материал, сориентировав его, как показано на рисунке.

    2. Установите кронштейн инвертора № 1 на преобразователь-инвертор в сборе и закрепите его 5 болтами.

      Torque:
      10 Н*м  { 102 кгс*см, 7 фунт-сила-футов }
  5. УСТАНОВИТЕ КРОНШТЕЙН ЗАЖИМА ЖГУТА ПРОВОДОВ


    1. A01NGNFE01

      Установите 3 кронштейна зажимов жгута проводов на преобразователь-инвертор в сборе и закрепите их 4 болтами.

      Torque:
      Болт (A)
      8,0 Н*м  { 82 кгс*см, 71 фунт-сила-дюйм }
      Болт (B)
      8,5 Н*м  { 87 кгс*см, 75 фунт-сила-дюймов }
  6. УСТАНОВИТЕ КРЫШКУ ВЫВОДОВ ИНВЕРТОРА


    1. Установите преобразователь-инвертор в сборе, сориентировав его, как показано на рисунке.

      A01NCY8E01
      Обозначения на рисунке
      *A для моделей с приводом на одну ось *B для моделей с постоянным полным приводом
      *a Защитная клейкая лента - -
    2. Удалите защитную ленту.

      Note

      Не допускайте попадания в преобразователь-инвертор в сборе посторонних частиц и воды.

    3. Установите крышку контактов инвертора (см. стр. Click here).

  7. УСТАНОВИТЕ ПРЕОБРАЗОВАТЕЛЬ-ИНВЕРТОР В СБОРЕ

    См. стр. Click here

  8. ПРОВЕРКА РАБОТЫ СИСТЕМЫ

    Tech Tips

    После ремонта проверьте работу следующим образом. Повторно проверьте наличие кодов DTC.


    1. Проверка работоспособности 1


      1. Подсоедините портативный диагностический прибор к DLC3.

      2. Включите питание (IG) и удалите коды DTC в соответствии с подсказками на экране диагностического прибора.

      3. Включите зажигание (READY).

      4. Прогрейте двигатель, когда рычаг переключения передач находится в положении P, и система кондиционирования выключена, пока двигатель не остановится.

        Tech Tips

        После прогрева двигатель автоматически остановится.

      5. Для запуска двигателя нажмите педаль акселератора, когда рычаг переключения передач находится в положении стоянки (P).

      6. Как только двигатель запустится, отпустите педаль акселератора и подождите, пока двигатель не остановится.

      7. Выберите передачу (D). Продвиньте автомобиль вперед на 5 м (16,4 фута) с остановленным двигателем, не нажимая педаль акселератора.

        Note

        Перед перемещением автомобиля убедитесь в безопасности окружающей зоны.

      8. Выберите задний ход (R). Продвиньте автомобиль назад на 5 м (16,4 фута) с остановленным двигателем, не нажимая педаль акселератора.

        Note

        Перед перемещением автомобиля убедитесь в безопасности окружающей зоны.

    2. Проверка работоспособности 2

      Tech Tips

      Из-за ограниченности пространства ток через контакт AMD невозможно измерить напрямую. Вместо него измеряется ток, протекающий через вспомогательную аккумуляторную батарею.


      1. A01NH7VE04
        Обозначения на рисунке
        *a Направление щупа
        *b Ток, текущий во вспомогательную аккумуляторную батарею

        Подсоедините щуп 400 А перем./пост. тока диагностического прибора к цепи положительного вывода вспомогательной аккумуляторной батареи.

      2. Установите выключатель питания в состояние ON (ВКЛ) (READY) и оставьте автомобиль "как есть" до тех пор, пока ток, втекающий во вспомогательную аккумуляторную батарею, не окажется равным 10 А или ниже.

      3. A01NDZJE03
        Обозначения на рисунке
        *a Направление щупа
        *b Ток, текущий из вспомогательной аккумуляторной батареи

        Измените ориентацию измерительного наконечника на 400 А переменного/постоянного тока.

      4. Измерьте ток, выдаваемый вспомогательной аккумуляторной батареей, когда выключатель питания находится в состоянии ON (ВКЛ), переключатель положения фар и переключатель электродвигателя вентилятора установлены в положение HI, а обогреватель заднего стекла включен.

        Номинальный ток
        Параметр / Устройство Условие Номинальное значение
        Ток, текущий из вспомогательной аккумуляторной батареи

        Питание включено (READY)

        (Переключатель положения фар и переключатель электродвигателя вентилятора установлены в положение HI, а обогреватель заднего стекла включен.)

        0 А или менее

        (Ток из вспомогательной аккумуляторной батареи отсутствует)

      5. Выключите зажигание.