WIPER AND WASHER SYSTEM Rain Sensor Circuit

DESCRIPTION

The windshield wiper relay assembly receives a signal from the rain sensor to control the auto wiper system.

WIRING DIAGRAM

A01J8RPE06

INSPECTION PROCEDURE

PROCEDURE


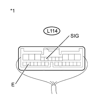
  1. CHECK HARNESS AND CONNECTOR (WINDSHIELD WIPER RELAY ASSEMBLY - RAIN SENSOR)


    1. Disconnect the L114 windshield wiper relay assembly connector.

    2. Disconnect the U11 rain sensor connector.

    3. Measure the resistance according to the value(s) in the table below.

      Standard Resistance
      Tester Connection Condition Specified Condition
      L114-8 (SIG) - U11-4 (SIG) Always Below 1 Ω
      U11-4 (SIG) - Body ground Always 10 kΩ or higher
      L114-14 (PA1) - U11-3 (AUTO) Always Below 1 Ω
      U11-3 (AUTO) - Body ground Always 10 kΩ or higher
      L114-25 (E) - U11-1 (ES) Always Below 1 Ω
      U11-1 (ES) - Body ground Always 10 kΩ or higher

    NG
    OK
  2. INSPECT WINDSHIELD WIPER RELAY ASSEMBLY


    1. A01JAZAE05
      Text in Illustration
      *1

      Component with harness connected

      (to Windshield Wiper Relay Assembly)

      Reconnect the windshield wiper relay assembly connector.

    2. Measure the voltage according to the value(s) in the table below.

      Standard Voltage
      Tester Connection Condition Specified Condition
      L114-8 (SIG) - L114-25 (E) Power switch on (IG) 11 to 14 V

    NG
    OK
  3. INSPECT RAIN SENSOR


    1. A01J9Q9E10
      Text in Illustration
      *1

      Component with harness connected

      (Rain Sensor)

      Reconnect the rain sensor connector.

    2. Connect an oscilloscope to the automatic light control sensor connector.

    3. Check for pulses.

      OK
      Tester Connection Condition Specified Condition
      U11-3 (AUTO) - U11-1 (ES) Power switch on (IG) Pulse generation

    NG
    OK