STEERING PAD SWITCH INSPECTION


  1. INSPECT STEERING PAD SWITCH LH


    1. Measure the resistance according to the value(s) in the table below.

      A01JCX5E03
      A01JBZKE01
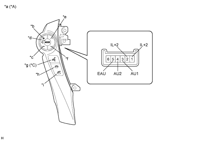
      Standard Resistance
      w/ Touch Tracer Display
      Tester Connection Condition Specified Condition
      1 (IL+2) - 2 (IL+2) No switch pushed Below 1 Ω
      3 (AU1) - 5 (EAU) No switch pushed 95 to 105 kΩ
      Seek+ switch pushed Below 2.5 Ω
      Seek- switch pushed 323 to 335 Ω
      Volume+ switch pushed 980 to 1020 Ω
      Volume- switch pushed 3048 to 3172 Ω
      4 (AU2) - 5 (EAU) No switch pushed 95 to 105 kΩ
      MODE switch pushed Below 2.5 Ω
      On hook switch pushed 323 to 335 Ω
      Off hook switch pushed 980 to 1020 Ω
      Voice switch pushed*1 3048 to 3172 Ω
      w/o Touch Tracer Display
      Tester Connection Condition Specified Condition
      4 (AU1) - 1 (EAU) No switch pushed 95 to 105 kΩ
      Seek+ switch pushed Below 2.5 Ω
      Seek- switch pushed 323 to 335 Ω
      Volume+ switch pushed 980 to 1020 Ω
      Volume- switch pushed 3048 to 3172 Ω
      3 (AU2) - 1 (EAU) No switch pushed 95 to 105 kΩ
      MODE switch pushed Below 2.5 Ω

      • *1: w/ Voice Switch of Steering Pad Switch LH

      Tech Tips

      If the result is not as specified, replace the steering pad switch LH.

      Text in Illustration
      *A w/ Touch Tracer Display *B w/o Touch Tracer Display
      *C w/ Voice Switch of Steering Pad Switch LH - -
      *a

      Component without harness connected

      (Steering Pad Switch LH)

      *b Volume+
      *c Volume- *d MODE
      *e Seek+ *f Seek-
      *g Voice *h On hook
      *i Off hook - -
    2. Check the illumination.

      A01J9FOE02
      A01JBSQE01

      1. Connect an auxiliary battery positive (+) lead to terminal IL+2 and a negative (-) lead to terminal EAU of the steering pad switch LH connector.

      2. Check that the switch illumination comes on.

        OK
        Steering pad switch illumination comes on.

        Tech Tips

        If the result is not as specified, replace the steering pad switch LH.

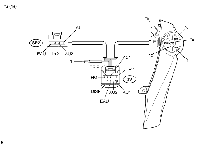
        Text in Illustration
        *A w/ Touch Tracer Display *B w/o Touch Tracer Display
        *a

        Component without harness connected

        (Steering Pad Switch LH)

        - -
  2. INSPECT STEERING PAD SWITCH RH


    1. Measure the resistance according to the value(s) in the table below.

      A01JB36E14
      A01JCEAE04
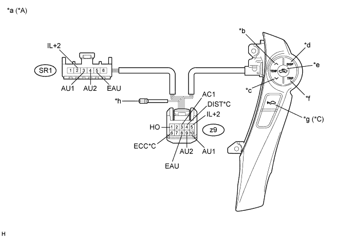
      Standard Resistance
      w/ Touch Tracer Display
      Tester Connection Condition Specified Condition
      z9-1 (HO) - Terminal-A Always Below 1 Ω
      z9-3 (AC1) - z9-8 (EAU) No switch pushed 95 to 105 kΩ
      R/F switch pushed 323 to 335 Ω
      TEMP+ switch pushed 980 to 1020 Ω
      TEMP- switch pushed 3048 to 3172 Ω
      z9-4 (DIST) - z9-6 (ECC)*1 No switch pushed 1 MΩ or higher
      Distance control switch pushed Below 2.5 Ω
      SR1-2 (IL+2) - z9-5 (IL+2) Always Below 1 Ω
      SR1-3 (AU1) - z9-10 (AU1) Always Below 1 Ω
      SR1-4 (AU2) - z9-9 (AU2) Always Below 1 Ω
      SR1-5 (EAU) - z9-8 (EAU) Always Below 1 Ω
      w/o Touch Tracer Display
      Tester Connection Condition Specified Condition
      z9-1 (HO) - Terminal-A Always Below 1 Ω
      z9-2 (TRIP) - z9-8 (EAU) TRIP switch pushed Below 2.5 Ω
      z9-3 (AC1) - z9-8 (EAU) No switch pushed 95 to 105 kΩ
      R/F switch pushed 323 to 335 Ω
      TEMP+ switch pushed 980 to 1020 Ω
      TEMP- switch pushed 3048 to 3172 Ω
      z9-7 (DISP) - z9-8 (EAU) DISP switch pushed Below 2.5 Ω
      SR2-2 (IL+2) - z9-5 (IL+2) Always Below 1 Ω
      SR2-4 (AU1) - z9-10 (AU1) Always Below 1 Ω
      SR2-3 (AU2) - z9-9 (AU2) Always Below 1 Ω
      SR2-1 (EAU) - z9-8 (EAU) Always Below 1 Ω

      • *1: w/ Distance Control Switch of Steering Pad Switch RH

      Tech Tips

      If the result is not as specified, replace the steering pad switch RH.

      Text in Illustration
      *A w/ Touch Tracer Display *B w/o Touch Tracer Display
      *C w/ Distance Control Switch of Steering Pad Switch RH - -
      *a

      Component without harness connected

      (Steering Pad Switch RH)

      *b TEMP+
      *c TEMP- *d DISP
      *e R/F *f TRIP
      *g Distance control *h Terminal-A
    2. Check the illumination.

      A01JBPXE03
      A01JC4NE01

      1. Connect an auxiliary battery positive (+) lead to terminal IL+2 and a negative (-) lead to terminal EAU of the steering pad switch RH connector.

      2. Check that the switch illumination comes on.

        OK
        Steering pad switch illumination comes on.

        Tech Tips

        If the result is not as specified, replace the steering pad switch RH.

        Text in Illustration
        *A w/ Touch Tracer Display *B w/o Touch Tracer Display
        *a

        Component without harness connected

        (Steering Pad Switch RH)

        - -