FRONT POWER SEAT CONTROL SYSTEM, Diagnostic DTC:B2652

DTC Code DTC Name
B2652 Front Vertical Sensor Malfunction

DESCRIPTION

When the position control ECU does not receive a sensor signal despite upward or downward movement of the front of the seat cushion by power seat motor operation, this DTC is output.

DTC Code DTC Detection Condition Trouble Area
B2652 The upward and downward lock detection position is of the sensor the same.
  • Position control ECU

  • Power seat motor assembly (Front vertical motor)

  • Harness or connector

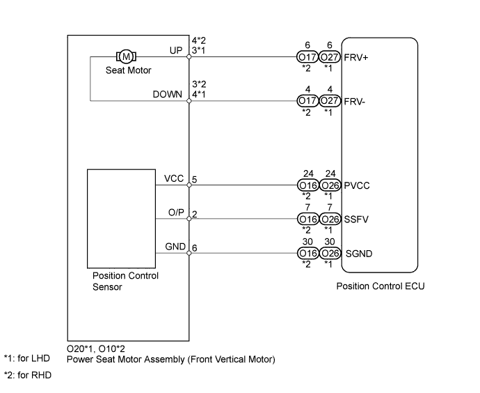
WIRING DIAGRAM

A003ELWE03

INSPECTION PROCEDURE

PROCEDURE


  1. PERFORM ACTIVE TEST USING INTELLIGENT TESTER (POWER SEAT MOTOR FUNCTION)


    1. Select the Active Test, use the intelligent test to generate a control command, and then check the power seat motor function.

      Driver Seat
      Tester Display Test Part Control Range Diagnostic Note
      Front Vertical Operation Seat front vertical operation UP / OFF / DOWN -
      OK
      Motor operates normally.

    NG
    OK
  2. CHECK HARNESS AND CONNECTOR (POSITION CONTROL ECU - POWER SEAT MOTOR)

    A003DSLE08
    Text in Illustration
    *1 for LHD
    *2 for RHD
    *3

    Front view of wire harness connector

    (to Position Control ECU)

    *4

    Front view of wire harness connector

    (to Power Seat Motor)


    • *1: for LHD

    • *2: for RHD


    1. Disconnect the O26*1 or O16*2 ECU connector.

    2. Disconnect the O20*1 or O10*2 motor connector.

    3. Measure the resistance according to the value(s) in the table below.

      Standard Resistance
      for LHD
      Tester Connection Condition Specified Condition
      O26-24 (PVCC) - O20-5 (VCC) Always Below 1 Ω
      O26-7 (SSFV) - O20-2 (O/P) Always Below 1 Ω
      O26-30 (SGND) - O20-6 (GND) Always Below 1 Ω
      O26-24 (PVCC) - Body ground Always 10 kΩ or higher
      O26-7 (SSFV) - Body ground Always 10 kΩ or higher
      O26-30 (SGND) - Body ground Always 10 kΩ or higher
      for RHD
      Tester Connection Condition Specified Condition
      O16-24 (PVCC) - O10-5 (VCC) Always Below 1 Ω
      O16-7 (SSFV) - O10-2 (O/P) Always Below 1 Ω
      O16-30 (SGND) - O10-6 (GND) Always Below 1 Ω
      O16-24 (PVCC) - Body ground Always 10 kΩ or higher
      O16-7 (SSFV) - Body ground Always 10 kΩ or higher
      O16-30 (SGND) - Body ground Always 10 kΩ or higher

    NG
    OK
  3. CHECK POSITION CONTROL ECU ASSEMBLY

    A003C6ME15
    Text in Illustration
    *1 for LHD
    *2 for RHD
    *3

    Front view of wire harness connector

    (to Power Seat Motor)


    1. Disconnect the O20*1 or O10*2 motor connector.


      • *1: for LHD

      • *2: for RHD

    2. Measure the voltage according to the value(s) in the table below.

      Standard Voltage
      for LHD
      Tester Connection Switch Condition Specified Condition
      O20-5 (VCC) - O20-6 (GND) Front vertical switch on 5.5 to 6.5 V
      for RHD
      Tester Connection Switch Condition Specified Condition
      O10-5 (VCC) - O10-6 (GND) Front vertical switch on 5.5 to 6.5 V

    NG
    OK
  4. CHECK POWER SEAT MOTOR ASSEMBLY (POSITION CONTROL SENSOR)

    A003B1EE06
    Text in Illustration
    *1 for LHD
    *2 for RHD
    *3

    Component with harness connected

    (to Power Seat Motor)


    1. Measure the voltage according to the value(s) in the table below.

      Standard Voltage
      for LHD
      Tester Connection Switch Condition Specified Condition
      O20-2 (O/P) - O20-6 (GND) Front vertical switch on 0 to 6.5 V
      for RHD
      Tester Connection Switch Condition Specified Condition
      O10-2 (O/P) - O10-6 (GND) Front vertical switch on 0 to 6.5 V

    NG
    OK
  5. CHECK DTC OUTPUT


    1. Clear the DTCs Click here.

    2. Recheck for DTCs Click here.

      OK
      DTC B2652 is not output.

    NG
    OK
  6. INSPECT POWER SEAT MOTOR ASSEMBLY

    A003CUWE01

    1. Remove the power seat motor assembly (front vertical motor) Click here.

    2. Check if the adjust screw rotates smoothly when the battery is connected to the front vertical motor connector terminals.

      OK
      for LHD
      Measurement Condition Operational Direction

      Battery positive (+) → 3 (UP)

      Battery positive (-) → 4 (DOWN)

      Adjust screw rotates clockwise

      Battery positive (+) → 4 (DOWN)

      Battery positive (-) → 3 (UP)

      Adjust screw rotates counterclockwise
      for RHD
      Measurement Condition Operational Direction

      Battery positive (+) → 4 (UP)

      Battery positive (-) → 3 (DOWN)

      Adjust screw rotates clockwise

      Battery positive (+) → 3 (DOWN)

      Battery positive (-) → 4 (UP)

      Adjust screw rotates counterclockwise

    NG
    OK
  7. CHECK HARNESS AND CONNECTOR (POSITION CONTROL ECU - POWER SEAT MOTOR)

    A003D9NE10
    Text in Illustration
    *1 for LHD
    *2 for RHD
    *3

    Front view of wire harness connector

    (to Position Control ECU)

    *4

    Front view of wire harness connector

    (to Power Seat Motor)


    • *1: for LHD

    • *2: for RHD


    1. Disconnect the O27*1 or O17*2 ECU connector.

    2. Disconnect the O20*1 or O10*2 motor connector.

    3. Measure the resistance according to the value(s) in the table below.

      Standard Resistance
      for LHD
      Tester Connection Condition Specified Condition
      O27-6 (FRV+) - O20-3 (UP) Always Below 1 Ω
      O27-4 (FRV-) - O20-4 (DOWN) Always Below 1 Ω
      O27-6 (FRV+) - Body ground Always 10 kΩ or higher
      O27-4 (FRV-) - Body ground Always 10 kΩ or higher
      for RHD
      Tester Connection Condition Specified Condition
      O17-6 (FRV+) - O10-4 (UP) Always Below 1 Ω
      O17-4 (FRV-) - O10-3 (DOWN) Always Below 1 Ω
      O17-6 (FRV+) - Body ground Always 10 kΩ or higher
      O17-4 (FRV-) - Body ground Always 10 kΩ or higher

    NG
    OK