ENTRY AND START SYSTEM (for Entry Function) Room Oscillator does not Recognize Key

DESCRIPTION

If the room oscillator does not recognize the key, one of the following may be the cause: 1) communication between the indoor electrical key oscillator (for front floor) and electrical key transmitter cannot be performed; or 2) communication between the indoor electrical key oscillator (for rear floor) and electrical key transmitter cannot be performed; or 3) communication between the indoor electrical key oscillator (for inside luggage) and electrical key transmitter cannot be performed.

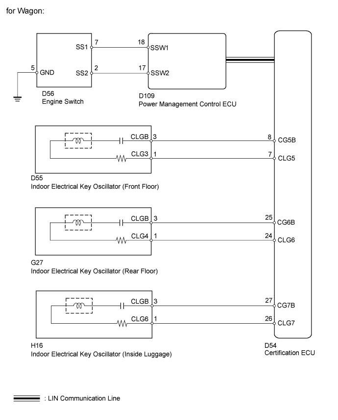
WIRING DIAGRAM

A00DTUCE02
A00DSEJE03

INSPECTION PROCEDURE

Note


  • Before performing the inspection, check that there are no problems related to the "CAN Communication System" and "LIN Communication System".

  • When using the intelligent tester with the engine switch off to troubleshoot: Connect the intelligent tester to the vehicle, and turn a courtesy light switch on and off at 1.5 second intervals until communication between the tester and vehicle begins.

PROCEDURE


  1. CHECK ENTRY AND START SYSTEM (START FUNCTION)


    1. A00DSYUE08
      Text in Illustration
      *1 Engine Switch
      *2 Key

      Remove the battery of the electrical key transmitter Click here.

    2. With the clutch pedal depressed (for Manual Transaxle) or brake pedal depressed (except Manual Transaxle), touch the TOYOTA mark of the key to the engine switch.

    3. When operating the engine switch, check whether the power source mode changes.

      OK
      Power source mode changes.

      Tech Tips


      • When the electrical key transmitter cannot be verified even though it is in the operating range of the start function, the engine start check can be performed by removing the transmitter battery from the electrical key transmitter and holding the transmitter against the engine switch.

      • When performing the check, if the power source mode changes, there is a problem with key certification inside the cabin.


    NG
    OK
  2. CHECK WAVE ENVIRONMENT


    1. for Wagon:


      1. Install the battery to the electrical key transmitter Click here.

      2. Bring the electrical key transmitter near the indoor electrical key oscillator (in center console) and perform an engine control system start check.

        Note

        If the key is brought within 0.2 m (0.656 ft.) of the center console, communication is not possible.

        OK
        Engine starts.
      3. Bring the electrical key transmitter near the indoor electrical key oscillator (in rear seat cushion) and perform an engine control system start check.

        Note

        If the key is brought within 0.2 m (0.656 ft.) of the rear seat cushion, communication is not possible.

        OK
        Engine starts.
      4. Bring the electrical key transmitter near the indoor electrical key oscillator (inside luggage area) and perform an engine control system start check.

        Note

        If the key is brought within 0.2 m (0.656 ft.) of the oscillator location inside the luggage compartment, communication is not possible.

    2. for Sedan:


      1. Install the battery to the electrical key transmitter Click here.

      2. Bring the electrical key transmitter near the indoor electrical key oscillator (in center console) and perform an engine control system start check.

        Note

        If the key is brought within 0.2 m (0.656 ft.) of the center console, communication is not possible.

        OK
        Engine starts.
      3. Bring the electrical key transmitter near the indoor electrical key oscillator (in rear seat cushion) and perform an engine control system start check.

        Note

        If the key is brought within 0.2 m (0.656 ft.) of the rear seat cushion, communication is not possible.

        OK
        Engine starts.

        Tech Tips


        • When the electrical key transmitter is brought near the indoor electrical key oscillator, the possibility of wave interference decreases, and it can be determined if wave interference is causing the problem symptom.

        • If the inspection result is that the operation check is normal, the possibility of wave interference is high. Also, added vehicle components may cause wave interference, If installed, remove them and perform the operation check.

        OK
        Engine starts.

    NG
    OK
  3. KEY DIAGNOSTIC MODE


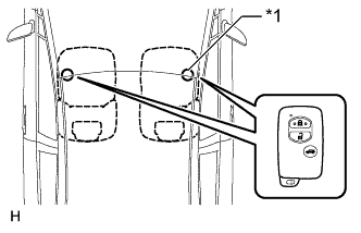
    1. for Wagon:


      1. A00DT54E02
        Text in Illustration
        *1 Inspection Point

        Diagnostic mode inspection (indoor electrical key oscillator (for front floor)).


        1. Connect the intelligent tester to the DLC3.

        2. Turn the engine switch on (IG).

        3. Turn the intelligent tester on.

        4. Enter the following menus: Body / Entry&Start / Key Communication Check / Overhead + Front Room.

        5. When the electrical key transmitter is placed on the driver seat or front passenger seat cushion, check that the wireless door lock buzzer sounds.

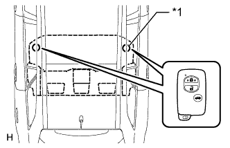
      2. A00DQGVE02
        Text in Illustration
        *1 Inspection Point

        Diagnostic mode inspection (indoor electrical key oscillator (for rear floor)).


        1. Connect the intelligent tester to the DLC3.

        2. Turn the engine switch on (IG).

        3. Turn the intelligent tester on.

        4. Enter the following menus: Body / Entry&Start / Key Communication Check / Overhead + Rear Room.

        5. When the electrical key transmitter is placed on the rear seat cushion, check that the wireless door lock buzzer sounds.

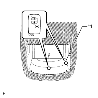
      3. A00DU4XE02
        Text in Illustration
        *1 Inspection Point

        Diagnostic mode inspection (indoor electrical key oscillator (for inside luggage)).


        1. Connect the intelligent tester to the DLC3.

        2. Turn the engine switch on (IG).

        3. Turn the intelligent tester on.

        4. Enter the following menus: Body / Entry&Start / Key Communication Check / Overhead + Back Door (inside) Room.

        5. When the electrical key transmitter is placed in the luggage area, check that the wireless door lock buzzer sounds.

    2. for Sedan:


      1. A00DT54E02
        Text in Illustration
        *1 Inspection Point

        Diagnostic mode inspection (indoor electrical key oscillator (for front floor)).


        1. Connect the intelligent tester to the DLC3.

        2. Turn the engine switch on (IG).

        3. Turn the intelligent tester on.

        4. Enter the following menus: Body / Entry&Start / Key Communication Check / Overhead + Front Room.

        5. When the electrical key transmitter is placed on the driver seat or front passenger seat cushion, check that the wireless door lock buzzer sounds.

      2. A00DRFWE02
        Text in Illustration
        *1 Inspection Point

        Diagnostic mode inspection (indoor electrical key oscillator (for rear floor)).


        1. Connect the intelligent tester to the DLC3.

        2. Turn the engine switch on (IG).

        3. Turn the intelligent tester on.

        4. Enter the following menus: Body / Entry&Start / Key Communication Check / Overhead + Rear Room.

        5. When the electrical key transmitter is placed on the rear seat cushion, check that the wireless door lock buzzer sounds.

      Tech Tips


      • If the buzzer sounds, it can be determined that the vehicle interior transmitters are operating normally.

      • It is possible to check which indoor electrical key oscillator (front, rear or luggage*) is operating by sounding the buzzer.

      • If the buzzer does not sound for any indoor electrical key oscillators, the certification ECU circuit may have a malfunction.

      Result
      Result Proceed to
      Front operation check fails A
      Rear operation check fails B
      Luggage operation check fails* C
      Front, rear and luggage operation checks are normal D
      Front, rear and luggage operation checks fail E

      • *: for Wagon


    B
    C
    D
    E
    A
  4. CHECK HARNESS AND CONNECTOR (CERTIFICATION ECU - INDOOR ELECTRICAL KEY OSCILLATOR)

    A00DQLKE09
    Text in Illustration
    *1

    Front view of wire harness connector

    (to Indoor Electrical Key Oscillator (for Front Floor))

    *2

    Front view of wire harness connector

    (to Certification ECU)


    1. Disconnect the D54 ECU connector.

    2. Disconnect the D55 oscillator connector.

    3. Measure the resistance according to the value(s) in the table below.

      Standard Resistance
      Tester Connection Condition Specified Condition
      D55-1 (CLG3) - D54-7 (CLG5) Always Below 1 Ω
      D55-3 (CLGB) - D54-8 (CG5B) Always Below 1 Ω
      D55-1 (CLG3) - Body ground Always 10 kΩ or higher
      D55-3 (CLGB) - Body ground Always 10 kΩ or higher

    NG
    OK
  5. CHECK INDOOR ELECTRICAL KEY OSCILLATOR (FOR FRONT FLOOR)

    A00DPXCE12
    Text in Illustration
    *1

    Front view of wire harness connector

    (to Indoor Electrical Key Oscillator (for Front Floor))


    1. Disconnect the D55 oscillator connector.

    2. Measure the voltage according to the value(s) in the table below.

      Waveform (Reference)
      Item Content
      Tester Connection D55-1 (CLG3) - D55-3 (CLGB)
      Tool Setting 2 V/DIV, 2 μsec./DIV. (Reference)
      Condition Engine switch on (IG)
      OK
      Waveform is output normally (Refer to illustration).

    NG
    OK
  6. REPLACE INDOOR ELECTRICAL KEY OSCILLATOR (FOR FRONT FLOOR)


    1. Temporarily replace the indoor electrical key oscillator (for front floor) with a new or normally functioning one Click here.


    NEXT
  7. CHECK ENTRY AND START SYSTEM (FOR START FUNCTION)


    1. Check that the engine switch indicator is illuminated in green, push the engine switch, and check that the engine starts.

      OK
      Engine can be started.

    NG
    OK
  8. CHECK HARNESS AND CONNECTOR (CERTIFICATION ECU - INDOOR ELECTRICAL KEY OSCILLATOR)

    A00DQLKE28
    Text in Illustration
    *1

    Front view of wire harness connector

    (to Indoor Electrical Key Oscillator (for Rear Floor))

    *2

    Front view of wire harness connector

    (to Certification ECU)


    1. Disconnect the D54 ECU connector.

    2. Disconnect the G27 oscillator connector.

    3. Measure the resistance according to the value(s) in the table below.

      Standard Resistance
      Tester Connection Condition Specified Condition
      G27-1 (CLG4) - D54-24 (CLG6) Always Below 1 Ω
      G27-3 (CLGB) - D54-25 (CG6B) Always Below 1 Ω
      G27-1 (CLG4) - Body ground Always 10 kΩ or higher
      G27-3 (CLGB) - Body ground Always 10 kΩ or higher

    NG
    OK
  9. CHECK INDOOR ELECTRICAL KEY OSCILLATOR (FOR REAR FLOOR)

    A00DPXCE13
    Text in Illustration
    *1

    Front view of wire harness connector

    (to Indoor Electrical Key Oscillator (for Reawr Floor))


    1. Disconnect the G27 oscillator connector.

    2. Measure the voltage according to the value(s) in the table below.

      Waveform (Reference)
      Item Content
      Tester Connection G27-1 (CLG4) - G27-3 (CLGB)
      Tool Setting 2 V/DIV, 2 μsec./DIV. (Reference)
      Condition Engine switch on (IG)
      OK
      Waveform is output normally (Refer to illustration).

    NG
    OK
  10. REPLACE INDOOR ELECTRICAL KEY OSCILLATOR (FOR REAR FLOOR)


    1. Temporarily replace the indoor electrical key oscillator (for rear floor) with a new or normally functioning one Click here.


    NEXT
  11. CHECK ENTRY AND START SYSTEM (FOR START FUNCTION)


    1. Check that the engine switch indicator is illuminated in green, push the engine switch, and check that the engine starts.

      OK
      Engine can be started.

    NG
    OK
  12. CHECK HARNESS AND CONNECTOR (CERTIFICATION ECU - INDOOR ELECTRICAL KEY OSCILLATOR)

    A00DQLKE10
    Text in Illustration
    *1

    Front view of wire harness connector

    (to Indoor Electrical Key Oscillator (for Inside Luggage))

    *2

    Front view of wire harness connector

    (to Certification ECU)


    1. Disconnect the D54 ECU connector.

    2. Disconnect the H16 oscillator connector.

    3. Measure the resistance according to the value(s) in the table below.

      Standard Resistance
      Tester Connection Condition Specified Condition
      H16-1 (CLG6) - D54-26 (CLG7) Always Below 1 Ω
      H16-3 (CLGB) - D54-27 (CG7B) Always Below 1 Ω
      H16-1 (CLG6) - Body ground Always 10 kΩ or higher
      H16-3 (CLGB) - Body ground Always 10 kΩ or higher

    NG
    OK
  13. CHECK INDOOR ELECTRICAL KEY OSCILLATOR (FOR INSIDE LUGGAGE)

    A00DPXCE14
    Text in Illustration
    *1

    Front view of wire harness connector

    (to Indoor Electrical Key Oscillator (for Inside Luggage))


    1. Disconnect the H16 oscillator connector.

    2. Measure the voltage according to the value(s) in the table below.

      Waveform (Reference)
      Item Content
      Tester Connection H16-1 (CLG6) - H16-3 (CLGB)
      Tool Setting 2 V/DIV, 2 μsec./DIV. (Reference)
      Condition Engine switch on (IG)
      OK
      Waveform is output normally (Refer to illustration).

    NG
    OK
  14. REPLACE INDOOR ELECTRICAL KEY OSCILLATOR (FOR INSIDE LUGGAGE)


    1. Temporarily replace the indoor electrical key oscillator (for inside luggage) with a new or normally functioning one Click here.


    NEXT
  15. CHECK ENTRY AND START SYSTEM (FOR START FUNCTION)


    1. Check that the engine switch indicator is illuminated in green, push the engine switch, and check that the engine starts.

      OK
      Engine can be started.

    NG
    OK
  16. INSPECT TRANSMITTER BATTERY (VOLTAGE)


    1. A00DPQ3

      Remove the battery from the electrical key transmitter that does not operate. Attach a lead wire (0.6 mm (0.0236 in.) or less in diameter including wire sheath) with tape or equivalent to the negative terminal Click here.

      Note

      Do not wrap the lead wire around a terminal, wedge it between terminals, or solder it. A terminal may be deformed or damaged, and the battery will not be able to be installed correctly.

    2. Carefully pull the lead wire out from the position shown in the illustration and install the previously removed transmitter battery.

    3. A00DQICE09
      Text in Illustration
      *1 Measurement Position

      Using an oscilloscope, check the transmitter battery voltage waveform.

      Tech Tips

      When measuring the battery voltage, while operating the lock switch of a door handle, bring the electrical key transmitter within the entry operating range to perform the measurement. For the entry operating range, refer to System Description Click here.

      OK
      Tester Connection Tool Setting Condition Specified Condition
      Battery positive (+) - Battery negative (-) 0.5 V/DIV., 100 ms/DIV. Engine switch off, all doors closed and lock switch pushed 2.5 to 3.2 V (Refer to the waveform)

    NG
    OK
  17. CHECK ELECTRICAL KEY TRANSMITTER


    1. Check if there is another registered transmitter available.

      Result
      Result Proceed to
      Another registered transmitter is not available A
      Another registered transmitter is available B

    B
    A
  18. REPLACE ELECTRICAL KEY TRANSMITTER


    1. Replace the electrical key transmitter.

    2. Register the electrical key transmitter.


    NEXT
  19. CHECK ENTRY AND START SYSTEM


    1. Check that the engine switch indicator is illuminated in green, push the engine switch, and check that the engine starts.

      OK
      Engine can be started.

    NG
    OK
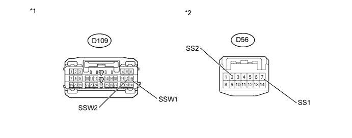
  20. CHECK HARNESS AND CONNECTOR (POWER MANAGEMENT CONTROL ECU - ENGINE SWITCH)

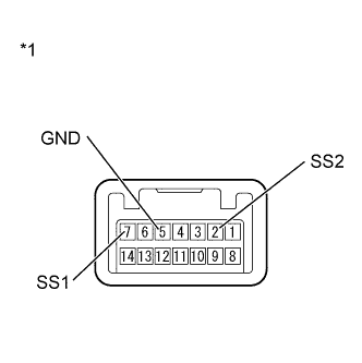
    A00DRJBE04
    Text in Illustration
    *1

    Front view of wire harness connector

    (to Power Management Control ECU)

    *2

    Front view of wire harness connector

    (to Engine Switch)


    1. Disconnect the D109 ECU connector.

    2. Disconnect the D56 switch connector.

    3. Measure the resistance according to the value(s) in the table below.

      Standard Resistance
      Tester Connection Condition Specified Condition
      D56-7 (SS1) - D109-18 (SSW1) Always Below 1 Ω
      D56-2 (SS2) - D109-17 (SSW2) Always Below 1 Ω
      D56-7 (SS1) - Body ground Always 10 kΩ or higher
      D56-2 (SS2) - Body ground Always 10 kΩ or higher

    NG
    OK
  21. INSPECT ENGINE SWITCH


    1. A00DRHZE10
      Text in Illustration
      *1

      Component without harness connected

      (Engine Switch)

      Remove the engine switch.

    2. Measure the resistance according to the value(s) in the table below.

      Standard Resistance
      Tester Connection Switch Condition Specified Condition
      7 (SS1) - 5 (GND) Engine switch pushed Below 1 Ω
      Engine switch not pushed 10 kΩ or higher
      2 (SS2) - 5 (GND) Engine switch pushed Below 1 Ω
      Engine switch not pushed 10 kΩ or higher
      5 (GND) - Body ground Always Below 1 Ω

      Tech Tips


      • Replace the engine switch (for 1AZ-FE) Click here.

      • Replace the engine switch (for 1ZR-FAE) Click here.

      • Replace the engine switch (for 2ZR-FAE) Click here.

      • Replace the engine switch (for 3ZR-FAE) Click here.

      • Replace the engine switch (for 3ZR-FE) Click here.


    NG
    OK