СИСТЕМА КРУИЗ-КОНТРОЛЯ Цепь выключателя круиз-контроля

ОПИСАНИЕ

Эта цепь направляет сигналы на ECM в зависимости от состояния главного выключателя круиз-контроля. На главный выключатель круиз-контроля поступает напряжение с положительного (+) вывода аккумуляторной батареи. Затем на контакт CCS ECM подается напряжение, соответствующее положению выключателя.

СХЕМА ЭЛЕКТРИЧЕСКИХ СОЕДИНЕНИЙ

A01J3NYE03
A01J7P1E05

ПОСЛЕДОВАТЕЛЬНОСТЬ ПРОВЕРКИ

ПОРЯДОК ВЫПОЛНЕНИЯ


  1. ПРОВЕРЬТЕ СИСТЕМУ УПРАВЛЕНИЯ ТРАНСПОРТНЫМ СРЕДСТВОМ


    1. Определите систему автомобиля.

      Результат
      Результат Перейти к
      Для моделей с многофункциональным дисплеем А
      Для моделей без мультиинформационного дисплея B

    B
    А
  2. СНИМИТЕ ПОКАЗАНИЯ ПОРТАТИВНОГО ДИАГНОСТИЧЕСКОГО ПРИБОРА (ГЛАВНЫЙ ВЫКЛЮЧАТЕЛЬ СИСТЕМЫ КРУИЗ-КОНТРОЛЯ)


    1. A01J7JTE02

      Считайте данные в режиме Data List портативного диагностического прибора.

      Круиз-контроль
      Информация на дисплее прибора Измеряемая величина / диапазон измерения Нормальное состояние Замечание по диагностике
      CCS Main SW M-CPU Сигнал главного выключателя круиз-контроля (главный процессор) / ON (ВКЛ) или OFF (ВЫКЛ)

      ON (ВКЛ): Главный выключатель круиз-контроля (главный процессор) включен

      OFF (ВЫКЛ): Главный выключатель круиз-контроля (главный процессор) выключен

      -
      Cancel Switch Сигнал выключателя CANCEL / ON (ВКЛ) или OFF (ВЫКЛ)

      ON (ВКЛ): выключатель CANCEL включен

      OFF (ВЫКЛ): выключатель CANCEL выключен

      -
      SET/COAST Switch Сигнал выключателя -SET / ON (ВКЛ) или OFF (ВЫКЛ)

      ON (ВКЛ): выключатель -SET включен

      OFF (ВЫКЛ): выключатель -SET в выключенном состоянии

      -
      RES/ACC Switch Сигнал выключателя +RES / ON (ВКЛ) или OFF (ВЫКЛ)

      ON (ВКЛ): выключатель +RES включен

      OFF (ВЫКЛ): выключатель +RES в выключенном состоянии

      -
      OK
      Дисплей портативного диагностического прибора изменяется в зависимости от управления главным выключателем круиз-контроля.

    NG
    OK
  3. ПРОВЕРЬТЕ ГЛАВНЫЙ ВЫКЛЮЧАТЕЛЬ КРУИЗ-КОНТРОЛЯ В СБОРЕ

    A01J44QE03

    1. Снимите главный выключатель круиз-контроля

    2. Измерьте сопротивление в соответствии со значениями, приведенными в таблице ниже.

      Номинальное сопротивление
      Подключение диагностического прибора Положение переключателя Заданные условия
      1 - 3 Нейтральное положение 10 кОм или более
      Нажат в положение +RES 235 - 245 Ом
      Нажат в положение -SET 617 - 643 Ом
      Нажат в положение CANCEL 1509 - 1571 Ом
      Главный выключатель нажимается в положение OFF (ВЫКЛ) 10 кОм или более
      Главный выключатель нажимается в положение ON (ВКЛ) Менее 1 Ом

    NG
    OK
  4. ПРОВЕРЬТЕ ЭЛЕКТРОПРОВОДКУ ГЛАВНОГО ВЫКЛЮЧАТЕЛЯ КРУИЗ-КОНТРОЛЯ

    A01J7KEE06

    1. Снимите провод выключателя системы круиз-контроля.

    2. Измерьте сопротивление в соответствии со значениями, приведенными в таблице ниже.

      Номинальное сопротивление
      Подключение диагностического прибора Условие Заданные условия
      A-3 - B-3 Всегда Менее 1 Ом
      A-4 - B-1

    NG
    OK
  5. ПРОВЕРЬТЕ ВИТОЙ КАБЕЛЬ В СБОРЕ

    A01J42XE04

    1. Снимите витой кабель.

    2. Измерьте сопротивление в соответствии со значениями, приведенными в таблице ниже.

      Номинальное сопротивление
      Подключение диагностического прибора Условие Заданные условия
      A-3 - 1 (CCS) Всегда Менее 1 Ом
      A-4 - 2 (ECC) Всегда Менее 1 Ом

    NG
    OK
  6. ПРОВЕРЬТЕ ЖГУТ ПРОВОДОВ И РАЗЪЕМ (ВИТОЙ КАБЕЛЬ – ECM И МАССА)

    A01J7E9E01

    1. Отсоедините разъем S13 витого кабеля.

    2. Отсоедините разъем E13 ECM.

    3. Измерьте сопротивление в соответствии со значениями, приведенными в таблице ниже.

      Номинальное сопротивление
      Для моделей с 1GR-FE
      Подключение диагностического прибора Условие Заданные условия
      S13-1 (CCS) - E13-2 (CCS) Всегда Менее 1 Ом
      S13-2 (ECC) - масса Всегда Менее 1 Ом
      S13-1 (CCS) - масса Всегда 10 кОм или более

    NG
    OK
  7. СНИМИТЕ ПОКАЗАНИЯ ПОРТАТИВНОГО ДИАГНОСТИЧЕСКОГО ПРИБОРА (ГЛАВНЫЙ ВЫКЛЮЧАТЕЛЬ СИСТЕМЫ КРУИЗ-КОНТРОЛЯ)


    1. A01J3Q3E02

      Считайте данные в режиме Data List портативного диагностического прибора.

      Круиз-контроль
      Информация на дисплее прибора Измеряемая величина / диапазон измерения Нормальное состояние Замечание по диагностике
      CCS Main SW M-CPU Сигнал главного выключателя круиз-контроля (главный процессор) / ON (ВКЛ) или OFF (ВЫКЛ)

      ON (ВКЛ): Главный выключатель круиз-контроля (главный процессор) включен

      OFF (ВЫКЛ): Главный выключатель круиз-контроля (главный процессор) выключен

      -
      Cancel Switch Сигнал выключателя CANCEL / ON (ВКЛ) или OFF (ВЫКЛ)

      ON (ВКЛ): выключатель CANCEL включен

      OFF (ВЫКЛ): выключатель CANCEL выключен

      -
      SET/COAST Switch Сигнал переключателя SET/COAST / ON (ВКЛ) или OFF (ВЫКЛ)

      ON (ВКЛ): переключатель SET/COAST включен

      OFF (ВЫКЛ): переключатель SET/COAST выключен

      -
      RES/ACC Switch Сигнал переключателя RES/ACC / ON (ВКЛ) или OFF (ВЫКЛ)

      ON (ВКЛ): переключатель RES/АСС включен

      OFF (ВЫКЛ): переключатель RES/АСС выключен

      -
      OK
      Дисплей портативного диагностического прибора изменяется в зависимости от управления главным выключателем круиз-контроля.

    NG
    OK
  8. ПРОВЕРЬТЕ ГЛАВНЫЙ ВЫКЛЮЧАТЕЛЬ КРУИЗ-КОНТРОЛЯ В СБОРЕ

    A01J4WCE01

    1. Снимите главный выключатель круиз-контроля

    2. Измерьте сопротивление в соответствии со значениями, приведенными в таблице ниже.

      Номинальное сопротивление
      Подключение диагностического прибора Положение переключателя Заданные условия
      3 - 4 Нейтральное положение 10 кОм или более
      Нажат в положение RES / ACC 235 - 245 Ом
      Нажат в положение SET / COAST 617 - 643 Ом
      Нажат в положение CANCEL 1509 - 1571 Ом
      Главный выключатель нажимается в положение OFF (ВЫКЛ) 10 кОм или более
      Главный выключатель нажимается в положение ON (ВКЛ) Менее 1 Ом

    NG
    OK
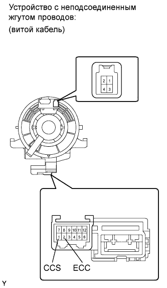
  9. ПРОВЕРЬТЕ ВИТОЙ КАБЕЛЬ В СБОРЕ

    A01J3OUE03

    1. Снимите витой кабель.

    2. Измерьте сопротивление в соответствии со значениями, приведенными в таблице ниже.

      Номинальное сопротивление
      Контакты для подключения диагностического прибора Условие Заданные условия
      3 - 1 (CCS) Всегда Менее 1 Ом
      4 - 2 (ECC) Всегда Менее 1 Ом

    NG
    OK
  10. ПРОВЕРЬТЕ ЖГУТ ПРОВОДОВ И РАЗЪЕМ (ВИТОЙ КАБЕЛЬ – ECM И МАССА)

    A01J7E9E01

    1. Отсоедините разъем S13 витого кабеля.

    2. Отсоедините разъем E13 ECM.

    3. Измерьте сопротивление в соответствии со значениями, приведенными в таблице ниже.

      Номинальное сопротивление
      Для моделей с 1GR-FE
      Контакты для подключения диагностического прибора Условие Заданные условия
      S13-1 (CCS) - E13-2 (CCS) Всегда Менее 1 Ом
      S13-2 (ECC) - масса Всегда Менее 1 Ом
      S13-1 (CCS) - масса Всегда 10 кОм или более

    NG
    OK