REAR AXLE BEAM INSTALLATION


  1. INSTALL REAR AXLE CARRIER BUSHING LH


    1. When reusing the rear axle beam assembly:


      1. A0042ORE02
        Text in Illustration
        *a Matchmark

        Align the arrow mark on a new rear axle carrier bushing LH with the matchmark on the rear axle beam assembly and temporarily install the rear axle carrier bushing LH to the rear axle beam assembly.

        Note

        Be sure to install the rear axle carrier bushing in the same direction as it was before removal.

        The rear axle carrier bushing has to be installed in a specific direction.

    2. When using a new rear axle beam assembly:


      1. A0041OVE02
        Text in Illustration
        *a Mark
        A00407B Upper Side of the Vehicle
        A00438M Front of the Vehicle

        Temporarily install the new rear axle carrier bushing LH as shown in the illustration.

        Note

        Be sure to install the rear axle carrier bushing in the same direction as it was before removal.

        The rear axle carrier bushing has to be installed in a specific direction.

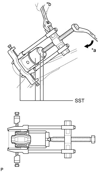
    3. A0043UME08
      Text in Illustration
      *a Turn
      *b Hold

      Using SST, install the rear axle carrier bushing LH to the rear axle beam assembly.

      SST
      09710-30012   ( 09710-04101 )
      09950-40011   ( 09951-04020, 09952-04010, 09953-04030, 09954-04020, 09955-04051, 09957-04010, 09958-04011 )
      09950-60010   ( 09951-00620 )

      Note


      • Do not damage the rubber portion when installing the rear axle carrier bushing.

      • Apply grease to the threads and tip of the SST center bolt before use.

  2. INSTALL REAR AXLE CARRIER BUSHING RH

    Tech Tips

    Perform the same procedure as for the LH side.

  3. TEMPORARILY TIGHTEN REAR AXLE BEAM ASSEMBLY


    1. Slowly jack up the rear axle beam assembly with an engine lifter using 2 wooden blocks and 2 attachments or equivalent tools and temporarily install the rear axle beam assembly to the body with the 2 bolts (B).

      A00415AE01
      Text in Illustration
      *1 Engine Lifter *2 Wooden Block
      *3 Attachment - -

      Note

      Make sure to secure the rear axle beam assembly to prevent it from dropping.

    2. Temporarily tighten the rear axle beam assembly to the rear shock absorber assemblies LH and RH with the 2 bolts (A) and 2 nuts.

      Note

      Since the stopper nuts are used, turn the bolts.

      Tech Tips

      Insert the bolts with the threaded end facing the outside of the vehicle.

  4. INSTALL REAR UPPER COIL SPRING INSULATOR LH


    1. A0042MYE06
      Text in Illustration
      *a 10 mm or less

      Install the rear upper coil spring insulator LH to the rear coil spring LH.

      Note

      Install the rear upper coil spring insulator so that the dimension between the stopper and the upper end of the rear coil spring is 10 mm (0.394 in.) or less.

  5. INSTALL REAR UPPER COIL SPRING INSULATOR RH

    Tech Tips

    Perform the same procedure as for the LH side.

  6. INSTALL REAR LOWER COIL SPRING INSULATOR LH

  7. INSTALL REAR LOWER COIL SPRING INSULATOR RH

  8. INSTALL REAR COIL SPRING LH


    1. Support the spring seat of the rear axle beam assembly using 2 jacks and 2 wooden blocks.

      A0040HFE01
      Text in Illustration
      *1 Jack *2 Wooden Block
    2. Remove the 2 bolts while holding the 2 nuts and separate the rear axle beam assembly from the rear shock absorber assemblies LH and RH.

      Note

      Since the stopper nuts are used, turn the bolts.

    3. Slowly lower the rear axle beam assembly using 2 jacks and 2 wooden blocks.

    4. A004092E04
      Text in Illustration
      *a Identification Mark
      *b 30° or less

      Set the rear coil spring LH to the rear axle beam assembly.

      Note

      Set the rear coil spring so that the identification marks are positioned as shown in the illustration.

    5. Slowly jack up the rear axle beam assembly using 2 jacks and 2 wooden blocks and temporarily install the rear axle beam assembly and rear coil spring LH with the 2 bolts and 2 nuts.

      A0040VOE01
      Text in Illustration
      *1 Jack *2 Wooden Block

      Note

      Since the stopper nuts are used, turn the bolts.

      Tech Tips

      Insert the bolt with the threaded end facing the outside of the vehicle.

  9. INSTALL REAR COIL SPRING RH

    Tech Tips

    Perform the same procedure as for the LH side.

  10. INSTALL REAR HEIGHT CONTROL SENSOR SUB-ASSEMBLY (w/ Height Control Sensor)


    1. Install the rear height control sensor sub-assembly to the rear axle beam assembly with the bolt.

      Torque:
      8.0 N*m  { 82 kgf*cm, 71 in.*lbf }
  11. INSTALL REAR AXLE HUB AND BEARING ASSEMBLY LH


    1. Install the rear axle hub and bearing assembly and rear disc brake dust cover to the rear axle beam assembly with the 4 bolts.

      Torque:
      90 N*m  { 918 kgf*cm, 66 ft.*lbf }
  12. INSTALL REAR AXLE HUB AND BEARING ASSEMBLY RH

    Tech Tips

    Perform the same procedure as for the LH side.

  13. INSTALL REAR NO. 4 BRAKE TUBE


    1. Install the rear No. 4 brake tube to the rear axle beam assembly with the nut.

      Torque:
      8.5 N*m  { 87 kgf*cm, 75 in.*lbf }
  14. INSTALL REAR NO. 3 BRAKE TUBE

    Tech Tips

    Perform the same procedure as for the rear No. 4 brake tube.

  15. CONNECT REAR BRAKE TUBE FLEXIBLE HOSE


    1. for LH Side

      A0040IHE05
      Text in Illustration
      *A LH Side *B RH Side

      1. Install the rear brake tube flexible hose with the bolt.

        Torque:
        19 N*m  { 194 kgf*cm, 14 ft.*lbf }
    2. for RH Side


      1. Install the rear brake tube flexible hose with a new clip.

        Note

        Install the clip as far as it will go.

    3. Using a union nut wrench, connect the 2 brake lines to the rear brake tube flexible hose.

      Torque:
      15 N*m  { 155 kgf*cm, 11 ft.*lbf }

      Note


      • Do not bend or damage the brake line.

      • Do not allow any foreign matter such as dirt and dust to enter the brake line from the connecting points.

      • Use the formula to calculate special torque values for situations where the union nut wrench is combined with a torque wrench Click here.

  16. INSTALL REAR DISC (for LH Side)


    1. A0043NIE06
      Text in Illustration
      *a Matchmark

      Align the matchmarks of the disc and axle hub, and install the disc.

      Note

      When replacing the disc with a new one, select the installation position where the rear disc has minimal runout.

  17. INSTALL REAR DISC (for RH Side)

    Tech Tips

    Perform the same procedure as for the LH side.

  18. INSTALL REAR DISC BRAKE CALIPER ASSEMBLY LH


    1. Install the rear disc brake caliper assembly LH with rear flexible hose LH with the 2 bolts.

      Torque:
      57 N*m  { 585 kgf*cm, 42 ft.*lbf }
    2. A0043IB

      Connect the rear flexible hose LH to the rear axle beam assembly with a new clip.

      Note

      Install the clip as far as it will go.

    3. A0041VF

      Using a union nut wrench, connect the brake line to the rear flexible hose LH while holding the rear flexible hose LH with a wrench.

      Torque:
      15 N*m  { 155 kgf*cm, 11 ft.*lbf }

      Note


      • Do not bend or damage the brake line.

      • Do not allow any foreign matter such as dirt and dust to enter the brake line from the connecting points.

      • Use the formula to calculate special torque values for situations where the union nut wrench is combined with a torque wrench Click here.

  19. INSTALL REAR DISC BRAKE CALIPER ASSEMBLY RH

    Tech Tips

    Perform the same procedure as for the LH side.

  20. INSTALL NO. 3 PARKING BRAKE CABLE ASSEMBLY


    1. Install the No. 3 parking brake cable assembly to the rear axle beam assembly with the bolt.

      Torque:
      6.0 N*m  { 61 kgf*cm, 53 in.*lbf }
  21. INSTALL NO. 2 PARKING BRAKE CABLE ASSEMBLY

    Tech Tips

    Perform the same procedure as for the No. 3 parking brake cable assembly.

  22. CONNECT NO. 3 PARKING BRAKE CABLE ASSEMBLY


    1. A00424NE03
      Text in Illustration
      *1 No. 3 Parking Brake Cable Assembly
      *2 Clip

      Install the No. 3 parking brake cable assembly to the rear disc brake cylinder assembly.

      Tech Tips

      Be sure to engage the No. 3 parking brake cable assembly clip onto the rear disc brake cylinder assembly as shown in the illustration.

    2. A0041YXE02

      Connect the No. 3 parking brake cable assembly to the rear disc brake cylinder assembly.

  23. CONNECT NO. 2 PARKING BRAKE CABLE ASSEMBLY

    Tech Tips

    Perform the same procedure as for the LH side.

  24. INSTALL SKID CONTROL SENSOR WIRE LH


    1. Install the skid control sensor wire LH to the rear axle beam assembly with the nut and 2 clamps.

      Torque:
      8.5 N*m  { 87 kgf*cm, 75 in.*lbf }

      Note

      Do not twist the skid control sensor wire LH when installing it.

  25. INSTALL SKID CONTROL SENSOR WIRE RH

    Tech Tips

    Perform the same procedure as for the LH side.

  26. CONNECT SKID CONTROL SENSOR WIRE LH


    1. Connect the skid control sensor wire connector to the rear speed sensor.

  27. CONNECT SKID CONTROL SENSOR WIRE RH

    Tech Tips

    Perform the same procedure as for the LH side.

  28. INSTALL REAR SUSPENSION BRACE SUB-ASSEMBLY


    1. Install the rear suspension brace sub-assembly with the 4 bolts.

      Torque:
      54 N*m  { 551 kgf*cm, 40 ft.*lbf }
  29. INSTALL REAR FLOOR SIDE MEMBER COVER LH


    1. Install the rear floor side member cover LH with the nut and 2 bolts.

  30. INSTALL REAR FLOOR SIDE MEMBER COVER RH


    1. Engage the clip to temporarily install the rear floor side member cover RH.

    2. Install the rear floor side member cover RH with the 3 bolts.

  31. ADJUST PARKING BRAKE

    Click here

  32. INSTALL LOWER INSTRUMENT PANEL FINISH PANEL ASSEMBLY (for LHD)


    1. Connect each connector.

    2. Engage the clamp.

    3. Engage the 2 guides and claw to connect the hood lock control cable.

    4. A00412T

      Engage the 6 claws and clip.

    5. Install the lower instrument panel finish panel assembly with the screw <C>.

  33. INSTALL COWL SIDE TRIM BOARD LH (for LHD)


    1. Engage the 2 clips.

    2. Install the cowl side trim board LH with the clip.

  34. INSTALL FRONT DOOR SCUFF PLATE LH (for LHD)


    1. Engage the 10 claws to install the front door scuff plate LH.

  35. INSTALL NO. 1 INSTRUMENT PANEL UNDER COVER SUB-ASSEMBLY (for RHD)


    1. Connect each connector.

    2. Engage the guide and 2 claws.

    3. Install the No. 1 instrument panel under cover sub-assembly with the screw <D>.

  36. FILL RESERVOIR WITH BRAKE FLUID

  37. CONNECT CABLE TO NEGATIVE AUXILIARY BATTERY TERMINAL


    1. Connect the cable to the negative (-) auxiliary battery terminal Click here.

  38. BLEED BRAKE LINE


    1. A003ZZU

      Disengage the 3 claws and 3 guides, and remove the center cowl top ventilator cover.

    2. Bleed brake line.


      1. A0043HU

        Remove the brake master cylinder reservoir filler cap assembly.

      2. Add brake fluid into the reservoir between MAX and MIN level on the brake fluid reservoir.

        Brake fluid
        SAE J1703 or FMVSS No. 116 DOT3
      3. Connect the GTS to the DLC3 and turn the power switch on (IG).

      4. Turn the GTS on and enter the following menus: Chassis / ABS/VSC/TRC / Air Bleeding.

      5. Select "Usual air bleeding" on the GTS display, and bleed air from the brake fluid following the instructions on the GTS.

      6. After air bleeding, tighten each bleeder plug.

        Torque:
        front bleeder plug
        8.3 N*m  { 85 kgf*cm, 73 in.*lbf }
        rear bleeder plug
        11 N*m  { 112 kgf*cm, 8 ft.*lbf }
      7. Clear the DTCs Click here.

      8. Turn the GTS off and turn the power switch off.

    3. Inspect for brake fluid leaks.

    4. Install the brake master cylinder reservoir filler cap.

    5. Engage the 3 claws and 3 guides to install the center cowl top ventilator cover.

  39. INSTALL REAR WHEELS

    Torque:
    103 N*m  { 1050 kgf*cm, 76 ft.*lbf }
  40. STABILIZE SUSPENSION


    1. Lower the vehicle.

    2. Bounce the vehicle up and down several times to stabilize the suspension.

  41. FULLY TIGHTEN REAR AXLE BEAM ASSEMBLY


    1. Fully tighten the rear axle beam assembly with the 2 bolts.

      Torque:
      135 N*m  { 1377 kgf*cm, 100 ft.*lbf }

      Note

      The final torque must be applied under the standard vehicle height conditions.

    2. A0043S3E03
      Text in Illustration
      *A LH Side
      *B RH Side

      Fully tighten the rear shock absorber assemblies LH and RH with the 2 bolts.

      Torque:
      90 N*m  { 918 kgf*cm, 66 ft.*lbf }

      Note

      Since the stopper nut are used, turn the bolts.

  42. INSTALL REAR WHEEL HOUSE LINER LH


    1. Install the rear wheel house liner LH with the clip.

  43. INSTALL REAR WHEEL HOUSE LINER RH

    Tech Tips

    Perform the same procedure as for the LH side.

  44. INSPECT REAR WHEEL ALIGNMENT

    Click here

  45. PLACE FRONT WHEELS FACING STRAIGHT AHEAD

  46. PERFORM YAW RATE AND ACCELERATION SENSOR CALIBRATION

    Click here

  47. CHECK FOR SPEED SENSOR SIGNAL

    Click here

  48. INITIALIZE HEIGHT CONTROL SENSOR SIGNAL

    Click here

  49. ADJUST HEADLIGHT AIMING

    Click here