REAR AXLE BEAM REMOVAL

Note

When the brake pedal is first depressed after replacing the brake pads or pushing back the disc brake piston, DTC C1214 may be output. As there is no malfunction, clear the DTC.


  1. PRECAUTION

    Note

    After turning the power switch off, waiting time may be required before disconnecting the cable from the negative (-) auxiliary battery terminal. Therefore, make sure to read the disconnecting the cable from the negative (-) auxiliary battery terminal notices before proceeding with work Click here.

  2. DISABLE BRAKE CONTROL


    1. Wait at least 2 minutes after the power switch off.

      Note

      When the brake pedal is depressed or the door courtesy switch is turned on even if the power switch is off, the brake control system activates. Therefore do not depress the brake pedal or open/close the doors until the reservoir level switch connector is disconnected.

    2. A00449B

      Disconnect the reservoir level switch connector with the parking brake applied.

    3. Disconnect the cable from the negative (-) auxiliary battery terminal Click here.

    4. Depress the brake pedal 40 times or more to return all the fluid in the accumulator back to the reservoir.

    5. Check that the brake pedal cannot be further depressed.

    6. Release the parking brake.

  3. REMOVE REAR WHEELS

  4. REMOVE FRONT DOOR SCUFF PLATE LH (for LHD)


    1. A0042VN

      Disengage the 10 claws and remove the front door scuff plate LH.

  5. REMOVE COWL SIDE TRIM BOARD LH (for LHD)


    1. A0042AR

      Remove the clip.

    2. Disengage the 2 clips and remove the cowl side trim board LH.

  6. REMOVE LOWER INSTRUMENT PANEL FINISH PANEL ASSEMBLY (for LHD)


    1. A0041MT

      Remove the screw <C>.

    2. A00438O

      Disengage the 6 claws and clip as shown in the illustration.

    3. A00436H

      Disengage the claw and 2 guides and disconnect the hood lock control cable.

    4. Disconnect each connector and clamp, and remove the lower instrument panel finish panel assembly.

  7. REMOVE NO. 1 INSTRUMENT PANEL UNDER COVER SUB-ASSEMBLY (for RHD)


    1. A0042XI

      Remove the screw <D>.

    2. Disengage the 2 claws and guide.

    3. Disconnect each connector and remove the No. 1 instrument panel under cover sub-assembly.

  8. LOOSEN PARKING BRAKE CABLE


    1. Completely release the parking brake pedal.

    2. A0040PUE01
      Text in Illustration
      *1 Lock Nut
      *2 Adjusting Nut

      Loosen the lock nut and adjusting nut to completely release the parking brake cable.

  9. DRAIN BRAKE FLUID

    Note

    If brake fluid leaks onto any painted surface, immediately wash it off.

  10. REMOVE REAR FLOOR SIDE MEMBER COVER LH


    1. A00434K

      Remove the nut, 2 bolts and rear floor side member cover LH.

  11. REMOVE REAR FLOOR SIDE MEMBER COVER RH


    1. A0040WN

      Remove the 3 bolts.

    2. Disengage the clip and remove the rear floor side member cover RH.

  12. REMOVE REAR SUSPENSION BRACE SUB-ASSEMBLY


    1. Remove the 4 bolts and the rear suspension brace sub-assembly.

      A00406J
  13. DISCONNECT SKID CONTROL SENSOR WIRE LH


    1. A0043UC

      Using a screwdriver, disconnect the skid control sensor wire connector from the rear speed sensor.

      Note

      Be careful not to damage the rear speed sensor.

  14. DISCONNECT SKID CONTROL SENSOR WIRE RH

    Tech Tips

    Perform the same procedure as for the LH side.

  15. SEPARATE SKID CONTROL SENSOR WIRE LH


    1. A0043M3

      Remove the nut and separate the 2 clamps and skid control sensor wire LH.

  16. SEPARATE SKID CONTROL SENSOR WIRE RH

    Tech Tips

    Perform the same procedure as for the LH side.

  17. DISCONNECT NO. 3 PARKING BRAKE CABLE ASSEMBLY


    1. A0041YXE01

      Separate the No. 3 parking brake cable assembly from the rear disc brake cylinder assembly.

    2. A0042KXE03
      Text in Illustration
      *1 No. 3 Parking Brake Cable Assembly
      *2 Clip
      *3 Offset Wrench (14 mm)

      Separate the No. 3 parking brake cable assembly from the rear disc brake cylinder assembly.

      Tech Tips

      Insert an offset wrench (14 mm) at the base of the No. 3 parking brake cable assembly as shown in the illustration to disengage the clip. Pull out the No. 3 parking brake cable assembly from the rear disc brake cylinder assembly.

  18. DISCONNECT NO. 2 PARKING BRAKE CABLE ASSEMBLY

    Tech Tips

    Perform the same procedure as for the No. 3 parking brake cable assembly.

  19. SEPARATE NO. 3 PARKING BRAKE CABLE ASSEMBLY


    1. A0043GB

      Remove the bolt and separate the No. 3 parking brake cable assembly.

  20. SEPARATE NO. 2 PARKING BRAKE CABLE ASSEMBLY

    Tech Tips

    Perform the same procedure as for the No. 3 parking brake cable assembly.

  21. SEPARATE REAR BRAKE TUBE FLEXIBLE HOSE


    1. Using a union nut wrench, disconnect the 2 brake lines while holding the rear brake tube flexible hose with a wrench.

      A0040IHE04
      Text in Illustration
      *A LH Side *B RH Side

      Note


      • Do not bend or damage the brake line.

      • Do not allow any foreign matter such as dirt or dust to enter the brake line from the connecting points.

    2. for LH Side


      1. Remove the bolt and separate the rear brake tube flexible hose from the rear axle beam assembly.

    3. for RH Side


      1. Remove the clip and separate the rear brake tube flexible hose from the rear axle beam assembly.

  22. REMOVE REAR DISC BRAKE CALIPER ASSEMBLY LH


    1. A0041VF

      Using a union nut wrench, disconnect the brake line while holding the rear flexible hose LH with a wrench.

      Note


      • Do not bend or damage the brake line.

      • Do not allow any foreign matter such as dirt or dust to enter the brake line from the connecting points.

    2. A0040SE

      Remove the clip and separate the rear flexible hose LH.

    3. A0041VZ

      Remove the 2 bolts and rear disc brake caliper assembly LH with rear flexible hose LH.

  23. REMOVE REAR DISC BRAKE CALIPER ASSEMBLY RH

    Tech Tips

    Perform the same procedure as for the LH side.

  24. REMOVE REAR DISC (for LH Side)


    1. A0043NIE06
      Text in Illustration
      *a Matchmark

      Remove the rear disc.

      Tech Tips

      Place matchmarks on the disc and axle hub.

  25. REMOVE REAR DISC (for RH Side)

    Tech Tips

    Perform the same procedure as for the LH side.

  26. REMOVE REAR NO. 4 BRAKE TUBE


    1. A0040HJ

      Remove the nut and rear No. 4 brake tube from the rear axle beam assembly.

  27. REMOVE REAR NO. 3 BRAKE TUBE

    Tech Tips

    Perform the same procedure as for the rear No. 4 brake tube.

  28. REMOVE REAR AXLE HUB AND BEARING ASSEMBLY LH


    1. A004162

      Remove the 4 bolts, rear axle hub and bearing assembly and rear disc brake dust cover from the rear axle beam assembly.

  29. REMOVE REAR AXLE HUB AND BEARING ASSEMBLY RH

    Tech Tips

    Perform the same procedure as for the LH side.

  30. SEPARATE REAR WHEEL HOUSE LINER LH


    1. A0043XZ

      Remove the clip and turn back the rear wheel house liner LH to separate the rear wheel house liner LH.

  31. SEPARATE REAR WHEEL HOUSE LINER RH

    Tech Tips

    Perform the same procedure as for the LH side.

  32. SEPARATE REAR HEIGHT CONTROL SENSOR SUB-ASSEMBLY (w/ Height Control Sensor)


    1. A0043LB

      Remove the bolt and separate the rear height control sensor sub-assembly from the rear axle beam assembly.

    2. A004093E02
      Text in Illustration
      *1 Vinyl Tape

      Using a vinyl tape, secure the rear height control sensor sub-assembly as shown in the illustration.

  33. REMOVE REAR COIL SPRING LH


    1. A00444KE03
      Text in Illustration
      *A LH Side
      *B RH Side

      Loosen the 2 bolts.

      Note

      Do not remove the bolts.

    2. Support the spring seat of the rear axle beam assembly using 2 jacks and 2 wooden blocks.

      A0040VOE01
      Text in Illustration
      *1 Jack *2 Wooden Block

      CAUTION:

      Do not jack up the rear axle beam assembly too high as the vehicle may fall.

      Tech Tips

      Support the rear shock absorber at a position where it compresses by approximately 20 to 30 mm (0.787 to 1.18 in.).

    3. Remove the 2 bolts while holding the 2 nuts and separate the rear axle beam assembly from the rear shock absorber assemblies LH and RH.

      Note

      Since the stopper nuts are used, turn the bolts.

    4. A00433K

      Slowly lower the rear axle beam assembly using 2 jacks and 2 wooden blocks, and remove the rear coil spring LH.

      Note

      When moving the rear axle beam assembly beyond full rebound, make sure that the rear axle beam assembly is not out of position for more than 10 minutes.

    5. Slowly jack up the rear axle beam assembly using 2 jacks and 2 wooden blocks, and temporarily tighten the rear axle beam assembly to the rear shock absorber assemblies LH and RH with the 2 bolts and 2 nuts.

      A0040HFE01
      Text in Illustration
      *1 Jack *2 Wooden Block

      Note

      Since the stopper nuts are used, turn the bolts.

  34. REMOVE REAR COIL SPRING RH

    Tech Tips

    Perform the same procedure as for the LH side.

  35. REMOVE REAR UPPER COIL SPRING INSULATOR LH

  36. REMOVE REAR UPPER COIL SPRING INSULATOR RH

  37. REMOVE REAR LOWER COIL SPRING INSULATOR LH

  38. REMOVE REAR LOWER COIL SPRING INSULATOR RH

  39. REMOVE REAR AXLE BEAM ASSEMBLY


    1. Support the rear axle beam assembly with an engine lifter using 2 wooden blocks and 2 attachments or equivalent tools to replicate standard vehicle height conditions as shown in the illustration.

      A00415AE01
      Text in Illustration
      *1 Engine Lifter *2 Wooden Block
      *3 Attachment - -

      Note

      Make sure to secure the rear axle beam assembly to prevent it from dropping.

    2. Remove the 2 bolts (A) and 2 nuts while holding the 2 nuts and separate the rear axle beam assembly from the rear shock absorber assemblies LH and RH.

      Note

      Since the stopper nuts are used, turn the bolts.

    3. Remove the 2 bolts (B) and rear axle beam assembly.

  40. REMOVE REAR AXLE CARRIER BUSHING LH


    1. When reusing the rear axle beam assembly:


      1. A0042ORE02
        Text in Illustration
        *a Matchmark

        Put a matchmark on the rear axle beam assembly so that the mark aligns with the arrow mark on the rear axle carrier bushing LH.

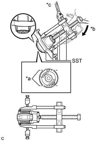
    2. A00427QE02
      Text in Illustration
      *a Bend Portion
      *b Turn
      *c Hold

      Using a chisel and hammer, bend the 2 ribs on the rear axle carrier bushing LH.

      Note

      When removing the rear axle carrier bushing, do not erase the matchmark on the rear axle beam assembly.

    3. Using SST, remove the rear axle carrier bushing LH from the rear axle beam assembly.

      SST
      09710-26011   ( 09710-05061 )
      09950-40011   ( 09951-04020, 09952-04010, 09953-04030, 09954-04020, 09955-04051, 09957-04010, 09958-04011 )
      09950-60010   ( 09951-00530 )

      Note

      Apply grease to the threads and tip of the SST center bolt before use.

  41. REMOVE REAR AXLE CARRIER BUSHING RH

    Tech Tips

    Perform the same procedure as for the LH side.