FRONT SHOCK ABSORBER DISPOSAL


  1. DISPOSE OF FRONT SHOCK ABSORBER ASSEMBLY


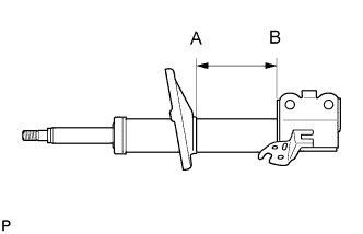
    1. A0043AWE01

      Position the front shock absorber assembly level with the piston rod fully extended. Using a drill, make a hole in the cylinder between A and B shown in the illustration to discharge the gas inside.

      Note

      Always use proper safety equipment and be careful when drilling because shards of metal fly about.

      Tech Tips

      The gas is colorless, odorless and non-poisonous.