REAR NO. 1 SEAT ASSEMBLY (for LH Side) DISASSEMBLY

CAUTION:

Wear protective gloves. Sharp areas on the parts may injure your hands.


  1. REMOVE REAR SEAT HEADREST ASSEMBLY


    1. Remove the rear seat headrest assembly.

  2. REMOVE RECLINING ADJUSTER RELEASE HANDLE LH


    1. A01J4J7

      Remove the screw and reclining adjuster release handle LH.

  3. REMOVE REAR NO. 1 SEAT RECLINING COVER LH


    1. A01J57G

      Remove the screw.

    2. Pull the rear No. 1 seat reclining cover LH to detach the 3 claws.

      Text in Illustration
      A01J5O1 Pull
      A01J67K Pull Up
    3. Pull up the rear No. 1 seat reclining cover LH to detach the guide and remove the rear No. 1 seat reclining cover LH.

  4. REMOVE REAR NO. 1 SEAT RECLINING COVER RH


    1. A01J6HZE01
      Text in Illustration
      *1 Guide A
      *2 Guide B
      A01J5O1 Pull
      A01J67K Pull Up

      Remove the screw.

    2. Pull the rear No. 1 seat reclining cover RH to detach the claw and guide B.

    3. Pull up the rear No. 1 seat reclining cover RH to detach guide A and remove the rear No. 1 seat reclining cover RH.

  5. REMOVE REAR NO. 1 SEAT INNER BELT ASSEMBLY LH

    A01J6A9E01

    1. Remove the bolt and seat belt.

  6. REMOVE REAR NO. 1 SEATBACK ASSEMBLY

    A01J54L

    1. Remove the 4 bolts and rear No. 1 seatback assembly.

  7. REMOVE REAR NO. 1 SEATBACK COVER


    1. Detach the 2 pieces of fastening tape and the hook.

      A01J5JSE01
      Text in Illustration
      *1 Fastening Tape *2 Hook
    2. Roll up the rear No. 1 seatback cover to detach the 2 hooks.

      A01J6RP
    3. A01J3OF

      Roll up the rear No. 1 seatback cover and remove the rear seatback board LH.

    4. A01J4FO

      Detach the 4 claws and remove the 2 rear seat headrest supports.

    5. A01J58T

      Remove the hog rings and rear No. 1 seatback cover from the rear No. 1 seatback pad LH.

  8. REMOVE REAR NO. 1 SEATBACK PAD LH

    Note

    As the rear No. 1 seatback pad LH is affixed to the rear No. 1 seatback frame, do not remove the rear No. 1 seatback pad LH from the rear No. 1 seatback frame unless it is necessary to replace the rear No. 1 seatback pad LH. If the rear No. 1 seatback pad LH is removed from the rear No. 1 seatback frame, make sure to replace the rear No. 1 seatback pad LH.


    1. A01J6YQ

      Remove the rear No. 1 seatback pad LH from the rear No. 1 seatback frame.

    2. If reusing the rear No. 1 seatback frame:

      Remove any remaining pad and adhesive from the rear No. 1 seatback frame.

  9. REMOVE RECLINING REMOTE CONTROL LEVER KNOB LH


    1. A01J4CT

      Remove the screw and reclining remote control lever knob LH from the rear seat lock assembly LH.

  10. REMOVE REAR NO. 1 SEAT LOCK COVER LH


    1. A01J4TT

      Remove the 7 screws and rear No. 1 seat lock cover LH.

    2. A01J5JC

      Detach the cable clamp and disconnect the rear seat lock control cable LH from the rear No. 1 seat lock cover LH.

  11. REMOVE REAR NO. 2 SEAT LOCK COVER LH


    1. A01J6LD

      Remove the 2 screws and rear No. 2 seat lock cover LH from the rear seat lock assembly RH.

  12. REMOVE REAR SEAT HINGE ASSEMBLY LH


    1. A01J3CX

      Remove the 2 nuts and rear seat hinge assembly LH from the outer seat track assembly LH.

  13. REMOVE REAR SEAT HINGE ASSEMBLY RH

    Tech Tips

    Use the same procedure described for the LH side.

  14. REMOVE REAR SEATBACK LOCK RELEASE BUTTON

    A01J7GXE01
    Text in Illustration
    *1 Protective Tape
    *2 Reclining Release Handle Sub-assembly

    1. Using 2 clip removers, remove the 2 rear seatback lock release buttons from the reclining release handle sub-assembly.

      Tech Tips


      • Tape the clip remover tips before use.

      • If a rear seatback lock release button is damaged, replace it with a new one.

  15. REMOVE RECLINING RELEASE HANDLE SUB-ASSEMBLY

    A01J3HM

    1. Disconnect the reclining release handle sub-assembly from the rear seat lock assembly LH as shown in the illustration.

    2. Pull the reclining release handle sub-assembly through the hole of the rear seat cushion under cover sub-assembly LH.

  16. REMOVE REAR SEAT CUSHION SUPPORT SPRING LH


    1. A01J3OL

      Using needle nose pliers, remove the rear seat cushion support spring LH.

  17. REMOVE REAR SEAT LOCK ASSEMBLY LH


    1. A01J49H

      Detach the cable clamp and disconnect the rear seat lock control cable LH from the outer seat track assembly LH.

    2. Using a T40 "TORX" socket wrench, remove the 2 "TORX" bolts and rear seat lock assembly LH from the outer seat track assembly LH.

    3. A01J3Z9

      Remove the E-ring and washer.

    4. A01J39C

      Disconnect the rear seat lock control cable LH from the rear seat lock assembly LH.

    5. A01J3EN

      Remove the washer.

  18. REMOVE REAR SEAT LOCK ASSEMBLY RH


    1. A01J3KZE01

      Detach the cable clamp.

    2. Twist the cable end in the direction indicated by the arrow and disconnect the rear seat lock control cable LH from the rear seat lock assembly RH.

      Text in Illustration
      *1 Cable End
    3. A01J69Q

      Using needle nose pliers, remove the rear seat cushion support spring RH.

    4. A01J4J2

      Using a T40 "TORX" socket wrench, remove the 2 "TORX" bolts, washer and rear seat lock assembly RH from the rear No. 1 seat track bracket.

  19. REMOVE REAR NO. 1 SEAT TRACK BRACKET


    1. A01J30S

      Using a T40 "TORX" socket wrench, remove the 2 "TORX" bolts and rear No. 1 seat track bracket from the inner seat track assembly LH.

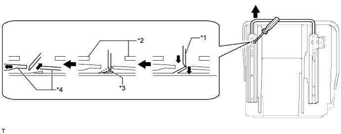
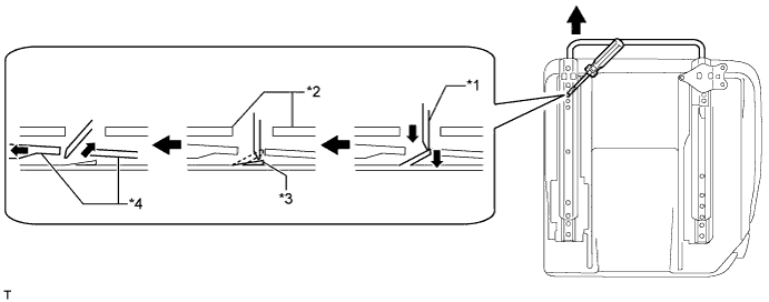
  20. REMOVE SEAT TRACK ADJUSTING HANDLE

    Tech Tips

    Perform this procedure when removing and reinstalling or replacing only the seat track adjusting handle.


    1. Operate the seat track adjusting handle and move the outer seat track assembly LH and inner seat track assembly LH to the position shown in the illustration.

      A01J4G4E01
      Text in Illustration
      *1 Seat Track Adjusting Handle Lock *2 Outer Seat Track Assembly LH
      *3 Inner Seat Track Assembly LH *4 Seat Track Adjusting Handle
    2. Insert a screwdriver into the outer seat track assembly LH and disengage the lock of the seat track adjusting handle. While maintaining that state, pull out the seat track adjusting handle to the position shown in the illustration, and then remove the screwdriver.

      Note

      Do not use excessive force to pull out the seat track adjusting handle.

      A01J67RE01
      Text in Illustration
      *1 Screwdriver *2 Outer Seat Track Assembly LH
      *3 Seat Track Adjusting Handle Lock *4 Seat Track Adjusting Handle
    3. Insert a screwdriver into the inner seat track assembly LH and disengage the lock of the seat track adjusting handle. While maintaining that state, pull out the seat track adjusting handle to the position shown in the illustration, and then remove the screwdriver.

      Note

      Do not use excessive force to pull out the seat track adjusting handle.

      A01J6DOE01
      Text in Illustration
      *1 Screwdriver *2 Inner Seat Track Assembly LH
      *3 Seat Track Adjusting Handle Lock *4 Seat Track Adjusting Handle
    4. A01J638

      Pull and remove the seat track adjusting handle from the outer seat track assembly LH and inner seat track assembly LH.

  21. REMOVE REAR SEAT TRACK ASSEMBLY LH


    1. A01J6N9

      Operate the seat track adjusting handle and move the outer seat track assembly LH and inner seat track assembly LH to the foremost position.

    2. Using a T40 "TORX" socket wrench, remove the 4 "TORX" bolts.

    3. Operate the seat track adjusting handle and move the outer seat track assembly LH and inner seat track assembly LH to the position shown in the illustration.

      A01J75ZE01
      Text in Illustration
      *1 Seat Track Adjusting Handle Lock *2 Outer Seat Track Assembly LH
      *3 Inner Seat Track Assembly LH *4 Seat Track Adjusting Handle
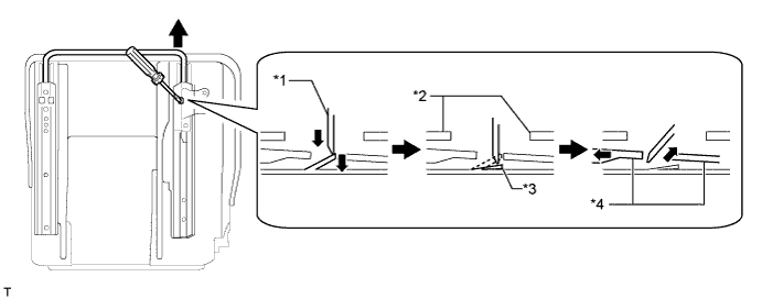
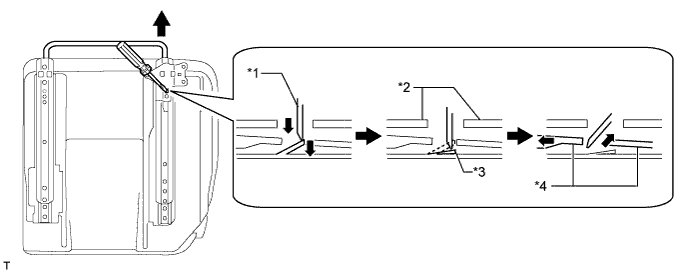
    4. Insert a screwdriver into the outer seat track assembly LH and disengage the lock of the seat track adjusting handle. While maintaining that state, pull out the seat track adjusting handle to the position shown in the illustration, and then remove the screwdriver.

      Note

      Do not use excessive force to pull out the seat track adjusting handle.

      A01J4HZE01
      Text in Illustration
      *1 Screwdriver *2 Outer Seat Track Assembly LH
      *3 Seat Track Adjusting Handle Lock *4 Seat Track Adjusting Handle
    5. Insert a screwdriver into the inner seat track assembly LH and disengage the lock of the seat track adjusting handle. While maintaining that state, pull out the seat track adjusting handle to the position shown in the illustration, and then remove the screwdriver.

      Note

      Do not use excessive force to pull out the seat track adjusting handle.

      A01J46CE01
      Text in Illustration
      *1 Screwdriver *2 Inner Seat Track Assembly LH
      *3 Seat Track Adjusting Handle Lock *4 Seat Track Adjusting Handle
    6. A01J6Z6

      Pull and remove the seat track adjusting handle from the outer seat track assembly LH and inner seat track assembly LH.

    7. A01J38J

      Using a T40 "TORX" socket wrench, remove the "TORX" bolt and outer seat track assembly LH.

    8. A01J6T9

      Using a T40 "TORX" socket wrench, remove the "TORX" bolt and inner seat track assembly LH.

  22. REMOVE REAR SEAT CUSHION UNDER COVER SUB-ASSEMBLY LH


    1. A01J2ZX

      Detach the hooks.

    2. A01J3IJ

      Remove the 5 screws.

    3. Detach the 2 guides and remove the rear seat cushion under cover sub-assembly LH.

  23. REMOVE REAR NO. 1 SEAT CUSHION COVER

    A01J6LKE01
    Text in Illustration
    *1 No. 1 Fold Seat Stopper Band Assembly

    1. Pull out the No. 1 fold seat stopper band assembly from the rear No. 1 seat cushion cover.

    2. Remove the hog rings and rear No. 1 seat cushion cover from the rear No. 1 seat cushion pad LH.

  24. REMOVE REAR NO. 1 SEAT CUSHION PAD LH

    A01J3WD

    1. Remove the rear No. 1 seat cushion pad LH from the rear No. 1 seat cushion frame sub-assembly.

  25. REMOVE NO. 1 FOLD SEAT STOPPER BAND ASSEMBLY

    A01J35M

    1. Untie the No. 1 fold seat stopper band assembly from the No. 1 seat cushion frame sub-assembly LH as shown in the illustration and remove the No. 1 fold seat stopper band assembly.