REAR NO. 1 SEAT ASSEMBLY (for RH Side) REASSEMBLY

CAUTION:

Wear protective gloves. Sharp areas on the parts may injure your hands.

Tech Tips

A bolt without a torque specification is shown in the standard bolt chart Click here.


  1. INSTALL NO. 1 FOLD SEAT STOPPER BAND ASSEMBLY


    1. A01J40N

      Tie the No. 1 fold seat stopper band assembly to the rear No. 1 seat cushion frame sub-assembly as shown in the illustration to install the No. 1 fold seat stopper band assembly.

  2. INSTALL REAR SEAT LAP TYPE BELT ASSEMBLY LH

    A01J4X0E02

    1. Install the seat belt LH with the bolt.

      Torque:
      42 N*m  { 428 kgf*cm, 31 ft.*lbf }

      Note

      Do not overlap the anchor part of the seat belt and protruding parts of the seat.

  3. INSTALL REAR CENTER SEAT LAP TYPE BELT ASSEMBLY

    A01J4XJE02

    1. Install the seat belt center with the bolt.

      Torque:
      42 N*m  { 428 kgf*cm, 31 ft.*lbf }

      Note

      Do not overlap the anchor part of the seat belt and protruding parts of the seat.

  4. INSTALL REAR NO. 1 SEAT CUSHION PAD RH

    A01J51A

    1. Pass the rear seat lap type belt assembly RH and rear center seat lap type belt assembly through the hole of the rear No. 1 seat cushion pad to the surface.

    2. Install the rear No. 1 seat cushion pad RH to the rear No. 1 seat cushion frame sub-assembly.

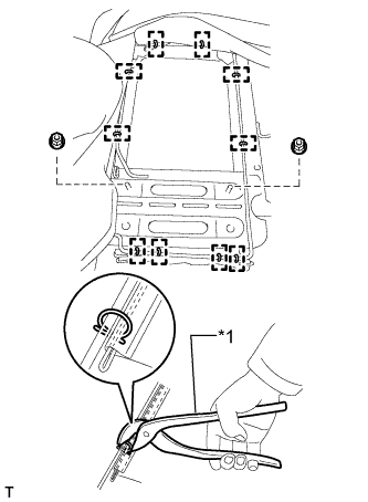
  5. INSTALL REAR NO. 1 SEAT CUSHION COVER

    A01J6UZE01
    Text in Illustration
    *1 No. 1 Fold Seat Stopper Band Assembly
    *2 Hog Ring Pliers

    1. Using hog ring pliers, install the rear No. 1 seat cushion cover to the rear No. 1 seat cushion pad RH with new hog rings.

      Note


      • Be careful not to damage the cover.

      • When installing the hog rings, avoid wrinkling the cover.

    2. Pass the rear seat lap type belt assembly RH and rear center seat lap type belt assembly through the hole of the rear No. 1 seat cushion cover to the surface.

    3. Insert the No. 1 fold seat stopper band assembly to the rear No. 1 seat cushion cover.

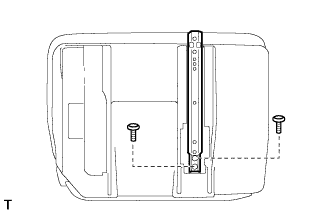
  6. INSTALL REAR SEAT CUSHION UNDER COVER SUB-ASSEMBLY RH


    1. Attach the 2 guides.

    2. Install the rear seat cushion under cover sub-assembly RH with the 4 screws.

    3. Attach the hooks.

  7. INSTALL REAR SEAT TRACK ASSEMBLY RH


    1. A01J41A

      Apply MP grease to the locations shown in the illustration.

      Text in Illustration
      A01J5O1 MP Grease
    2. A01J4YL

      Apply MP grease to the locations shown in the illustration.

      Text in Illustration
      A01J5O1 MP Grease
    3. A01J61P

      Apply MP grease to the locations shown in the illustration.

      Text in Illustration
      A01J5O1 MP Grease
    4. If reusing the outer seat track assembly RH and inner seat track assembly RH:


      1. A01J6CZ

        Using a T40 "TORX" socket wrench, temporarily install the front side of the outer seat track assembly RH with the "TORX" bolt.

      2. A01J6IJ

        Using a T40 "TORX" socket wrench, temporarily install the front side of the inner seat track assembly RH with the "TORX" bolt.

      3. Insert the seat track adjusting handle into the outer seat track assembly RH and inner seat track assembly RH and engage the 2 seat track adjusting handle locks to install the seat track adjusting handle.

        Note

        Make sure the handle is straight when installing it, and check that it is centered.

        A01J3J2E01
        Text in Illustration
        *1 Inner Seat Track Assembly RH *2 Seat Track Adjusting Handle Lock
        *3 Seat Track Adjusting Handle *4 Outer Seat Track Assembly RH
      4. A01J7JA

        Operate the seat track adjusting handle and move the outer seat track assembly RH and inner seat track assembly RH to the foremost position.

      5. Using a T40 "TORX" socket wrench, install the rear side of the outer seat track assembly RH and inner seat track assembly RH with the 4 "TORX" bolts.

        Torque:
        40 N*m  { 408 kgf*cm, 30 ft.*lbf }
      6. Operate the seat track adjusting handle and move the outer seat track assembly RH and inner seat track assembly RH to the position shown in the illustration.

        A01J45TE01
        Text in Illustration
        *1 Seat Track Adjusting Handle Lock *2 Inner Seat Track Assembly RH
        *3 Outer Seat Track Assembly RH *4 Seat Track Adjusting Handle
      7. Insert a screwdriver into the outer seat track assembly RH and disengage the lock of the seat track adjusting handle. While maintaining that state, pull out the seat track adjusting handle to the position shown in the illustration, and then remove the screwdriver.

        Note

        Do not use excessive force to pull out the seat track adjusting handle.

        A01J4UZE01
        Text in Illustration
        *1 Screwdriver *2 Outer Seat Track Assembly RH
        *3 Seat Track Adjusting Handle Lock *4 Seat Track Adjusting Handle
      8. Insert a screwdriver into the inner seat track assembly RH and disengage the lock of the seat track adjusting handle. While maintaining that state, pull out the seat track adjusting handle to the position shown in the illustration, and then remove the screwdriver.

        Note

        Do not use excessive force to pull out the seat track adjusting handle.

        A01J34TE01
        Text in Illustration
        *1 Screwdriver *2 Inner Seat Track Assembly RH
        *3 Seat Track Adjusting Handle Lock *4 Seat Track Adjusting Handle
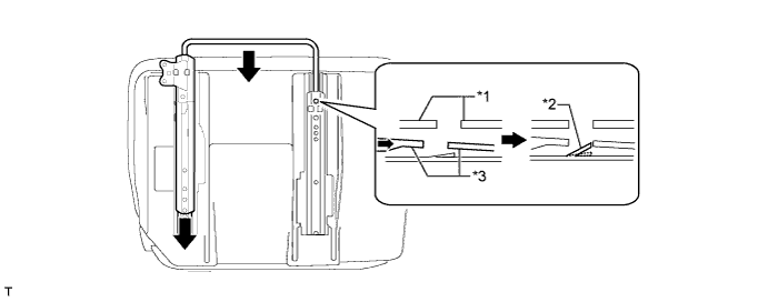
      9. A01J693

        Pull and remove the seat track adjusting handle from the outer seat track assembly RH and inner seat track assembly RH.

      10. A01J396

        Using a T40 "TORX" socket wrench, tighten the 2 "TORX" bolts on the front side of the outer seat track assembly RH and inner seat track assembly RH.

        Torque:
        40 N*m  { 408 kgf*cm, 30 ft.*lbf }
      11. Insert the seat track adjusting handle into the outer seat track assembly RH and inner seat track assembly RH and engage the 2 seat track adjusting handle locks to install the seat track adjusting handle.

        Note

        Make sure the handle is straight when installing it, and check that it is centered.

        A01J3J2E01
        Text in Illustration
        *1 Inner Seat Track Assembly RH *2 Seat Track Adjusting Handle Lock
        *3 Seat Track Adjusting Handle *4 Outer Seat Track Assembly RH
    5. If replacing the outer seat track assembly RH with a new one but reusing the inner seat track assembly RH:


      1. A01J5S6

        Using a T40 "TORX" socket wrench, temporarily install the rear side of a new outer seat track assembly RH with the 2 "TORX" bolts.

      2. A01J6IJ

        Using a T40 "TORX" socket wrench, temporarily install the front side of the inner seat track assembly RH with the "TORX" bolt.

      3. Insert the seat track adjusting handle into the outer seat track assembly RH and engage the seat track adjusting handle lock to install the seat track adjusting handle.

        Note

        Make sure the handle is straight when installing it, and check that it is centered.

        A01J4WRE01
        Text in Illustration
        *1 Outer Seat Track Assembly RH *2 Seat Track Adjusting Handle Lock
        *3 Seat Track Adjusting Handle - -
      4. Operate the seat track adjusting handle and, while moving the outer seat track assembly RH toward the rearmost position, insert the handle into the inner seat track assembly RH and engage the lock of the seat track adjusting handle to install the handle.

        Note

        Make sure the handle is straight when installing it, and check that it is centered.

        A01J7I8E01
        Text in Illustration
        *1 Inner Seat Track Assembly RH *2 Seat Track Adjusting Handle Lock
        *3 Seat Track Adjusting Handle - -
      5. A01J3KC

        Operate the seat track adjusting handle and move the outer seat track assembly RH and inner seat track assembly RH to the foremost position.

      6. Using a T40 "TORX" socket wrench, install the rear side of the inner seat track assembly RH with the 2 "TORX" bolts.

        Torque:
        40 N*m  { 408 kgf*cm, 30 ft.*lbf }
      7. Operate the seat track adjusting handle and move the outer seat track assembly RH and inner seat track assembly RH to the position shown in the illustration.

        A01J45TE01
        Text in Illustration
        *1 Seat Track Adjusting Handle Lock *2 Inner Seat Track Assembly RH
        *3 Outer Seat Track Assembly RH *4 Seat Track Adjusting Handle
      8. Insert a screwdriver into the outer seat track assembly RH and disengage the lock of the seat track adjusting handle. While maintaining that state, pull out the seat track adjusting handle to the position shown in the illustration, and then remove the screwdriver.

        Note

        Do not use excessive force to pull out the seat track adjusting handle.

        A01J4UZE01
        Text in Illustration
        *1 Screwdriver *2 Outer Seat Track Assembly RH
        *3 Seat Track Adjusting Handle Lock *4 Seat Track Adjusting Handle
      9. Insert a screwdriver into the inner seat track assembly RH and disengage the lock of the seat track adjusting handle. While maintaining that state, pull out the seat track adjusting handle to the position shown in the illustration, and then remove the screwdriver.

        Note

        Do not use excessive force to pull out the seat track adjusting handle.

        A01J34TE01
        Text in Illustration
        *1 Screwdriver *2 Inner Seat Track Assembly RH
        *3 Seat Track Adjusting Handle Lock *4 Seat Track Adjusting Handle
      10. A01J693

        Pull and remove the seat track adjusting handle from the outer seat track assembly RH and inner seat track assembly RH.

      11. A01J3L2

        Using a T40 "TORX" socket wrench, install the front side of the outer seat track assembly RH with the "TORX" bolt.

        Torque:
        40 N*m  { 408 kgf*cm, 30 ft.*lbf }
      12. A01J4ZI

        Using a T40 "TORX" socket wrench, tighten the "TORX" bolt on the front side of the inner seat track assembly RH.

        Torque:
        40 N*m  { 408 kgf*cm, 30 ft.*lbf }
      13. Insert the seat track adjusting handle into the outer seat track assembly RH and inner seat track assembly RH and engage the 2 seat track adjusting handle locks and install the seat track adjusting handle.

        Note

        Make sure the handle is straight when installing it, and check that it is centered.

        A01J3J2E01
        Text in Illustration
        *1 Inner Seat Track Assembly RH *2 Seat Track Adjusting Handle Lock
        *3 Seat Track Adjusting Handle *4 Outer Seat Track Assembly RH
      14. A01J6KZ

        Operate the seat track adjusting handle and move the outer seat track assembly RH and inner seat track assembly RH to the foremost position.

      15. Using a T40 "TORX" socket wrench, tighten the 2 "TORX" bolts on the rear side of the outer seat track assembly RH.

        Torque:
        40 N*m  { 408 kgf*cm, 30 ft.*lbf }
    6. If replacing the inner seat track assembly RH with a new one but reusing the outer seat track assembly RH:


      1. A01J4NS

        Using a T40 "TORX" socket wrench, temporarily install the rear side of a new inner seat track assembly RH with the 2 "TORX" bolts.

      2. A01J6CZ

        Using a T40 "TORX" socket wrench, temporarily install the front side of the outer seat track assembly RH with the "TORX" bolt.

      3. Insert the seat track adjusting handle into the inner seat track assembly RH and engage the seat track adjusting handle lock to install the seat track adjusting handle.

        Note

        Make sure the handle is straight when installing it, and check that it is centered.

        A01J3BDE01
        Text in Illustration
        *1 Inner Seat Track Assembly RH *2 Seat Track Adjusting Handle Lock
        *3 Seat Track Adjusting Handle - -
      4. Operate the seat track adjusting handle and, while moving the inner seat track assembly RH toward the rearmost position, insert the handle into the outer seat track assembly RH and engage the lock of the seat track adjusting handle to install the handle.

        Note

        Make sure the handle is straight when installing it, and check that it is centered.

        A01J414E01
        Text in Illustration
        *1 Outer Seat Track Assembly RH *2 Seat Track Adjusting Handle Lock
        *3 Seat Track Adjusting Handle - -
      5. A01J72P

        Operate the seat track adjusting handle and move the outer seat track assembly RH and inner seat track assembly RH to the foremost position.

      6. Using a T40 "TORX" socket wrench, install the rear side of the outer seat track assembly RH with the 2 "TORX" bolts.

        Torque:
        40 N*m  { 408 kgf*cm, 30 ft.*lbf }
      7. Operate the seat track adjusting handle and move the outer seat track assembly RH and inner seat track assembly RH to the position shown in the illustration.

        A01J45TE01
        Text in Illustration
        *1 Seat Track Adjusting Handle Lock *2 Inner Seat Track Assembly RH
        *3 Outer Seat Track Assembly RH *4 Seat Track Adjusting Handle
      8. Insert a screwdriver into the outer seat track assembly RH and disengage the lock of the seat track adjusting handle. While maintaining that state, pull out the seat track adjusting handle to the position shown in the illustration, and then remove the screwdriver.

        Note

        Do not use excessive force to pull out the seat track adjusting handle.

        A01J4UZE01
        Text in Illustration
        *1 Screwdriver *2 Outer Seat Track Assembly RH
        *3 Seat Track Adjusting Handle Lock *4 Seat Track Adjusting Handle
      9. Insert a screwdriver into the inner seat track assembly RH and disengage the lock of the seat track adjusting handle. While maintaining that state, pull out the seat track adjusting handle to the position shown in the illustration, and then remove the screwdriver.

        Note

        Do not use excessive force to pull out the seat track adjusting handle.

        A01J34TE01
        Text in Illustration
        *1 Screwdriver *2 Inner Seat Track Assembly RH
        *3 Seat Track Adjusting Handle Lock *4 Seat Track Adjusting Handle
      10. A01J693

        Pull and remove the seat track adjusting handle from the outer seat track assembly RH and inner seat track assembly RH.

      11. A01J6PQ

        Using a T40 "TORX" socket wrench, install the front side of the inner seat track assembly RH with the "TORX" bolt.

        Torque:
        40 N*m  { 408 kgf*cm, 30 ft.*lbf }
      12. A01J5C5

        Using a T40 "TORX" socket wrench, tighten the "TORX" bolt on the front side of the outer seat track assembly RH.

        Torque:
        40 N*m  { 408 kgf*cm, 30 ft.*lbf }
      13. Insert the seat track adjusting handle into the outer seat track assembly RH and inner seat track assembly RH and engage the 2 seat track adjusting handle locks to install the seat track adjusting handle.

        Note

        Make sure the handle is straight when installing it, and check that it is centered.

        A01J3J2E01
        Text in Illustration
        *1 Inner Seat Track Assembly RH *2 Seat Track Adjusting Handle Lock
        *3 Seat Track Adjusting Handle *4 Outer Seat Track Assembly RH
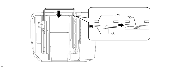
      14. A01J7LK

        Operate the seat track adjusting handle and move the outer seat track assembly RH and inner seat track assembly RH to the foremost position.

      15. Using a T40 "TORX" socket wrench, tighten the 2 "TORX" bolts on the rear side of the inner seat track assembly RH.

        Torque:
        40 N*m  { 408 kgf*cm, 30 ft.*lbf }
    7. If replacing both the outer seat track assembly RH and inner seat track assembly RH with new ones:


      1. A01J5S6

        Using a T40 "TORX" socket wrench, temporarily install the rear side of a new outer seat track assembly RH with the 2 "TORX" bolts.

      2. A01J4NS

        Using a T40 "TORX" socket wrench, temporarily install the rear side of a new inner seat track assembly RH with the 2 "TORX" bolts.

      3. Insert the seat track adjusting handle into the outer seat track assembly RH and inner seat track assembly RH and engage the 2 seat track adjusting handle locks to install the seat track adjusting handle.

        Note

        Make sure the handle is straight when installing it, and check that it is centered.

        A01J3EOE01
        Text in Illustration
        *1 Inner Seat Track Assembly RH *2 Seat Track Adjusting Handle Lock
        *3 Seat Track Adjusting Handle *4 Outer Seat Track Assembly RH
      4. Operate the seat track adjusting handle and move the outer seat track assembly RH and inner seat track assembly RH to the position shown in the illustration.

        A01J45TE01
        Text in Illustration
        *1 Seat Track Adjusting Handle Lock *2 Inner Seat Track Assembly RH
        *3 Outer Seat Track Assembly RH *4 Seat Track Adjusting Handle
      5. Insert a screwdriver into the outer seat track assembly RH and disengage the lock of the seat track adjusting handle. While maintaining that state, pull out the seat track adjusting handle to the position shown in the illustration, and then remove the screwdriver.

        Note

        Do not use excessive force to pull out the seat track adjusting handle.

        A01J4UZE01
        Text in Illustration
        *1 Screwdriver *2 Outer Seat Track Assembly RH
        *3 Seat Track Adjusting Handle Lock *4 Seat Track Adjusting Handle
      6. Insert a screwdriver into the inner seat track assembly RH and disengage the lock of the seat track adjusting handle. While maintaining that state, pull out the seat track adjusting handle to the position shown in the illustration, and then remove the screwdriver.

        Note

        Do not use excessive force to pull out the seat track adjusting handle.

        A01J34TE01
        Text in Illustration
        *1 Screwdriver *2 Inner Seat Track Assembly RH
        *3 Seat Track Adjusting Handle Lock *4 Seat Track Adjusting Handle
      7. A01J693

        Pull and remove the seat track adjusting handle from the outer seat track assembly RH and inner seat track assembly RH.

      8. A01J7J9

        Using a T40 "TORX" socket wrench, install the front side of the outer seat track assembly RH and inner seat track assembly RH with the 2 "TORX" bolts.

        Torque:
        40 N*m  { 408 kgf*cm, 30 ft.*lbf }
      9. Insert the seat track adjusting handle into the outer seat track assembly RH and inner seat track assembly RH and engage the 2 seat track adjusting handle locks to install the seat track adjusting handle.

        Note

        Make sure the handle is straight when installing it, and check that it is centered.

        A01J3J2E01
        Text in Illustration
        *1 Inner Seat Track Assembly RH *2 Seat Track Adjusting Handle Lock
        *3 Seat Track Adjusting Handle *4 Outer Seat Track Assembly RH
      10. A01J5EV

        Operate the seat track adjusting handle and move the outer seat track assembly RH and inner seat track assembly RH to the foremost position.

      11. Using a T40 "TORX" socket wrench, tighten the 4 "TORX" bolts on the rear side of the outer seat track assembly RH and inner seat track assembly RH.

        Torque:
        40 N*m  { 408 kgf*cm, 30 ft.*lbf }
  8. INSTALL SEAT TRACK ADJUSTING HANDLE

    Tech Tips

    Perform this procedure when removing and reinstalling or replacing only the seat track adjusting handle.


    1. A01J61P

      Apply MP grease to the locations shown in the illustration.

      Text in Illustration
      A01J5O1 MP Grease
    2. Push the seat track adjusting handle into the outer seat track assembly RH and inner seat track assembly RH and engage the 2 seat track adjusting handle locks to install the seat track adjusting handle.

      Note

      Make sure the handle is straight when installing it, and check that it is centered.

      A01J3EOE01
      Text in Illustration
      *1 Inner Seat Track Assembly RH *2 Seat Track Adjusting Handle Lock
      *3 Seat Track Adjusting Handle *4 Outer Seat Track Assembly RH
  9. INSTALL REAR SEAT LOCK ASSEMBLY RH


    1. A01J5IF

      Install the washer.

    2. A01J4O9

      Connect the rear seat lock control cable RH to the rear seat lock assembly RH.

    3. A01J6H1

      Install the washer and new E-ring.

    4. A01J5ZO

      Using a T40 "TORX" socket wrench, install the rear seat lock assembly RH to the outer seat track assembly RH with the 2 "TORX" bolts.

      Torque:
      40 N*m  { 408 kgf*cm, 30 ft.*lbf }
    5. Attach the cable clamp to connect the rear seat lock control cable RH to the outer seat track assembly RH.

  10. INSTALL REAR SEAT CUSHION SUPPORT SPRING RH


    1. Using needle nose pliers, install the rear seat cushion support spring RH.

  11. INSTALL REAR NO. 1 SEAT TRACK BRACKET


    1. Using a T40 "TORX" socket wrench, install the rear No. 1 seat track bracket to the inner seat track assembly RH with the 2 "TORX" bolts.

      Torque:
      40 N*m  { 408 kgf*cm, 30 ft.*lbf }
  12. INSTALL REAR SEAT LOCK ASSEMBLY LH


    1. Using a T40 "TORX" socket wrench, install the rear seat lock assembly LH to the rear No. 1 seat track bracket with the 2 "TORX" bolts and washer.

      Torque:
      40 N*m  { 408 kgf*cm, 30 ft.*lbf }
    2. Using needle nose pliers, install the rear seat cushion support spring LH.

    3. A01J6R1E01
      Text in Illustration
      *1 Cable End

      Insert the cable end and install it in the direction indicated by the arrow to connect the rear seat lock control cable RH to the rear seat lock assembly LH.

    4. Attach the cable clamp.

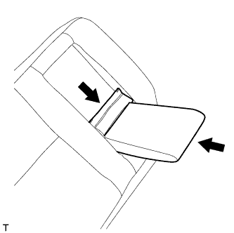
  13. INSTALL RECLINING RELEASE HANDLE SUB-ASSEMBLY


    1. A01J68R

      Pass the reclining release handle sub-assembly through the hole of the rear seat cushion under cover sub-assembly RH.

    2. Connect the reclining release handle sub-assembly to the rear seat lock assembly RH as shown in the illustration.

  14. INSTALL REAR SEATBACK LOCK RELEASE BUTTON


    1. Install the 2 rear seatback lock release buttons to the reclining release handle sub-assembly.

  15. INSTALL REAR SEAT HINGE ASSEMBLY LH


    1. Install the rear seat hinge assembly LH to the inner seat track assembly RH with the 2 nuts.

      Torque:
      42 N*m  { 428 kgf*cm, 31 ft.*lbf }
  16. INSTALL REAR SEAT HINGE ASSEMBLY RH

    Tech Tips

    Use the same procedure described for the LH side.

  17. INSTALL REAR NO. 2 SEAT LOCK COVER RH


    1. Install the rear No. 2 seat lock cover RH to the rear seat lock assembly LH with the 2 screws.

  18. INSTALL REAR NO. 1 SEAT LOCK COVER RH


    1. Attach the cable clamp to connect the rear seat lock control cable RH.

    2. Install the rear No. 1 seat lock cover RH with the 7 screws.

  19. INSTALL RECLINING REMOTE CONTROL LEVER KNOB RH


    1. A01J4SA

      Install the reclining remote control lever knob to the rear seat lock assembly RH with the screw.

  20. INSTALL REAR SEAT ARMREST BUSH LH


    1. Install the rear seat armrest bush LH to the rear seat armrest arm LH.

  21. INSTALL REAR SEAT ARMREST ARM LH


    1. Install the rear seat armrest arm LH to the rear seat armrest with the bolt.

  22. INSTALL REAR SEAT ARMREST BUSH RH

    Tech Tips

    Use the same procedure described for the LH side.

  23. INSTALL REAR SEAT ARMREST ARM RH

    Tech Tips

    Use the same procedure described for the LH side.

  24. INSTALL REAR NO. 1 SEATBACK PAD RH

    A01J5MM

    1. Install a new rear No. 1 seatback pad RH to the rear No. 1 seatback frame.

  25. INSTALL REAR NO. 1 SEATBACK COVER

    A01J3Y7E01

    1. Using hog ring pliers, install the rear No. 1 seatback cover to the No. 1 seatback pad RH with new hog rings.

      Text in Illustration
      *1 Hog Ring Pliers

      Note


      • Be careful not to damage the cover.

      • When installing the hog rings, avoid wrinkling the cover.

    2. A01J4IX

      Attach the 4 claws to install the 2 rear seat headrest supports.

    3. Attach the 2 hooks.

      A01J31U
    4. A01J73W

      Temporarily install the rear seat armrest assembly RH to the rear No. 1 seatback frame assembly, and then slide the rear No. 1 seatback cover behind the rear of the rear seat armrest assembly RH.

    5. A01J32PE01
      Text in Illustration
      *1 Hog Ring Pliers

      Using hog ring pliers, install the rear No. 1 seatback cover to the rear No. 1 seatback frame assembly with new hog rings.

    6. Install the 2 nuts.

    7. Install the rear seatback board RH.

    8. Close the fastener.

    9. Attach the hook and 2 pieces of fastening tape.

  26. INSTALL REAR NO. 1 SEATBACK ASSEMBLY


    1. Install the rear No. 1 seatback assembly with the 4 bolts.

      Torque:
      50 N*m  { 510 kgf*cm, 37 ft.*lbf }
  27. INSTALL REAR NO. 1 SEAT INNER BELT ASSEMBLY RH

    A01J3SIE02

    1. Install the seat belt with the bolt.

      Torque:
      42 N*m  { 428 kgf*cm, 31 ft.*lbf }

      Note

      Do not overlap the anchor part of the seat belt and protruding parts of the seat.

  28. INSTALL REAR NO. 1 SEAT RECLINING COVER RH


    1. A01J4BK

      Attach the guide and 3 claws to install the rear No. 1 reclining cover RH.

    2. Install the screw.

  29. INSTALL RECLINING ADJUSTER RELEASE HANDLE RH


    1. A01J456

      Install the reclining adjuster release handle RH with the screw.

  30. INSTALL REAR NO. 1 SEAT RECLINING COVER LH


    1. A01J63L

      Attach the 2 guides and claw to install the rear No. 1 seat reclining cover LH.

    2. Install the screw.

  31. INSTALL REAR SEAT HEADREST ASSEMBLY


    1. Install the rear seat headrest assembly.