WASHER MOTOR INSTALLATION


  1. INSTALL REAR WASHER MOTOR AND PUMP ASSEMBLY

    A01J3C9

    1. Install the rear washer motor and pump to the packing of the washer jar.

  2. INSTALL WINDSHIELD WASHER MOTOR AND PUMP ASSEMBLY


    1. A01J6EV

      Install the windshield washer motor and pump to the packing of the washer jar.

  3. INSTALL WINDSHIELD WASHER JAR ASSEMBLY

    A01J5OP

    1. Install the windshield washer jar and pump with the 3 bolts. Then attach the 3 clamps.

      Torque:
      5.5 N*m  { 56 kgf*cm, 49 in.*lbf }
    2. Connect the 2 connector and 2 washer hoses.

    3. Install the grommet.

  4. FILL UP WASHER JAR AND PUMP ASSEMBLY WITH WASHER FLUID


    1. Fill the washer jar with washer fluid.

  5. INSTALL FRONT BUMPER COVER


    1. w/ Headlight Cleaner System:

      Connect the headlight cleaner hose.

    2. w/ Fog Light:

      Connect the 2 fog light connectors.

    3. Attach the 8 claws to install the front bumper cover.

    4. Install the 5 clips, 2 bolts and 2 screws.

    5. Install the 3 clips and 6 screws.

  6. INSTALL FRONT BUMPER HOLE COVER RH (w/o Fog Light)

    Tech Tips

    Use the same procedure described for the LH side.

  7. INSTALL FRONT BUMPER HOLE COVER LH (w/o Fog Light)


    1. Attach the 8 claws to install the front bumper hole cover.

  8. INSTALL FOG LIGHT COVER RH (w/ Fog Light)

    Tech Tips

    Use the same procedure described for the LH side.

  9. INSTALL FOG LIGHT COVER LH (w/ Fog Light)


    1. Attach the 8 claws to install the fog light cover.

  10. INSTALL RADIATOR GRILLE


    1. Attach the 6 claws to install the radiator grille.

    2. Install the 2 screws and 2 clips.

  11. INSTALL WASHER INLET SUB-ASSEMBLY


    1. A01J6OV

      Install the washer inlet of the washer jar and pump to the windshield washer jar and pump.

    2. A01J489

      Install the washer inlet of the washer jar and pump with the clip.

  12. CONNECT CABLE TO NEGATIVE BATTERY TERMINAL

    Note

    When disconnecting the cable, some systems need to be initialized after the cable is reconnected Click here.

  13. VEHICLE PREPARE FOR FOG LIGHT AIM ADJUSTMENT


    1. Prepare the vehicle:


      • Make sure that there is no damage or deformation of the body around the fog lights.

      • Fill the fuel tank.

      • Make sure that the oil is filled to the specified level.

      • Make sure that the coolant is filled to the specified level.

      • Inflate the tires to the appropriate pressure.

      • Unload the trunk and vehicle, making sure that the spare tire, tools and jack are in their original positions.

      • Have a person of average weight (75 kg, 165 lb) sit in the driver seat.

  14. PREPARE FOR FOG LIGHT AIMING


    1. A01J5LAE01
      Text in Illustration
      *a 25 m or 3 m

      Prepare the vehicle:


      • Place the vehicle in a location that is dark enough to clearly observe the cutoff line. The cutoff line is a distinct line, below which light from the fog lights can be observed and above which it cannot.

      • Place the vehicle at a 90° angle to the wall.

      • Create a 25 m (82.0 ft.) distance between the vehicle (fog light bulb center) and the wall.

      • Make sure that the vehicle is on a level surface.

      • Bounce the vehicle up and down to settle the suspension.

        Note

        A distance of 25 m (82.0 ft.) between the vehicle and the wall is necessary for proper aim adjustment. If unavailable, secure a distance of exactly 3 m (9.84 ft.). View the part of the illustration below applicable to the distance from the vehicle to the wall.

    2. Prepare a piece of thick white paper that is approximately 2 m (6.56 ft.) (height) x 4 m (13.1 ft.) (width) to use as a screen.

    3. Draw a vertical line down the center of the screen (V line).

    4. Set the screen as shown in the illustration.

      A01J5MUE02

      Tech Tips


      • Stand the screen perpendicular to the ground.

      • Align the V line on the screen with the center of the vehicle.

    5. A01J5W2E04
      Text in Illustration
      *a V LH Line
      *b V Line
      *c V RH Line
      *d H Line
      *e Ground

      Draw base lines (H line, V LH and V RH lines) on the screen as shown in the illustration.

      Tech Tips

      Mark the fog light bulb center marks on the screen. If the center mark cannot be observed on the fog light, use the center of the fog light bulb or the manufacturer's name marked on the fog light as the center mark.


      1. H Line (fog light height):

        Draw a horizontal line across the screen so that it passes through the center marks. The H line should be at the same height as the fog light bulb center marks of the fog lights.

      2. V LH Line, V RH Line (center mark position of LH and RH fog lights): Draw two vertical lines so that they intersect the H line at each center mark.

  15. INSPECT FOG LIGHT AIMING


    1. Choose a headlight to inspect first. Cover or disconnect the connector of the other fog light to prevent light from that fog light from affecting the fog light aiming inspection.

      Note

      Do not keep the fog light covered for more than 3 minutes. The fog light lens is made of synthetic resin, which may melt or be damaged due to excessive heat.

    2. Start the engine.

    3. Turn on the fog lights and make sure that the cutoff line is within the specified area shown in the illustration.

      A01J5UXE21

      Tech Tips


      • If the alignment distance is 25 m (82 ft.):

        The upper edge of the hot zone for the fog light should be 501 mm (19.7 in.) below the H line.

      • If the alignment distance is 3 m (9.84 ft.):

        The upper edge of the hot zone for the fog light should be 60 mm (2.36 in.) below the H line.

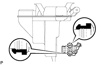
  16. ADJUST FOG LIGHT AIMING


    1. A01J67CE01
      Text in Illustration
      *1 Aiming Screw

      Adjust the fog light aim so that it is within the specified range by turning the aiming screw with a screwdriver.

      Adjust the aim of each fog light to the specified range by turning the aiming screw with a screwdriver.

      Note

      The final turn of the aiming screw should be made in the clockwise direction. If the screw is tightened excessively, loosen it, and then retighten it so that the final turn of the screw is in the clockwise direction.

      Tech Tips

      If it is not possible to correctly adjust fog light aim, check the bulb, fog light unit and fog light unit reflector installation.