REAR WIPER MOTOR INSPECTION


  1. INSPECT REAR WIPER MOTOR ASSEMBLY


    1. A01J31HE01

      Check the wiper operation.


      1. Connect the battery's positive (+) lead to terminal 1 (+) and the negative (-) lead to terminal 2 (-1), and check that the motor operates.

        OK
        Motor operates.
        If the result is not as specified, replace the rear wiper motor assembly.
    2. Check the automatic stop operation.


      1. Connect the battery's positive (+) lead to terminal 1 (+) and the negative (-) lead to terminal 2 (-1). With the motor rotating, disconnect terminal 1 (+) to stop the wiper motor operation at the automatic stop position.

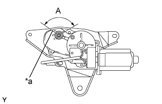
      2. A01J784E04
        Text in Illustration
        *a Automatic Stop Position

        Check that the motor stops automatically at the automatic stop position.

        Area Specified Condition
        A 112° to 118°
        OK
        Refer to illustration.
        If the result is not as specified, replace the rear wiper motor assembly.