CRUISE CONTROL SYSTEM Cruise Control Switch Circuit

DESCRIPTION

This circuit sends signals to the ECM depending on the cruise control main switch condition. The battery supplies positive (+) battery voltage to the cruise control main switch. Then terminal CCS of the ECM receives the voltage according to the switch condition.

WIRING DIAGRAM

A01J3NYE03
A01J7P1E05

INSPECTION PROCEDURE

PROCEDURE


  1. CHECK VEHICLE CONTROL SYSTEM


    1. Check vehicle system.

      Result
      Result Proceed to
      w/ Multi-display A
      w/o Multi-display B

    B
    A
  2. READ VALUE USING INTELLIGENT TESTER (CRUISE CONTROL MAIN SWITCH)


    1. A01J7JTE02

      Using the intelligent tester, read the Data List.

      Cruise Control
      Tester Display Measurement Item / Range Normal Condition Diagnostic Note
      CCS Main SW M-CPU Cruise control main switch signal (Main CPU) / ON or OFF

      ON: Cruise control main switch (Main CPU) on

      OFF: Cruise control main switch (Main CPU) off

      -
      Cancel Switch CANCEL switch signal / ON or OFF

      ON: CANCEL switch on

      OFF: CANCEL switch off

      -
      SET/COAST Switch -SET switch signal / ON or OFF

      ON: -SET switch on

      OFF: -SET switch off

      -
      RES/ACC Switch +RES switch signal / ON or OFF

      ON: +RES switch on

      OFF: +RES switch off

      -
      OK
      The intelligent tester display changes according to operation of cruise control main switch.

    NG
    OK
  3. INSPECT CRUISE CONTROL MAIN SWITCH ASSEMBLY

    A01J44QE03

    1. Remove the cruise control main switch.

    2. Measure the resistance according to the value(s) in the table below.

      Standard Resistance
      Tester Connection Switch Condition Specified Condition
      1 - 3 Neutral 10 kΩ or higher
      Pushed to +RES 235 to 245 Ω
      Pushed to -SET 617 to 643 Ω
      Pushed to CANCEL 1509 to 1571 Ω
      Main switch pushed off 10 kΩ or higher
      Main switch pushed on Below 1 Ω

    NG
    OK
  4. INSPECT CRUISE CONTROL SWITCH WIRE

    A01J7KEE06

    1. Remove the cruise control switch wire.

    2. Measure the resistance according to the value(s) in the table below.

      Standard Resistance
      Tester Connection Condition Specified Condition
      A-3 - B-3 Always Below 1 Ω
      A-4 - B-1

    NG
    OK
  5. INSPECT SPIRAL CABLE SUB-ASSEMBLY

    A01J42XE04

    1. Remove the spiral cable.

    2. Measure the resistance according to the value(s) in the table below.

      Standard Resistance
      Tester Connection Condition Specified Condition
      A-3 - 1 (CCS) Always Below 1 Ω
      A-4 - 2 (ECC) Always Below 1 Ω

    NG
    OK
  6. CHECK HARNESS AND CONNECTOR (SPIRAL CABLE - ECM AND BODY GROUND)

    A01J7E9E01

    1. Disconnect the S13 spiral cable connector.

    2. Disconnect the E13 ECM connector.

    3. Measure the resistance according to the value(s) in the table below.

      Standard Resistance
      for 1GR-FE
      Tester Connection Condition Specified Condition
      S13-1 (CCS) - E13-2 (CCS) Always Below 1 Ω
      S13-2 (ECC) - Body ground Always Below 1 Ω
      S13-1 (CCS) - Body ground Always 10 kΩ or higher

    NG
    OK
  7. READ VALUE USING INTELLIGENT TESTER (CRUISE CONTROL MAIN SWITCH)


    1. A01J3Q3E02

      Using the intelligent tester, read the Data List.

      Cruise Control
      Tester Display Measurement Item / Range Normal Condition Diagnostic Note
      CCS Main SW M-CPU Cruise control main switch signal (Main CPU) / ON or OFF

      ON: Cruise control main switch (Main CPU) on

      OFF: Cruise control main switch (Main CPU) off

      -
      Cancel Switch CANCEL switch signal / ON or OFF

      ON: CANCEL switch on

      OFF: CANCEL switch off

      -
      SET/COAST Switch SET / COAST switch signal / ON or OFF

      ON: SET / COAST switch on

      OFF: SET / COAST switch off

      -
      RES/ACC Switch RES / ACC switch signal / ON or OFF

      ON: RES / ACC switch on

      OFF: RES / ACC switch off

      -
      OK
      The intelligent tester display changes according to operation of cruise control main switch.

    NG
    OK
  8. INSPECT CRUISE CONTROL MAIN SWITCH ASSEMBLY

    A01J4WCE01

    1. Remove the cruise control main switch.

    2. Measure the resistance according to the value(s) in the table below.

      Standard Resistance
      Tester Connection Switch Condition Specified Condition
      3 - 4 Neutral 10 kΩ or higher
      Pushed to RES / ACC 235 to 245 Ω
      Pushed to SET / COAST 617 to 643 Ω
      Pushed to CANCEL 1509 to 1571 Ω
      Main switch pushed off 10 kΩ or higher
      Main switch pushed on Below 1 Ω

    NG
    OK
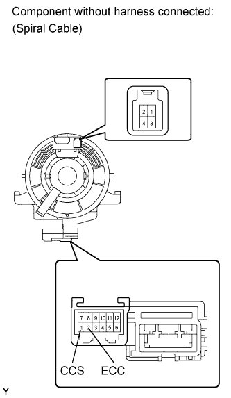
  9. INSPECT SPIRAL CABLE SUB-ASSEMBLY

    A01J3OUE03

    1. Remove the spiral cable.

    2. Measure the resistance according to the value(s) in the table below.

      Standard Resistance
      Tester Connection Condition Specified Condition
      3 - 1 (CCS) Always Below 1 Ω
      4 - 2 (ECC) Always Below 1 Ω

    NG
    OK
  10. CHECK HARNESS AND CONNECTOR (SPIRAL CABLE - ECM AND BODY GROUND)

    A01J7E9E01

    1. Disconnect the S13 spiral cable connector.

    2. Disconnect the E13 ECM connector.

    3. Measure the resistance according to the value(s) in the table below.

      Standard Resistance
      for 1GR-FE
      Tester Connection Condition Specified Condition
      S13-1 (CCS) - E13-2 (CCS) Always Below 1 Ω
      S13-2 (ECC) - Body ground Always Below 1 Ω
      S13-1 (CCS) - Body ground Always 10 kΩ or higher

    NG
    OK