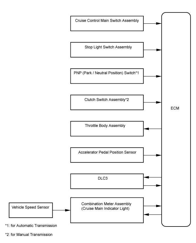
CRUISE CONTROL SYSTEM SYSTEM DIAGRAM

A01J3YFE02