FRONT AXLE HUB REMOVAL

Tech Tips


  • Use the same procedures for the RH side and LH side.

  • The procedures listed below are for the LH side.


  1. REMOVE FRONT WHEEL

  2. REMOVE FRONT SPEED SENSOR LH (w/ ABS)

    A01J31SE03

    1. Remove the bolt and speed sensor.

    2. Disconnect the 2 clamps.

    3. Remove the bolt and disconnect the speed sensor wire harness from the steering knuckle.

  3. REMOVE FRONT DISC BRAKE CALIPER ASSEMBLY LH

    A01J61TE01

    1. Remove the bolt and disconnect the brake tube bracket from the steering knuckle.

    2. A01J69JE01

      Using SST, disconnect the brake tube from the disc brake caliper.

      SST
      09023-00101
    3. A01J58BE01

      Remove the 2 bolts and disc brake caliper.

  4. REMOVE FRONT DISC

  5. REMOVE FRONT AXLE HUB GREASE CAP (for 4WD)

    A01J3KUE01

    1. Using a screwdriver and hammer, remove the grease cap.

      Note

      Do not damage the axle hub.

  6. REMOVE FRONT AXLE HUB NUT (for 4WD)

    A01J607E01

    1. Remove the cotter pin and lock cap.

    2. Remove the hub nut.

  7. REMOVE FRONT AXLE HUB ASSEMBLY

    A01J310E01

    1. Remove the 4 bolts, dust cover and axle hub from the steering knuckle.

    2. Remove the O-ring from the axle hub.

    3. w/ ABS:

      Remove the spacer and ABS rotor from the axle hub.

    4. w/o ABS:

      Remove the 2 spacers from the axle hub.

  8. REMOVE FRONT AXLE BEARING ASSEMBLY (for 4WD)

    A01J4UFE01

    1. Fix the front axle hub in a soft vise.

    2. Using SST, remove the bearing.

      SST
      09710-30021   ( 09710-03051 )
      09950-40011   ( 09951-04020, 09952-04010, 09953-04020, 09954-04010, 09955-04061, 09957-04010, 09958-04011 )
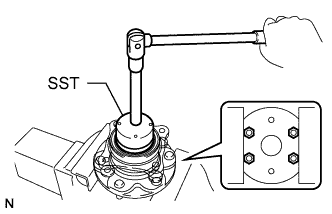
  9. REMOVE FRONT AXLE BEARING ASSEMBLY (for Pre-Runner)

    A01J36XE01

    1. Using SST and a hammer, unstake the adjusting nut.

      SST
      09930-00010
    2. A01J3BKE01

      Using SST, remove the adjusting nut.

      SST
      09607-26010
    3. w/o ABS:

      Remove the spacer from the axle hub.

    4. w/ ABS:

      Remove the sensor rotor from the axle hub.

    5. A01J4UFE01

      Fix the front axle hub in a soft vise.

    6. Using SST, remove the bearing.

      SST
      09710-30021   ( 09710-03051 )
      09950-40011   ( 09951-04020, 09952-04010, 09953-04020, 09954-04010, 09955-04061, 09957-04010, 09958-04011 )
  10. REMOVE FRONT AXLE HUB OIL SEAL

    A01J7APE01

    1. Using a screwdriver, pry out the oil seal.

  11. REMOVE PLUG